TOP
|
特許
|
意匠
|
商標
特許ウォッチ
Twitter
他の特許を見る
公開番号
2025139706
公報種別
公開特許公報(A)
公開日
2025-09-29
出願番号
2024038686
出願日
2024-03-13
発明の名称
表示装置
出願人
クロイ電機株式会社
代理人
個人
,
個人
,
個人
主分類
F21S
9/02 20060101AFI20250919BHJP(照明)
要約
【課題】自装置の状態を表す光を外側から視認可能としつつ小型化を図ることができる表示装置を提供する。
【解決手段】表示装置は、扁平な形状を有し+Z方向側に表示パネル22が配設された表示ユニット20と、表示ユニット20の-Z方向側に対向配置され表示ユニット20に電力を供給する電源回路を構成する電子部品および自装置の状態に応じた態様で発光する発光部が実装された基板と、長尺であり長手方向における一端部が発光部に対向して配置されるとともに、他端部が表示ユニット20をZ軸方向から見たときの表示ユニット20の外周部に配置され、発光部から一端部に入射し他端部まで伝播した光を他端部から表示ユニット20の+Z方向側が臨む方向へ放射する導光ロッド141と、を備える。
【選択図】図3
特許請求の範囲
【請求項1】
扁平な形状を有し厚さ方向における一面側に表示パネルが配設された表示ユニットと、
前記表示ユニットの厚さ方向における他面側に対向配置され前記表示ユニットに電力を供給する電源回路を構成する電子部品と、自装置の状態に応じた態様で発光する発光部と、が実装された基板と、
長尺であり長手方向における一端部が前記発光部に対向して配置されるとともに、他端部が前記表示ユニットを厚さ方向から見たときの前記表示ユニットの外周部に配置され、前記発光部から前記一端部に入射し前記他端部まで伝播した光を前記他端部から前記表示ユニットの前記一面側が臨む方向へ放射する導光ロッドと、を備える、
表示装置。
続きを表示(約 280 文字)
【請求項2】
前記導光ロッドの前記他端部は、前記導光ロッドの延在方向と直交する断面の面積が前記導光ロッドの他端に向かうほど大きくなる形状を有する、
請求項1に記載の表示装置。
【請求項3】
前記導光ロッドの前記他端部の光放射面は、外側に向かって凸となるようなドーム状に湾曲した形状を有する、
請求項1または2に記載の表示装置。
【請求項4】
前記導光ロッドを、前記一端部から前記他端部に亘って弧状に湾曲した状態で支持するロッド支持ユニットを更に備える、
請求項1または2に記載の表示装置。
発明の詳細な説明
【技術分野】
【0001】
本発明は、表示装置に関する。
続きを表示(約 1,900 文字)
【背景技術】
【0002】
枠部およびこの枠部に設けられた貫通部を有する筐体と、筐体に収納される電源ユニットと、筐体の貫通部に取り付けられる点検ケースと、点検ケースに収納される点検基板と、を備え、点検基板に点灯、消灯、点滅等の表示形態により蓄電池、光源の正常、異常を含む状態を表示するモニタランプが実装された誘導灯が提案されている(例えば特許文献1参照)。
【先行技術文献】
【特許文献】
【0003】
特開2022-024248号公報
【発明の概要】
【発明が解決しようとする課題】
【0004】
しかしながら、特許文献1に記載された表示装置を床、廊下等に埋め込んで使用する場合、モニタランプが視認できるようにモニタランプが実装された点検基板を収容する点検ケースを筐体と並べて配置する必要があるため、その分、表示装置全体の面積が増加してしまう。
【0005】
本発明は上記事由に鑑みてなされたものであり、自装置の状態を表す光を外側から視認可能としつつ小型化を図ることができる表示装置を提供することを目的とする。
【課題を解決するための手段】
【0006】
上記目的を達成するために、本発明に係る表示装置は、
扁平な形状を有し厚さ方向における一面側に表示パネルが配設された表示ユニットと、
前記表示ユニットの厚さ方向における他面側に対向配置され前記表示ユニットに電力を供給する電源回路を構成する電子部品と、自装置の状態に応じた態様で発光する発光部と、が実装された基板と、
長尺であり長手方向における一端部が前記発光部に対向して配置されるとともに、他端部が前記表示ユニットを厚さ方向から見たときの前記表示ユニットの外周部に配置され、前記発光部から前記一端部に入射し前記他端部まで伝播した光を前記他端部から前記表示ユニットの前記一面側が臨む方向へ放射する導光ロッドと、を備える。
【発明の効果】
【0007】
本発明によれば、導光ロッドが、長尺であり長手方向における一端部が発光部に対向して配置されるとともに、他端部が表示ユニットの外周部に配置され、発光部から一端部に入射し他端部まで伝播した光を他端部から表示ユニットの一面側が臨む方向へ放射する。これにより、表示装置内において発光部を表示ユニットの他面側に配置しつつ、発光部から放射された表示装置の状態を示す光を、表示ユニットの一面側から視認できる。従って、表示装置の状態を表す光を外側から視認可能としつつ小型化を図ることができる。
【図面の簡単な説明】
【0008】
本発明の実施の形態に係る表示装置の斜視図である。
実施の形態に係る表示装置本体の斜視図である。
実施の形態に係る表示装置本体の分解斜視図である。
実施の形態に係る表示ユニットの断面図である。
実施の形態に係る表示装置の図3のA-A線における断面矢視図である。
実施の形態に係る導光ロッドを示し、(A)は斜視図であり、(B)は側面図である。
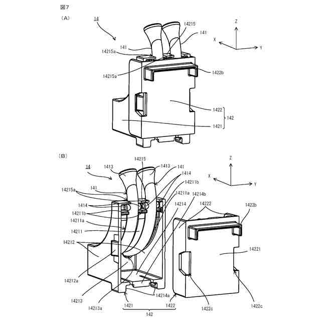
(A)は実施の形態に係る導光ユニットの斜視図であり、(B)は実施の形態に係る導光ユニットの分解斜視図である。
変形例に係る導光ロッドの側面図である。
【発明を実施するための形態】
【0009】
以下、本発明の実施の形態に係る表示装置について図面を参照しながら説明する。本実施の形態に係る表示装置は、例えば建物の床、廊下等に埋め込まれる誘導灯として使用される。そして、床、廊下等に埋め込まれた状態において、表示装置の状態を表す光を視認可能としつつも表示装置全体の小型化を図ることができるものである。
【0010】
図1に示すように、表示装置100は、扁平な箱状の収納ケース31と、矩形板状であり中央部に平面視矩形状の開口部33aを有し収納ケース31の+Z方向側の開放部分の内周部全体を覆うように配置された枠体33と、透光性を有する材料から矩形板状に形成され枠体33の内側において装置本体1の+Z方向側を覆うように配置された保護カバー32と、を備える。収納ケース31の内側には、図2に示す装置本体1が収納されている。また、図1に示すように、収納ケース31の周壁には、2つの開口部31aが貫設されており、装置本体1から導出されるワイヤハーネス(図示せず)が当該2つの開口部31aそれぞれに装着されたブッシング35に挿通される。枠体33は、金属、樹脂等から形成され螺子36により床、廊下等に固定されている。
(【0011】以降は省略されています)
この特許をJ-PlatPat(特許庁公式サイト)で参照する
関連特許
個人
室外機器
3か月前
個人
照明システム
3か月前
個人
車載機器の通気構造
27日前
個人
気泡を用いた遊具。
5か月前
株式会社遠藤照明
照明装置
18日前
株式会社遠藤照明
照明器具
4か月前
個人
LEDライト
3か月前
デンカ株式会社
照明装置
3か月前
株式会社小糸製作所
車両用灯具
今日
株式会社小糸製作所
車両用灯具
今日
能美防災株式会社
表示灯
27日前
デンカ株式会社
道路用照明
3か月前
スタンレー電気株式会社
照射用光源
4日前
株式会社小糸製作所
誘導装置
11日前
株式会社小糸製作所
投光装置
27日前
瀧住電機工業株式会社
ダクトレール
6か月前
アクア株式会社
冷蔵庫
2か月前
株式会社小糸製作所
投光装置
27日前
株式会社小糸製作所
車両用灯具
3か月前
株式会社小糸製作所
車両用灯具
4か月前
株式会社小糸製作所
車両用灯具
6か月前
株式会社小糸製作所
車両用灯具
6か月前
株式会社小糸製作所
車両用灯具
3か月前
株式会社小糸製作所
車両用灯具
3か月前
株式会社小糸製作所
描画用灯具
6か月前
株式会社小糸製作所
表示用灯具
4日前
株式会社小糸製作所
車両用灯具
4か月前
株式会社小糸製作所
車両用灯具
6か月前
株式会社小糸製作所
車両用灯具
4か月前
株式会社オカムラ
間仕切り装置
6か月前
株式会社小糸製作所
車両用灯具
3か月前
株式会社小糸製作所
表示用灯具
4日前
株式会社小糸製作所
車両用灯具
6か月前
株式会社小糸製作所
車両用灯具
7か月前
株式会社小糸製作所
車両用灯具
6か月前
株式会社小糸製作所
車両用灯具
2か月前
続きを見る
他の特許を見る