TOP
|
特許
|
意匠
|
商標
特許ウォッチ
Twitter
他の特許を見る
10個以上の画像は省略されています。
公開番号
2025144893
公報種別
公開特許公報(A)
公開日
2025-10-03
出願番号
2024044804
出願日
2024-03-21
発明の名称
半導体記憶装置
出願人
キオクシア株式会社
代理人
弁理士法人きさらぎ国際特許事務所
主分類
H10B
12/00 20230101AFI20250926BHJP()
要約
【課題】高集積化が可能な半導体記憶装置を提供する。
【解決手段】半導体記憶装置は、基板と、第1方向に延伸する第1ビア配線と、第1方向に並び、第1ビア配線に電気的に接続された複数の第1半導体層と、第1方向に並び、複数の第1半導体層に電気的に接続されたメモリ部と、第1方向に並び、複数の第1半導体層に対向する複数の第1ゲート電極と、第1方向に並び、第2方向に延伸し、複数の第1ゲート電極に電気的に接続された複数の第1配線と、第1方向に並び、複数の第1配線に電気的に接続された複数の第2半導体層と、第1方向に並び、複数の第2半導体層に対向する複数の第2ゲート電極と、第1方向に延伸し、複数の第2ゲート電極に電気的に接続された第2ビア配線と、第1方向に延伸し、複数の第2半導体層に電気的に接続され、第3方向において複数の第2半導体層と並ぶ第2配線と、を備える。
【選択図】図6
特許請求の範囲
【請求項1】
基板と、
前記基板の表面と交差する第1方向に延伸する第1ビア配線と、
前記第1方向に並び、前記第1ビア配線に電気的に接続された複数の第1半導体層と、
前記第1方向に並び、前記複数の第1半導体層に電気的に接続されたメモリ部と、
前記第1方向に並び、前記複数の第1半導体層に対向する複数の第1ゲート電極と、
前記第1方向に並び、前記第1方向と交差する第2方向に延伸し、前記複数の第1ゲート電極に電気的に接続された複数の第1配線と、
前記第1方向に並び、前記複数の第1配線に電気的に接続された複数の第2半導体層と、
前記第1方向に並び、前記複数の第2半導体層に対向する複数の第2ゲート電極と、
前記第1方向に延伸し、前記複数の第2ゲート電極に電気的に接続された第2ビア配線と、
前記第1方向に延伸し、前記複数の第2半導体層に電気的に接続され、前記第1方向及び前記第2方向と交差する第3方向において前記複数の第2半導体層と並ぶ第2配線と
を備える半導体記憶装置。
続きを表示(約 1,100 文字)
【請求項2】
前記複数の第2ゲート電極のうち、前記第1方向に隣り合う二つの、前記第2方向及び前記第3方向の両端部は、前記第1方向に離間する
請求項1記載の半導体記憶装置。
【請求項3】
前記複数の第1半導体層と交互に前記第1方向に並ぶ複数の絶縁層を備え、
前記複数の第2ゲート電極は、それぞれ、前記複数の絶縁層に対応する前記第1方向の位置に設けられている
請求項1記載の半導体記憶装置。
【請求項4】
前記複数の第2ゲート電極のうちの一つは、前記複数の第2半導体層のうち、前記第1方向に隣り合う二つの第2半導体層の間に設けられ、これら二つの第2半導体層に対向する
請求項1記載の半導体記憶装置。
【請求項5】
前記第2半導体層は、ガリウム(Ga)及びアルミニウム(Al)のうち少なくとも一つの元素と、インジウム(In)と、亜鉛(Zn)と、酸素(O)と、を含む
請求項1記載の半導体記憶装置。
【請求項6】
前記第1ゲート電極は、前記第1半導体層の、前記第1方向の一方側及び他方側の面、及び、前記第2方向の一方側及び他方側の面に対向する
請求項1記載の半導体記憶装置。
【請求項7】
前記メモリ部は、
前記第1半導体層に電気的に接続された第1電極と、
前記第1電極に対向する第2電極と、
前記第1電極及び前記第2電極の間に設けられた絶縁層と
を備える請求項1記載の半導体記憶装置。
【請求項8】
前記第1半導体層は、ガリウム(Ga)及びアルミニウム(Al)のうち少なくとも一つの元素と、インジウム(In)と、亜鉛(Zn)と、酸素(O)と、を含む
請求項1記載の半導体記憶装置。
【請求項9】
前記第1方向に並び、前記複数の第1配線に電気的に接続された複数の第3半導体層と、
前記第1方向に並び、前記複数の第3半導体層に対向する複数の第3ゲート電極と、
前記第1方向に延伸し、前記複数の第3ゲート電極に電気的に接続された第3ビア配線と、
前記第1方向に並び、前記第3方向に延伸し、前記複数の第3半導体層に電気的に接続された複数の第3配線と
を備える請求項1記載の半導体記憶装置。
【請求項10】
前記第1ビア配線の前記第2方向の位置は、前記第2ビア配線の前記第2方向の位置と、前記第3ビア配線の前記第2方向の位置と、の間である
請求項9記載の半導体記憶装置。
(【請求項11】以降は省略されています)
発明の詳細な説明
【技術分野】
【0001】
本実施形態は、半導体記憶装置に関する。
続きを表示(約 4,700 文字)
【背景技術】
【0002】
半導体記憶装置の高集積化に伴い、半導体記憶装置の三次元化に関する検討が進められている。
【先行技術文献】
【特許文献】
【0003】
米国特許出願公開第2022/0399308号明細書
米国特許出願公開第2023/0387055号明細書
米国特許出願公開第2023/0397398号明細書
【発明の概要】
【発明が解決しようとする課題】
【0004】
高集積化が可能な半導体記憶装置を提供する。
【課題を解決するための手段】
【0005】
一の実施形態に係る半導体記憶装置は、基板と、基板の表面と交差する第1方向に延伸する第1ビア配線と、第1方向に並び、第1ビア配線に電気的に接続された複数の第1半導体層と、第1方向に並び、複数の第1半導体層に電気的に接続されたメモリ部と、第1方向に並び、複数の第1半導体層に対向する複数の第1ゲート電極と、第1方向に並び、第1方向と交差する第2方向に延伸し、複数の第1ゲート電極に電気的に接続された複数の第1配線と、第1方向に並び、複数の第1配線に電気的に接続された複数の第2半導体層と、第1方向に並び、複数の第2半導体層に対向する複数の第2ゲート電極と、第1方向に延伸し、複数の第2ゲート電極に電気的に接続された第2ビア配線と、第1方向に延伸し、複数の第2半導体層に電気的に接続され、第1方向及び第2方向と交差する第3方向において複数の第2半導体層と並ぶ第2配線と、を備える。
【図面の簡単な説明】
【0006】
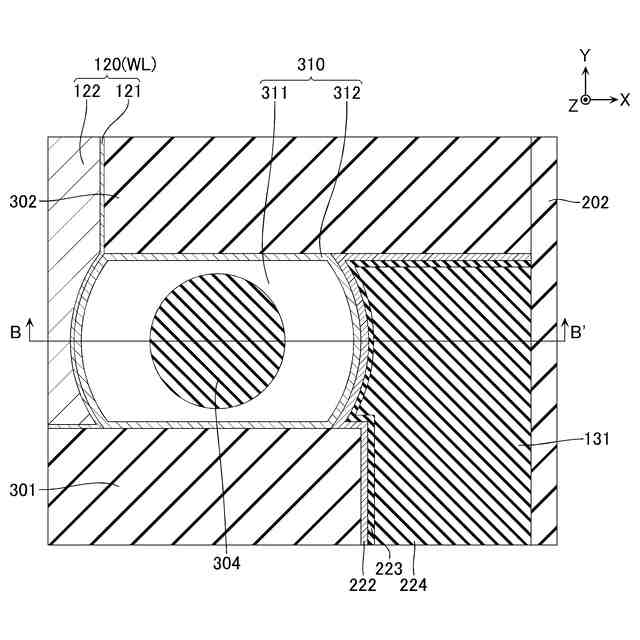
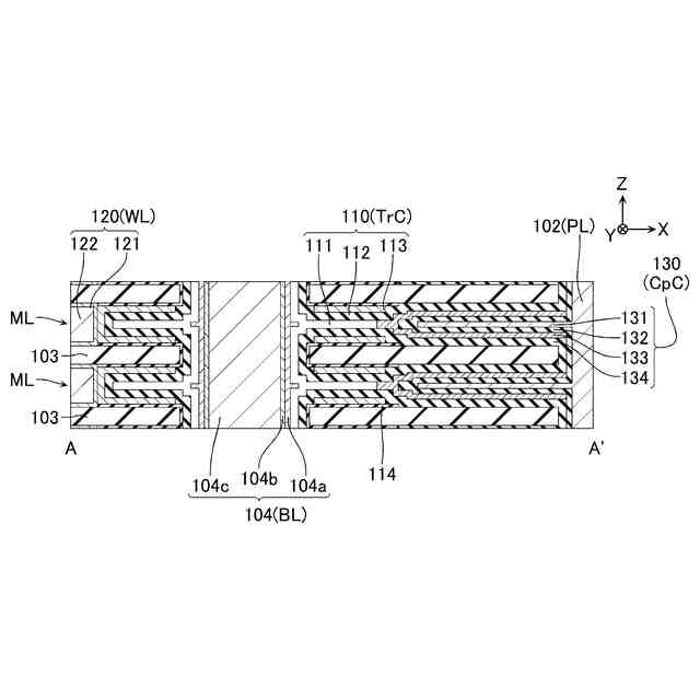
第1実施形態に係る半導体記憶装置の一部の構成を示す模式的な回路図である。
同半導体記憶装置の読出動作について説明するための模式的な回路図である。
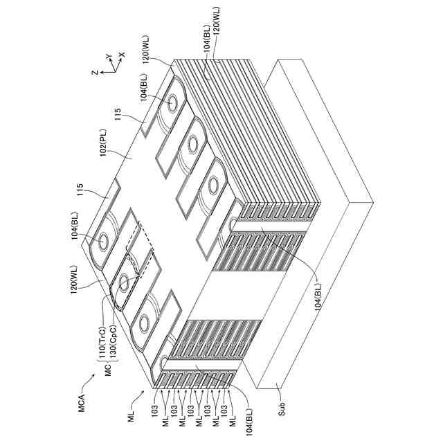
同半導体記憶装置の一部の構成を示す模式的な斜視図である。
同半導体記憶装置の一部の構成を示す模式的な斜視図である。
同半導体記憶装置の一部の構成を示す模式的なXY断面図である。
同半導体記憶装置の一部の構成を示す模式的なXY断面図である。
同半導体記憶装置の一部の構成を示す模式的なXY断面図である。
同半導体記憶装置の一部の構成を示す模式的な断面図である。
同半導体記憶装置の一部の構成を示す模式的なXY断面図である。
同半導体記憶装置の一部の構成を示す模式的な断面図である。
同半導体記憶装置の一部の構成を示す模式的なXY断面図である。
同半導体記憶装置の一部の構成を示す模式的な断面図である。
同半導体記憶装置の一部の構成を示す模式的なXY断面図である。
同半導体記憶装置の一部の構成を示す模式的な断面図である。
同半導体記憶装置の一部の構成を示す模式的な断面図である。
同半導体記憶装置の製造方法について説明するための模式的な断面図である。
同製造方法について説明するための模式的な断面図である。
同製造方法について説明するための模式的な断面図である。
同製造方法について説明するための模式的な断面図である。
同製造方法について説明するための模式的な断面図である。
同製造方法について説明するための模式的な断面図である。
同製造方法について説明するための模式的な断面図である。
同製造方法について説明するための模式的な断面図である。
同製造方法について説明するための模式的な断面図である。
同製造方法について説明するための模式的な断面図である。
同製造方法について説明するための模式的な断面図である。
同製造方法について説明するための模式的な断面図である。
同製造方法について説明するための模式的な断面図である。
同製造方法について説明するための模式的な断面図である。
同製造方法について説明するための模式的な断面図である。
同製造方法について説明するための模式的な断面図である。
同製造方法について説明するための模式的な断面図である。
同製造方法について説明するための模式的な断面図である。
同製造方法について説明するための模式的な断面図である。
同製造方法について説明するための模式的な断面図である。
同製造方法について説明するための模式的な断面図である。
同製造方法について説明するための模式的な断面図である。
同製造方法について説明するための模式的な断面図である。
同製造方法について説明するための模式的な断面図である。
同製造方法について説明するための模式的な断面図である。
同製造方法について説明するための模式的な断面図である。
同製造方法について説明するための模式的な断面図である。
同製造方法について説明するための模式的な断面図である。
同製造方法について説明するための模式的な断面図である。
同製造方法について説明するための模式的な断面図である。
同製造方法について説明するための模式的な断面図である。
同製造方法について説明するための模式的な断面図である。
同製造方法について説明するための模式的な断面図である。
同製造方法について説明するための模式的な断面図である。
同製造方法について説明するための模式的な断面図である。
同製造方法について説明するための模式的な断面図である。
同製造方法について説明するための模式的な断面図である。
同製造方法について説明するための模式的な断面図である。
同製造方法について説明するための模式的な断面図である。
同製造方法について説明するための模式的な断面図である。
同製造方法について説明するための模式的な断面図である。
同製造方法について説明するための模式的な断面図である。
同製造方法について説明するための模式的な断面図である。
同製造方法について説明するための模式的な断面図である。
同製造方法について説明するための模式的な断面図である。
同製造方法について説明するための模式的な断面図である。
同製造方法について説明するための模式的な断面図である。
同製造方法について説明するための模式的な断面図である。
同製造方法について説明するための模式的な断面図である。
同製造方法について説明するための模式的な断面図である。
同製造方法について説明するための模式的な断面図である。
同製造方法について説明するための模式的な断面図である。
同製造方法について説明するための模式的な断面図である。
同製造方法について説明するための模式的な断面図である。
同製造方法について説明するための模式的な断面図である。
同製造方法について説明するための模式的な断面図である。
同製造方法について説明するための模式的な断面図である。
同製造方法について説明するための模式的な断面図である。
同製造方法について説明するための模式的な断面図である。
同製造方法について説明するための模式的な断面図である。
同製造方法について説明するための模式的な断面図である。
同製造方法について説明するための模式的な断面図である。
同製造方法について説明するための模式的な断面図である。
同製造方法について説明するための模式的な断面図である。
同製造方法について説明するための模式的な断面図である。
同製造方法について説明するための模式的な断面図である。
同製造方法について説明するための模式的な断面図である。
同製造方法について説明するための模式的な断面図である。
同製造方法について説明するための模式的な断面図である。
同製造方法について説明するための模式的な断面図である。
同製造方法について説明するための模式的な断面図である。
同製造方法について説明するための模式的な断面図である。
同製造方法について説明するための模式的な断面図である。
同製造方法について説明するための模式的な断面図である。
同製造方法について説明するための模式的な断面図である。
同製造方法について説明するための模式的な断面図である。
同製造方法について説明するための模式的な断面図である。
同製造方法について説明するための模式的な断面図である。
同製造方法について説明するための模式的な断面図である。
同製造方法について説明するための模式的な断面図である。
同製造方法について説明するための模式的な断面図である。
同製造方法について説明するための模式的な断面図である。
同製造方法について説明するための模式的な断面図である。
同製造方法について説明するための模式的な断面図である。
同製造方法について説明するための模式的な断面図である。
【発明を実施するための形態】
【0007】
次に、実施形態に係る半導体記憶装置を、図面を参照して詳細に説明する。尚、以下の実施形態はあくまでも一例であり、本発明を限定する意図で示されるものではない。また、以下の図面は模式的なものであり、説明の都合上、一部の構成等が省略される場合がある。また、複数の実施形態について共通する部分には同一の符号を付し、説明を省略する場合がある。
【0008】
また、本明細書において「半導体記憶装置」と言った場合には、メモリダイを意味する事もあるし、メモリチップ、メモリカード、SSD(Solid State Drive)等の、コントローラダイを含むメモリシステムを意味する事もある。更に、スマートホン、タブレット端末、パーソナルコンピュータ等の、ホストコンピュータを含む構成を意味する事もある。
【0009】
また、本明細書において、第1の構成が第2の構成に「電気的に接続されている」と言った場合、第1の構成は第2の構成に直接接続されていても良いし、第1の構成が第2の構成に配線、半導体部材又はトランジスタ等を介して接続されていても良い。例えば、3つのトランジスタを直列に接続した場合には、2つ目のトランジスタがOFF状態であったとしても、1つ目のトランジスタは3つ目のトランジスタに「電気的に接続」されている。
【0010】
また、本明細書において、第1の構成が第2の構成及び第3の構成の「間に電気的に接続されている」と言った場合、第1の構成、第2の構成及び第3の構成が直列に接続され、且つ、第2の構成が第1の構成を介して第3の構成に電気的に接続されていることを意味する場合がある。
(【0011】以降は省略されています)
この特許をJ-PlatPat(特許庁公式サイト)で参照する
関連特許
キオクシア株式会社
記憶装置
今日
キオクシア株式会社
半導体記憶装置
今日
キオクシア株式会社
メモリシステム
今日
キオクシア株式会社
メモリデバイス
今日
キオクシア株式会社
半導体記憶装置
今日
キオクシア株式会社
メモリシステム
今日
キオクシア株式会社
半導体記憶装置
今日
キオクシア株式会社
メモリシステム
今日
キオクシア株式会社
有機分子メモリ
今日
キオクシア株式会社
半導体記憶装置
今日
キオクシア株式会社
メモリデバイス
今日
キオクシア株式会社
半導体記憶装置
今日
キオクシア株式会社
半導体記憶装置
今日
キオクシア株式会社
半導体記憶装置
今日
キオクシア株式会社
半導体記憶装置
今日
キオクシア株式会社
半導体記憶装置
今日
キオクシア株式会社
半導体記憶装置
今日
キオクシア株式会社
磁気メモリデバイス
今日
キオクシア株式会社
評価方法及び評価装置
今日
キオクシア株式会社
送信装置及び半導体装置
今日
キオクシア株式会社
コントローラ及びホスト
今日
キオクシア株式会社
半導体装置及び記憶媒体
今日
キオクシア株式会社
半導体集積回路、受信装置、及び受信方法
今日
キオクシア株式会社
半導体記憶装置の製造方法及び半導体記憶装置
今日
キオクシア株式会社
半導体記憶装置及び半導体記憶装置の制御方法
今日
キオクシア株式会社
電源管理回路、メモリシステム及び電源管理方法
今日
株式会社東芝
ワイヤボンディング装置及び制御方法
今日
キオクシア株式会社
半導体装置、半導体記憶装置及び半導体装置の製造方法
今日
キオクシア株式会社
メモリシステム
今日
キオクシア株式会社
半導体集積回路、メモリコントローラ及び半導体集積回路の制御方法
今日
株式会社東芝
ワイヤボンディング装置、及び動作方法、及び制御方法
今日
キオクシア株式会社
犠牲層付きテンプレート、犠牲層付きテンプレートの製造方法、犠牲層付きテンプレートの再製造方法および半導体装置の製造方法
今日
エイブリック株式会社
半導体装置
1日前
エイブリック株式会社
半導体装置
1か月前
富士電機株式会社
半導体装置
22日前
富士電機株式会社
半導体装置
4日前
続きを見る
他の特許を見る