TOP
|
特許
|
意匠
|
商標
特許ウォッチ
Twitter
他の特許を見る
公開番号
2025145271
公報種別
公開特許公報(A)
公開日
2025-10-03
出願番号
2024045361
出願日
2024-03-21
発明の名称
メモリシステム
出願人
キオクシア株式会社
代理人
個人
,
個人
,
個人
主分類
G06F
12/00 20060101AFI20250926BHJP(計算;計数)
要約
【課題】メモリの信頼性を向上させることが出来るメモリシステムを提供する。
【解決手段】ホストに接続可能なメモリシステム1は、第1の不揮発性メモリ100と、コントローラ200と、を備える。第1の不揮発性メモリは、各々が消去動作の単位である複数のブロックBLKを含む。コントローラは、第1の不揮発性メモリに電気的に接続し、第1の不揮発性メモリを制御し、ホスト300から第1のデータを受信し、複数のブロックのうちの1つである第1ブロックに実行された消去動作の回数に応じて異なる第2のデータを用いて第1のデータをランダマイズ処理することにより第1のデータから第3のデータを生成する。コントローラは、第3のデータを第1ブロックに書き込む。
【選択図】図1
特許請求の範囲
【請求項1】
ホストに接続可能なメモリシステムであって、
各々がデータの消去動作の単位である複数のブロックを含む第1の不揮発性メモリと、
前記第1の不揮発性メモリに電気的に接続され、前記第1の不揮発性メモリを制御するように構成されたコントローラとを具備し、
前記コントローラは、前記ホストから第1のデータを受信し、
前記複数のブロックのうちの1つである第1ブロックに実行された前記消去動作の回数に応じて異なる第2のデータを用いて前記第1のデータをランダマイズ処理することにより前記第1のデータから第3のデータを生成し、
前記第3のデータを前記第1ブロックに書き込むように構成される、
メモリシステム。
続きを表示(約 1,300 文字)
【請求項2】
前記第2のデータは、前記複数のブロックのうちの第2ブロックに実行された前記消去動作の回数に応じても異なる、
請求項1に記載のメモリシステム。
【請求項3】
ホストに接続可能なメモリシステムであって、
各々がデータの消去動作の単位である複数のブロックを含む第1の不揮発性メモリと、
前記第1の不揮発性メモリに電気的に接続され、前記第1の不揮発性メモリを制御するように構成されたコントローラとを具備し、
前記コントローラは、前記ホストから第1のデータを受信し、
前記複数のブロックのうちの1つである第1ブロックに実行された前記消去動作の時期に応じて異なる第2のデータを用いて前記第1のデータをランダマイズ処理することにより前記第1のデータから第3のデータを生成し、
前記第3のデータを前記第1ブロックに書き込むように構成される、
メモリシステム。
【請求項4】
ホストに接続可能なメモリシステムであって、
各々がデータの消去単位である複数のブロックを含む第1の不揮発性メモリと、
前記第1の不揮発性メモリに電気的に接続され、前記第1の不揮発性メモリを制御するように構成されたコントローラとを具備し、
前記コントローラは、前記ホストから第1のデータを受信し、
前記第1のデータの受信毎に異なる第2のデータを用いて前記第1のデータをランダマイズ処理することにより前記第1のデータから第3のデータを生成し、
前記第3のデータを前記複数のブロックのうちの1つである第1ブロックに書き込むように構成される、
メモリシステム。
【請求項5】
前記第2のデータは、前記第1のデータの識別情報の少なくとも一部である、
請求項4に記載のメモリシステム。
【請求項6】
前記第2のデータは、前記第1のデータのバージョン情報である、
請求項5に記載のメモリシステム。
【請求項7】
前記第1のデータは第1ファームウェアであり、
前記第2のデータは前記第1ファームウェアの更新処理或いは復元処理に用いられる情報に含まれる、
請求項1乃至6のいずれか1項に記載のメモリシステム。
【請求項8】
前記コントローラは、さらに前記第2のデータを前記第1の不揮発性メモリに書き込むように構成される、
請求項1乃至6のいずれか1項に記載のメモリシステム。
【請求項9】
前記コントローラは、前記第2のデータを前記第1ブロックに書き込むように構成される、
請求項8に記載のメモリシステム。
【請求項10】
前記コントローラは、
前記第3のデータを前記第1ブロックの第1領域に書き込み、
前記第2のデータを前記第1ブロックの前記第1領域とは異なる第2領域に書き込むように構成される、
請求項9に記載のメモリシステム。
(【請求項11】以降は省略されています)
発明の詳細な説明
【技術分野】
【0001】
本発明の実施形態は、メモリシステムに関する。
続きを表示(約 2,500 文字)
【背景技術】
【0002】
NANDフラッシュメモリのような不揮発性メモリと、不揮発性メモリを制御するメモリコントローラと、を備えるメモリシステムが知られている。
【先行技術文献】
【特許文献】
【0003】
特許第6499065号公報
特開2021-189912号公報
米国特許出願公開第2020/0410102号明細書
米国特許出願公開第2004/0034785号明細書
米国特許出願公開第2022/0107797号明細書
【発明の概要】
【発明が解決しようとする課題】
【0004】
一つの実施形態は、メモリの信頼性を向上させることが出来るメモリシステムを提供する。
【課題を解決するための手段】
【0005】
一つの実施形態によれば、メモリシステムは、ホストに接続可能である。メモリシステムは、第1の不揮発性メモリと、コントローラと、を備える。第1の不揮発性メモリは、各々が消去動作の単位である複数のブロックを含む。コントローラは、第1の不揮発性メモリに電気的に接続され、第1の不揮発性メモリを制御する。コントローラは、ホストから第1のデータを受信する。コントローラは、複数のブロックのうちの1つである第1ブロックに実行された消去動作の回数に応じて異なる第2のデータを用いて第1のデータをランダマイズ処理することにより第1のデータから第3のデータを生成する。コントローラは、第3のデータを第1ブロックに書き込む。
【図面の簡単な説明】
【0006】
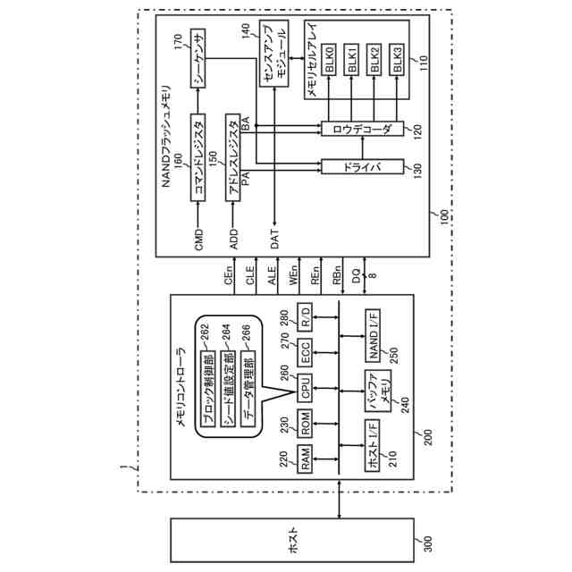
図1は、第1実施形態に係るメモリシステムの構成を示す。
図2は、第1実施形態に係るブロックの回路構成を示す。
図3は、第1実施形態に係るブロックに格納されるデータの概略構成を示す。
図4は、第1実施形態に係るファームウェアブロックの内部構成を示す。
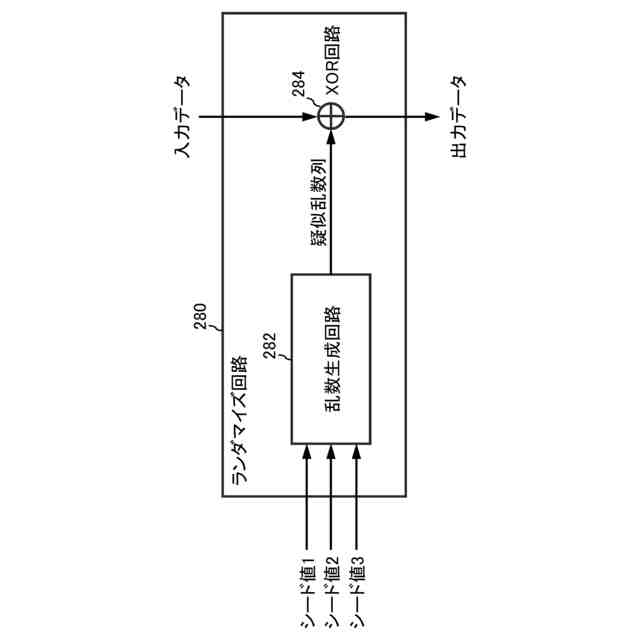
図5は、第1実施形態に係るランダマイズ回路の詳細な構成を示す。
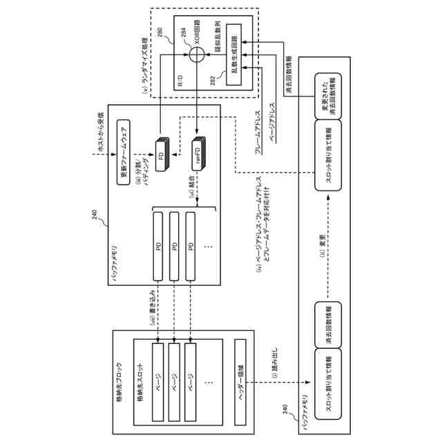
図6は、第1実施形態に係るメモリコントローラによるファームウェア更新処理のためのデータ処理の例を示す。
図7は、第1実施形態に係るファームウェア更新処理の概要を示す。
図8は、第1実施形態に係るファームウェア更新処理のフローを示す。
図9は、第1実施形態に係るファームウェア復元処理のフローを示す。
図10は、第1実施形態の変形例に係るヘッダー情報の変更処理の概要を示す。
図11は、第2実施形態に係るファームウェアブロックの内部構成を示す。
図12は、第2実施形態に係るヘッダー情報の読み出し、ヘッダー情報の変更処理及びシード値の設定処理の概要を示す。
図13は、第2実施形態に係るファームウェア更新処理のフローを示す。
図14は、第2実施形態に係るファームウェア復元処理のフローを示す。
図15は、第3実施形態に係るファームウェアブロックの内部構成を示す。
図16は、第3実施形態に係るメモリコントローラの構成を示す。
図17は、第3実施形態に係るヘッダー情報の変更処理及びシード値の設定処理の概要を示す。
図18は、第3実施形態に係るファームウェア更新処理のフローを示す。
図19は、第3実施形態に係るファームウェア復元処理のフローを示す。
図20は、第4実施形態に係るファームウェアブロックの内部構成を示す。
図21は、第4実施形態に係るヘッダー情報の変更処理及びシード値の設定処理の概要を示す。
図22は、第4実施形態に係るファームウェア更新処理のフローを示す。
図23は、第4実施形態に係るファームウェア復元処理のフローを示す。
図24は、第5実施形態に係るブロックに格納されるデータの概略構成を示す。
図25は、第5実施形態に係るファームウェアブロックの内部構成を示す。
図26は、第5実施形態に係るファームウェア更新処理の概要を示す。
図27は、第5実施形態に係るファームウェア更新処理のフローを示す。
図28は、第6実施形態に係るヘッダー情報の書き込み処理の概要を示す。
図29は、第6実施形態に係るヘッダー情報の書き込み処理のフローを示す。
図30は、第6実施形態に係るヘッダー情報の読み出し処理のフローを示す。
【発明を実施するための形態】
【0007】
以下に実施形態が図面を参照して記述される。以下の記述において、略同一の機能及び構成を有する構成要素は同一符号を付され、繰り返しの説明を省略する場合がある。或る実施形態についての記述は全て、明示的にまたは自明的に排除されない限り、別の実施形態の記述としても当てはまる。
【0008】
なお、図面における図形の大きさ、或いは図形の大小関係は、それら図形が示す構成及びデータの大きさ、或いは大小関係を示すものではない。
【0009】
各機能ブロックは、ハードウェア、コンピュータソフトウェアのいずれかまたは両者を組み合わせたものとして実現することが出来る。このため、各機能ブロックがこれらのいずれでもあることが明確となるように、概してそれらの機能の観点から記述される。また、各機能ブロックが、以下の例のように区別されていることは必須ではない。例えば、一部の機能が例示の機能ブロックとは別の機能ブロックによって実行されてもよい。さらに、例示の機能ブロックがさらに細かい機能サブブロックに分割されていてもよい。
【0010】
また、実施形態の方法のフローにおけるいずれのステップも、例示の順序に限定されず、そうでないと示されない限り、例示の順序とは異なる順序で及び(または)別のステップと並行して実行されることが可能である。
(【0011】以降は省略されています)
この特許をJ-PlatPat(特許庁公式サイト)で参照する
関連特許
キオクシア株式会社
記憶装置
8日前
キオクシア株式会社
記憶装置
2日前
キオクシア株式会社
記憶装置
今日
キオクシア株式会社
記憶装置
4日前
キオクシア株式会社
記憶装置
2日前
キオクシア株式会社
半導体装置
今日
キオクシア株式会社
半導体装置
1日前
キオクシア株式会社
半導体装置
1日前
キオクシア株式会社
半導体装置
8日前
キオクシア株式会社
半導体装置
2日前
キオクシア株式会社
基板ユニット
4日前
キオクシア株式会社
磁気記憶装置
1日前
キオクシア株式会社
通信システム
2日前
キオクシア株式会社
磁気記憶装置
2日前
キオクシア株式会社
磁気記憶装置
2日前
キオクシア株式会社
情報処理装置
16日前
キオクシア株式会社
磁気記憶装置
4日前
キオクシア株式会社
磁気記憶装置
4日前
キオクシア株式会社
半導体記憶装置
1日前
キオクシア株式会社
半導体記憶装置
2日前
キオクシア株式会社
メモリシステム
1日前
キオクシア株式会社
半導体記憶装置
15日前
キオクシア株式会社
半導体記憶装置
1日前
キオクシア株式会社
メモリシステム
14日前
キオクシア株式会社
半導体記憶装置
14日前
キオクシア株式会社
半導体記憶装置
14日前
キオクシア株式会社
メモリデバイス
2日前
キオクシア株式会社
半導体記憶装置
4日前
キオクシア株式会社
メモリデバイス
7日前
キオクシア株式会社
半導体記憶装置
2日前
キオクシア株式会社
半導体記憶装置
4日前
キオクシア株式会社
半導体記憶装置
4日前
キオクシア株式会社
半導体記憶装置
4日前
キオクシア株式会社
半導体記憶装置
2日前
キオクシア株式会社
半導体記憶装置
今日
キオクシア株式会社
半導体記憶装置
今日
続きを見る
他の特許を見る