TOP
|
特許
|
意匠
|
商標
特許ウォッチ
Twitter
他の特許を見る
公開番号
2025142515
公報種別
公開特許公報(A)
公開日
2025-10-01
出願番号
2024041923
出願日
2024-03-18
発明の名称
磁気記憶装置
出願人
キオクシア株式会社
代理人
弁理士法人スズエ国際特許事務所
主分類
H10B
61/00 20230101AFI20250924BHJP()
要約
【課題】 優れた特性を有する磁気抵抗効果素子を含む磁気記憶装置を提供する。
【解決手段】 実施形態に係る磁気記憶装置は、固定された磁化方向を有する第1の磁性層10と、ビスマス(Bi)、アンチモン(Sb)及びテルル(Te)から選択された少なくとも1つの所定元素を含有する所定元素含有層60と、第1の磁性層と所定元素含有層との間に設けられ、可変の磁化方向を有する第2の磁性層20と、第1の磁性層と第2の磁性層との間に設けられ非磁性層30と、を備える。第2の磁性層は、その主面に対して平行な(100)面を有する第1の層部分21と、所定元素含有層と第1の層部分との間に設けられ、その主面に対して平行な(110)面を有する第2の層部分22と、を含む。
【選択図】図1
特許請求の範囲
【請求項1】
固定された磁化方向を有する第1の磁性層と、
ビスマス(Bi)、アンチモン(Sb)及びテルル(Te)から選択された少なくとも1つの所定元素を含有する所定元素含有層と、
前記第1の磁性層と前記所定元素含有層との間に設けられ、可変の磁化方向を有する第2の磁性層と、
前記第1の磁性層と前記第2の磁性層との間に設けられ非磁性層と、
を備える磁気記憶装置であって、
前記第2の磁性層は、
その主面に対して平行な(100)面を有する第1の層部分と、
前記所定元素含有層と前記第1の層部分との間に設けられ、その主面に対して平行な(110)面を有する第2の層部分と、
を含む
ことを特徴とする磁気記憶装置。
続きを表示(約 1,200 文字)
【請求項2】
前記第2の磁性層は、前記第1の層部分と前記第2の層部分との間に設けられ、ルテニウム(Ru)、プラチナ(Pt)、イリジウム(Ir)、パラジウム(Pd)、ロジウム(Rh)、銀(Ag)及び金(Au)から選択された少なくとも1つの元素を含有する材料又はアモルファス磁性材料で形成された第3の層部分をさらに含む
ことを特徴とする請求項1に記載の磁気記憶装置。
【請求項3】
前記アモルファス磁性材料は、コバルト(Co)、ジルコニウム(Zr)及びニオブ(Nb)を含有する材料、及びコバルト(Co)、ジルコニウム(Zr)及びモリブデン(Mo)を含有する材料から選択される
ことを特徴とする請求項2に記載の磁気記憶装置。
【請求項4】
前記第2の磁性層の前記第1の層部分は、鉄(Fe)及びコバルト(Co)から選択された少なくとも1つの元素を含有する
ことを特徴とする請求項1に記載の磁気記憶装置。
【請求項5】
前記第2の磁性層の前記第1の層部分は、ボロン(B)をさらに含有する
ことを特徴とする請求項4に記載の磁気記憶装置。
【請求項6】
前記第2の磁性層の前記第2の層部分は、鉄(Fe)及びコバルト(Co)から選択された少なくとも1つの元素を含有する
ことを特徴とする請求項1に記載の磁気記憶装置。
【請求項7】
前記第2の磁性層の前記第1の層部分は、前記非磁性層に接している
ことを特徴とする請求項1に記載の磁気記憶装置。
【請求項8】
前記第2の磁性層の前記第2の層部分は、前記所定元素含有層に接している
ことを特徴とする請求項1に記載の磁気記憶装置。
【請求項9】
固定された磁化方向を有する第1の磁性層と、
ビスマス(Bi)、アンチモン(Sb)及びテルル(Te)から選択された少なくとも1つの第1の所定元素と、マグネシウム(Mg)、チタン(Ti)、ジルコニウム(Zr)、ハフニウム(Hf)、スカンジウム(Sc)、イットリウム(Y)、アルミニウム(Al)、シリコン(Si)、セリウム(Ce)、プラセオジム(Pr)、サマリウム(Sm)、ガドリニウム(Gd)、テルビウム(Tb)及びジスプロシウム(Dy)から選択された少なくとも1つの第2の所定元素と、酸素(O)とを含有する所定元素含有層と、
前記第1の磁性層と前記所定元素含有層との間に設けられ、可変の磁化方向を有する第2の磁性層と、
前記第1の磁性層と前記第2の磁性層との間に設けられ非磁性層と、
を備えることを特徴とする磁気記憶装置。
【請求項10】
前記第2の磁性層は、その主面に対して平行な(100)面を有する層部分を含む
ことを特徴とする請求項9に記載の磁気記憶装置。
(【請求項11】以降は省略されています)
発明の詳細な説明
【技術分野】
【0001】
本発明の実施形態は、磁気記憶装置に関する。
続きを表示(約 1,300 文字)
【背景技術】
【0002】
半導体基板上に複数の磁気抵抗効果素子が集積化された磁気記憶装置が提案されている。
【先行技術文献】
【特許文献】
【0003】
米国特許出願公開第2022/0165470号明細書
米国特許出願公開第2021/0210677号明細書
【発明の概要】
【発明が解決しようとする課題】
【0004】
優れた特性を有する磁気抵抗効果素子を含む磁気記憶装置を提供する。
【課題を解決するための手段】
【0005】
実施形態に係る磁気記憶装置は、固定された磁化方向を有する第1の磁性層と、ビスマス(Bi)、アンチモン(Sb)及びテルル(Te)から選択された少なくとも1つの所定元素を含有する所定元素含有層と、前記第1の磁性層と前記所定元素含有層との間に設けられ、可変の磁化方向を有する第2の磁性層と、前記第1の磁性層と前記第2の磁性層との間に設けられ非磁性層と、を備える磁気記憶装置であって、前記第2の磁性層は、その主面に対して平行な(100)面を有する第1の層部分と、前記所定元素含有層と前記第1の層部分との間に設けられ、その主面に対して平行な(110)面を有する第2の層部分と、を含む。
【図面の簡単な説明】
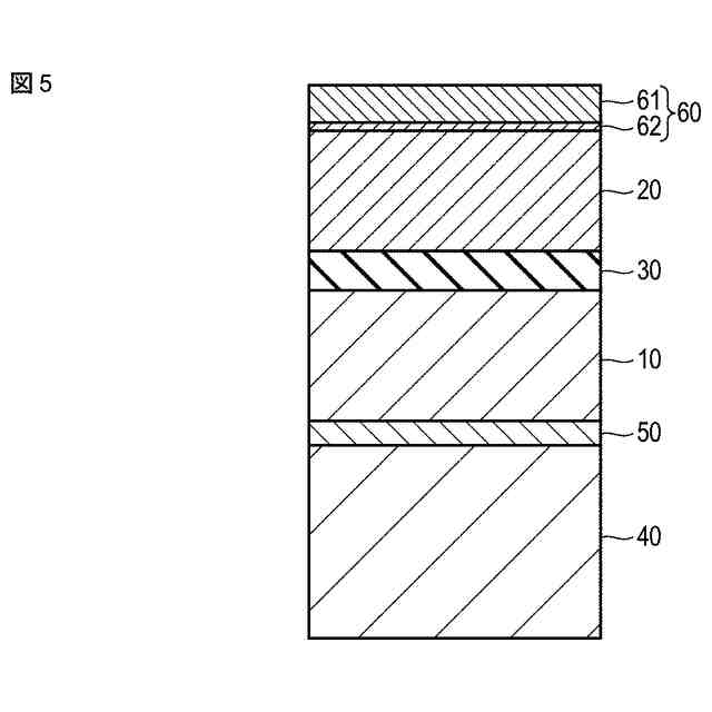
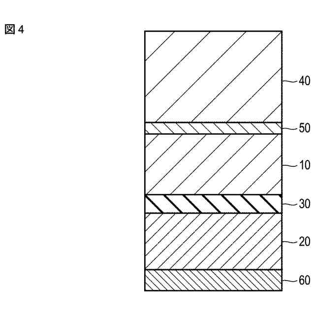
【0006】
第1の実施形態に係る磁気記憶装置の基本的な構成を模式的に示した断面図である。
第1の実施形態に係る磁気記憶装置の変形例の基本的な構成を模式的に示した断面図である。
第2の実施形態に係る磁気記憶装置の基本的な構成を模式的に示した断面図である。
第2の実施形態に係る磁気記憶装置の第1の変形例の基本的な構成を模式的に示した断面図である。
第2の実施形態に係る磁気記憶装置の第2の変形例の基本的な構成を模式的に示した断面図である。
第2の実施形態に係る磁気記憶装置の第3の変形例の基本的な構成を模式的に示した断面図である。
【発明を実施するための形態】
【0007】
以下、図面を参照して実施形態を説明する。
【0008】
(第1の実施形態)
図1は、第1の実施形態に係る磁気記憶装置の基本的な構成を模式的に示した断面図である。
【0009】
図1に示した構造は、半導体基板(図示せず)を含む下部構造(図示せず)上に設けられ、磁気抵抗効果素子として機能する。具体的には、磁気抵抗効果素子は、垂直磁化を有するMTJ(magnetic tunnel junction)素子として機能する。
【0010】
図1に示した本実施形態の磁気記憶装置は、参照層(第1の磁性層)10、記憶層(第2の磁性層)20、トンネルバリア層(非磁性層)30、シフトキャンセリング層40、中間層50及び所定元素含有層60を含んでおり、これらの層10~60が積層された積層構造を有している。
(【0011】以降は省略されています)
この特許をJ-PlatPat(特許庁公式サイト)で参照する
関連特許
キオクシア株式会社
メモリシステム
11日前
個人
半導体装置
6日前
東レ株式会社
太陽電池モジュール
6日前
エイブリック株式会社
半導体装置
12日前
富士電機株式会社
半導体装置
1か月前
富士電機株式会社
半導体装置
15日前
エイブリック株式会社
縦型ホール素子
今日
エイブリック株式会社
縦型ホール素子
今日
富士通株式会社
半導体装置
5日前
ローム株式会社
半導体装置
7日前
株式会社半導体エネルギー研究所
表示装置
今日
三菱電機株式会社
半導体装置
5日前
AGC株式会社
太陽電池モジュール
18日前
日亜化学工業株式会社
発光素子
5日前
日亜化学工業株式会社
発光装置
4日前
日亜化学工業株式会社
発光装置
1か月前
TDK株式会社
圧電素子
5日前
キヤノン株式会社
有機発光素子
25日前
ミツミ電機株式会社
半導体装置
12日前
株式会社半導体エネルギー研究所
半導体装置
1か月前
日亜化学工業株式会社
発光素子
13日前
ローム株式会社
窒化物半導体装置
1か月前
デクセリアルズ株式会社
受光装置
11日前
株式会社東芝
熱電変換装置
13日前
ローム株式会社
半導体装置
13日前
ローム株式会社
窒化物半導体装置
今日
住友電気工業株式会社
半導体装置
25日前
ローム株式会社
TVSダイオード
13日前
ローム株式会社
TVSダイオード
13日前
住友電気工業株式会社
半導体装置
25日前
TDK株式会社
光検知装置
12日前
サンケン電気株式会社
半導体装置
11日前
内山工業株式会社
太陽電池
11日前
株式会社カネカ
太陽電池モジュール
4日前
株式会社カネカ
太陽光発電システム
1か月前
キオクシア株式会社
記憶装置
11日前
続きを見る
他の特許を見る