TOP
|
特許
|
意匠
|
商標
特許ウォッチ
Twitter
他の特許を見る
10個以上の画像は省略されています。
公開番号
2025144816
公報種別
公開特許公報(A)
公開日
2025-10-03
出願番号
2024044676
出願日
2024-03-21
発明の名称
半導体装置
出願人
キオクシア株式会社
代理人
弁理士法人きさらぎ国際特許事務所
主分類
H10B
12/00 20230101AFI20250926BHJP()
要約
【課題】優れたトランジスタ特性を有する半導体装置を提供する。
【解決手段】半導体装置は、基板と、基板に対して第1方向の一方側に並んで設けられた第1領域及び第2領域と、基板に対して第1方向の一方側の、第1領域より遠い位置に設けられた第1絶縁層及び金属酸化物層と、を備える。第1領域は、Siを含む第1半導体層を有する第1トランジスタと、第1絶縁層及び金属酸化物層と第1トランジスタとの間に設けられた第2絶縁層とを含む。第2領域は、酸化物半導体を含む第2半導体層を有する第2トランジスタと、第1絶縁層及び金属酸化物層と第2トランジスタとの間に設けられた第3絶縁層とを含む。金属酸化物層は、Al、Hf、Zr、La、及びYからなる群から選ばれる少なくとも1つの元素と、酸素(O)と、を含む。第2絶縁層及び第3絶縁層は、それぞれSi及び酸素(O)を含む。第3絶縁層の密度は、第2絶縁層の密度よりも高い。
【選択図】図2
特許請求の範囲
【請求項1】
基板と、
前記基板に対して前記基板の表面と交差する第1方向の一方側に設けられた第1領域と、
前記基板に対して前記第1方向の前記一方側に、前記第1方向または前記第1方向と交差する第2方向に前記第1領域と並んで設けられた第2領域と、
前記基板に対して前記第1方向の前記一方側の、前記第1領域より遠い位置に設けられた第1絶縁層及び金属酸化物層と
を備え、
前記第1領域は、
シリコン(Si)を含む第1半導体層を有する第1トランジスタと、
前記第1絶縁層及び前記金属酸化物層と前記第1トランジスタとの間に設けられた第2絶縁層と
を含み、
前記第2領域は、
酸化物半導体を含む第2半導体層を有する第2トランジスタと、
前記第1絶縁層及び前記金属酸化物層と前記第2トランジスタとの間に設けられた第3絶縁層と
を含み、
前記金属酸化物層は、アルミニウム(Al)、ハフニウム(Hf)、ジルコニウム(Zr)、ランタン(La)、及びイットリウム(Y)からなる群から選ばれる少なくとも1つの元素と、酸素(O)と、を含み、
前記第2絶縁層及び前記第3絶縁層は、それぞれシリコン(Si)及び酸素(O)を含み、
前記第3絶縁層の密度は、前記第2絶縁層の密度よりも高い
半導体装置。
続きを表示(約 1,000 文字)
【請求項2】
前記酸化物半導体は、インジウム(In)、ガリウム(Ga)、亜鉛(Zn)、マグネシウム(Mg)、アルミニウム(Al)、カルシウム(Ca)、チタン(Ti)、マンガン(Mn)、カドミウム(Cd)、及び錫(Sn)からなる群から選ばれる少なくとも1つの元素と、亜鉛(Zn)と、酸素(O)と、を含む
請求項1記載の半導体装置。
【請求項3】
前記第1絶縁層は窒素(N)及びシリコン(Si)を含む
請求項1記載の半導体装置。
【請求項4】
前記第2方向に延伸し、前記第2半導体層の一部と対向する第1配線と、
前記第2半導体層と前記第1配線との間に設けられたゲート絶縁膜と、
をさらに備え、
前記第2半導体層は、前記第1方向に延伸する
請求項1記載の半導体装置。
【請求項5】
前記第3絶縁層は、前記第2方向並びに前記第1方向及び前記第2方向と交差する第3方向において、前記第2半導体層の一部を囲む
請求項4記載の半導体装置。
【請求項6】
前記第1方向及び前記第2方向と交差する第3方向に延伸する第2配線をさらに備え、
前記第2配線は、前記第2半導体層に電気的に接続される
請求項4記載の半導体装置。
【請求項7】
前記第1領域及び前記第2領域は、前記第2方向に並び、
前記金属酸化物層は、前記基板に対して前記第1方向の前記一方側の、前記第2領域より遠い位置に設けられる
請求項1記載の半導体装置。
【請求項8】
前記第2絶縁層は前記第1絶縁層と接し、
前記第3絶縁層と前記第1絶縁層の間に前記金属酸化物層が設けられる
請求項7記載の半導体装置。
【請求項9】
前記第1方向から見て、
前記第2絶縁層と前記第1絶縁層の間に前記金属酸化物層が設けられ、
前記第3絶縁層と前記第1絶縁層の間に前記金属酸化物層が設けられる
請求項7記載の半導体装置。
【請求項10】
前記第1領域及び前記第2領域は、前記第1方向に並び、
前記第1領域及び前記第2領域の間に、前記第1絶縁層及び前記金属酸化物層が設けられる
請求項1記載の半導体装置。
(【請求項11】以降は省略されています)
発明の詳細な説明
【技術分野】
【0001】
本実施形態は、半導体装置に関する。
続きを表示(約 2,900 文字)
【背景技術】
【0002】
酸化物半導体層と、酸化物半導体層に対向する第1配線と、酸化物半導体層と第1配線との間に設けられたゲート絶縁膜と、を備える半導体装置が知られている。
【先行技術文献】
【特許文献】
【0003】
特開2019-169490号公報
【発明の概要】
【発明が解決しようとする課題】
【0004】
優れたトランジスタ特性を有する半導体装置を提供する。
【課題を解決するための手段】
【0005】
一の実施形態に係る半導体装置は、基板と、基板に対して基板の表面と交差する第1方向の一方側に設けられた第1領域と、基板に対して第1方向の一方側に、第1方向または第1方向と交差する第2方向に第1領域と並んで設けられた第2領域と、基板に対して第1方向の一方側の、第1領域及び第2領域より遠い位置に設けられた第1絶縁層及び金属酸化物層とを備える。第1領域は、シリコン(Si)を含む第1半導体層を有する第1トランジスタと、第1絶縁層及び金属酸化物層と第1トランジスタとの間に設けられた第2絶縁層とを含む。第2領域は、酸化物半導体を含む第2半導体層を有する第2トランジスタと、第1絶縁層及び金属酸化物層と第2トランジスタとの間に設けられた第3絶縁層とを含む。金属酸化物層は、アルミニウム(Al)、ハフニウム(Hf)、ジルコニウム(Zr)、ランタン(La)、及びイットリウム(Y)からなる群から選ばれる少なくとも1つの元素と、酸素(O)と、を含む。第2絶縁層及び第3絶縁層は、それぞれシリコン(Si)及び酸素(O)を含む。第3絶縁層の密度は、第2絶縁層の密度よりも高い。
【図面の簡単な説明】
【0006】
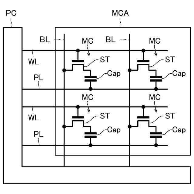
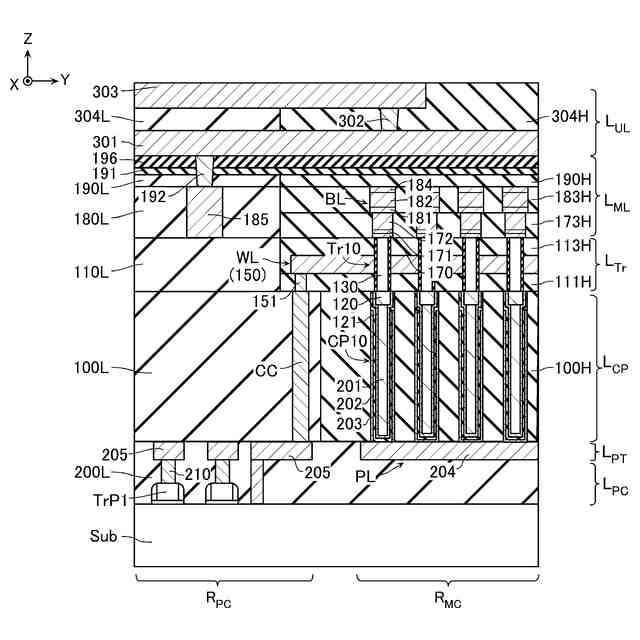
第1実施形態に係る半導体装置の一部の構成を示す模式的な回路図である。
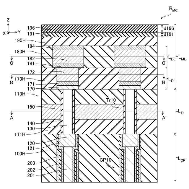
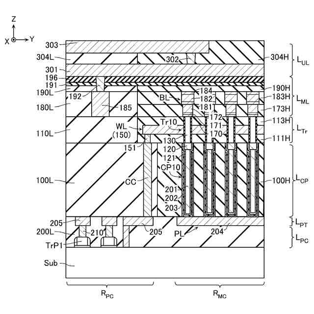
同半導体装置の一部の構成を示す模式的な断面図である。
同半導体装置の一部の構成を示す模式的な断面図である。
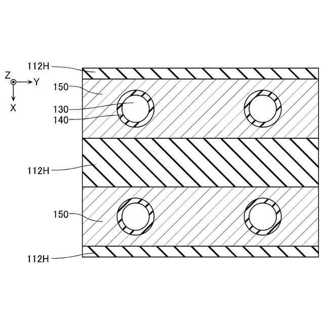
同半導体装置の一部の構成を示す模式的な平面図である。
同半導体装置の一部の構成を示す模式的な平面図である。
同半導体装置の一部の構成を示す模式的な平面図である。
同半導体装置の製造方法について説明するための模式的な断面図である。
同製造方法について説明するための模式的な断面図である。
同製造方法について説明するための模式的な断面図である。
同製造方法について説明するための模式的な断面図である。
同製造方法について説明するための模式的な断面図である。
同製造方法について説明するための模式的な断面図である。
同製造方法について説明するための模式的な断面図である。
同製造方法について説明するための模式的な断面図である。
同製造方法について説明するための模式的な断面図である。
同製造方法について説明するための模式的な断面図である。
同製造方法について説明するための模式的な断面図である。
同製造方法について説明するための模式的な断面図である。
同製造方法について説明するための模式的な断面図である。
同製造方法について説明するための模式的な断面図である。
同製造方法について説明するための模式的な断面図である。
同製造方法について説明するための模式的な断面図である。
同製造方法について説明するための模式的な断面図である。
同製造方法について説明するための模式的な断面図である。
同製造方法について説明するための模式的な断面図である。
同製造方法について説明するための模式的な断面図である。
同製造方法について説明するための模式的な断面図である。
比較例に係る半導体装置について説明するための模式的な断面図である。
第1実施形態に係る半導体装置の効果について説明するための模式的な断面図である。
第1実施形態に係る半導体装置の変形例1の一部の構成を示す模式的な断面図である。
第1実施形態に係る半導体装置の変形例2の一部の構成を示す模式的な断面図である。
第2実施形態に係る半導体装置の一部の構成を示す模式的な断面図である。
同半導体装置の製造方法について説明するための模式的な断面図である。
同製造方法について説明するための模式的な断面図である。
同製造方法について説明するための模式的な断面図である。
同製造方法について説明するための模式的な断面図である。
同製造方法について説明するための模式的な断面図である。
同製造方法について説明するための模式的な断面図である。
第2実施形態に係る半導体装置の効果について説明するための模式的な断面図である。
第3実施形態に係る半導体装置の一部の構成を示す模式的な断面図である。
同半導体装置の効果について説明するための模式的な断面図である。
第4実施形態に係る半導体装置の一部の構成を示す模式的な断面図である。
同半導体装置の効果について説明するための模式的な断面図である。
【発明を実施するための形態】
【0007】
次に、実施形態に係る半導体装置を、図面を参照して詳細に説明する。尚、以下の実施形態はあくまでも一例であり、本発明を限定する意図で示されるものではない。また、以下の図面は模式的なものであり、説明の都合上、一部の構成等が省略される場合がある。また、複数の実施形態について共通する部分には同一の符号を付し、説明を省略する場合がある。
【0008】
また、本明細書において、第1の構成が第2の構成に「電気的に接続されている」と言った場合、第1の構成は第2の構成に直接接続されていても良いし、第1の構成が第2の構成に配線、半導体部材又はトランジスタ等を介して接続されていても良い。例えば、3つのトランジスタを直列に接続した場合には、2つ目のトランジスタがOFF状態であったとしても、1つ目のトランジスタは3つ目のトランジスタに「電気的に接続」されている。
【0009】
また、本明細書においては、基板の上面に対して平行な所定の方向をX方向、基板の上面に対して平行で、X方向と垂直な方向をY方向、基板の上面に対して垂直な方向をZ方向と呼ぶ。
【0010】
また、本明細書においては、所定の面に沿った方向を第1方向、この所定の面に沿って第1方向と交差する方向を第2方向、この所定の面と交差する方向を第3方向と呼ぶことがある。これら第1方向、第2方向及び第3方向は、X方向、Y方向及びZ方向のいずれかと対応していても良いし、対応していなくても良い。
(【0011】以降は省略されています)
この特許をJ-PlatPat(特許庁公式サイト)で参照する
関連特許
キオクシア株式会社
記憶装置
8日前
キオクシア株式会社
記憶装置
2日前
キオクシア株式会社
記憶装置
2日前
キオクシア株式会社
記憶装置
4日前
キオクシア株式会社
記憶装置
今日
キオクシア株式会社
半導体装置
今日
キオクシア株式会社
半導体装置
2日前
キオクシア株式会社
半導体装置
1日前
キオクシア株式会社
半導体装置
1日前
キオクシア株式会社
半導体装置
8日前
キオクシア株式会社
磁気記憶装置
4日前
キオクシア株式会社
通信システム
2日前
キオクシア株式会社
磁気記憶装置
4日前
キオクシア株式会社
磁気記憶装置
1日前
キオクシア株式会社
磁気記憶装置
2日前
キオクシア株式会社
磁気記憶装置
2日前
キオクシア株式会社
基板ユニット
4日前
キオクシア株式会社
半導体記憶装置
今日
キオクシア株式会社
メモリシステム
1日前
キオクシア株式会社
半導体記憶装置
1日前
キオクシア株式会社
半導体記憶装置
4日前
キオクシア株式会社
半導体記憶装置
今日
キオクシア株式会社
有機分子メモリ
今日
キオクシア株式会社
メモリデバイス
7日前
キオクシア株式会社
メモリデバイス
今日
キオクシア株式会社
半導体記憶装置
2日前
キオクシア株式会社
半導体記憶装置
今日
キオクシア株式会社
半導体記憶装置
今日
キオクシア株式会社
半導体記憶装置
2日前
キオクシア株式会社
メモリデバイス
2日前
キオクシア株式会社
半導体記憶装置
今日
キオクシア株式会社
メモリシステム
14日前
キオクシア株式会社
半導体記憶装置
2日前
キオクシア株式会社
半導体記憶装置
4日前
キオクシア株式会社
半導体記憶装置
4日前
キオクシア株式会社
メモリデバイス
今日
続きを見る
他の特許を見る