TOP
|
特許
|
意匠
|
商標
特許ウォッチ
Twitter
他の特許を見る
10個以上の画像は省略されています。
公開番号
2025145323
公報種別
公開特許公報(A)
公開日
2025-10-03
出願番号
2024045434
出願日
2024-03-21
発明の名称
半導体記憶装置
出願人
キオクシア株式会社
代理人
弁理士法人スズエ国際特許事務所
主分類
H10B
43/50 20230101AFI20250926BHJP()
要約
【課題】 集積度を高めることが可能な半導体記憶装置を提供する。
【解決手段】実施形態に係る半導体記憶装置は、複数の導電層21が第1の方向に互いに離間して積層された積層体20を含む構造体と、構造体内を少なくとも積層体の下面の高さレベルに対応する高さレベルまで第1の方向及び第1の方向と交差する第2の方向に延伸する板状構造40と、NANDストリングとして機能し且つ複数の層が外周面側から内側に向かって積層された構造を有する第1のピラー構造と、NANDストリングとして機能せず且つ複数の層が外周面側から内側に向かって積層された構造を有する第2のピラー構造32と、を備え、第2のピラー構造の複数の層の各層の材料は、第1のピラー構造の複数の層の各層の材料とそれぞれ同じであり、板状構造の側面の一部は、第2のピラー構造の側面の一部に整合し、第2のピラー構造の側面の一部に基づく凹部を含んでいる。
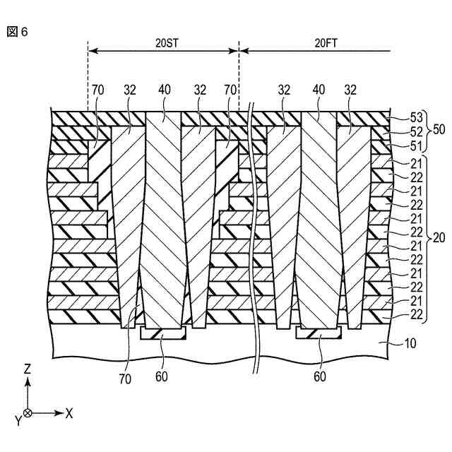
【選択図】図6
特許請求の範囲
【請求項1】
複数の導電層が第1の方向に互いに離間して積層された積層体を含む構造体と、
前記構造体内を少なくとも前記積層体の下面の高さレベルに対応する高さレベルまで前記第1の方向及び前記第1の方向と交差する第2の方向に延伸する板状構造と、
前記積層体内を前記第1の方向に延伸し且つNANDストリングとして機能する第1のピラー構造であって、第1の半導体層を含み且つ前記第1の方向に延伸する複数の層が外周面側から内側に向かって積層された構造を有する第1のピラー構造と、
前記構造体内を前記第1の方向に延伸し且つNANDストリングとして機能しない第2のピラー構造であって、第2の半導体層を含み且つ前記第1の方向に延伸する複数の層が外周面側から内側に向かって積層された構造を有する第2のピラー構造と、
を備える半導体記憶装置であって、
前記第2のピラー構造の中で前記外周面側から内側に向かう前記複数の層の各層の材料は、前記第1のピラー構造の中で前記外周面側から内側に向かう前記複数の層の各層の材料とそれぞれ同じであり、
前記板状構造の側面の一部は、前記第2のピラー構造の側面の一部に整合し、前記第2のピラー構造の側面の前記一部に基づく凹部を含んでいる
ことを特徴とする半導体記憶装置。
続きを表示(約 1,100 文字)
【請求項2】
複数の導電層が第1の方向に互いに離間して積層された積層体を含む構造体と、
前記構造体内を少なくとも前記積層体の下面の高さレベルに対応する高さレベルまで前記第1の方向及び前記第1の方向と交差する第2の方向に延伸する板状構造と、
前記積層体内を前記第1の方向に延伸し且つNANDストリングとして機能する第1のピラー構造であって、第1の半導体層を含み且つ前記第1の方向に延伸する複数の層が外周面側から内側に向かって積層された構造を有する第1のピラー構造と、
前記構造体内を前記第1の方向に延伸し且つNANDストリングとして機能しない第2のピラー構造であって、第2の半導体層を含み且つ前記第1の方向に延伸する複数の層が前記板状構造に対向する外周面側から内側に向かって積層された構造を有する第2のピラー構造と、
を備える半導体記憶装置であって、
前記第2のピラー構造の中で前記外周面側から内側に向かう前記複数の層の各層の材料は、前記第1のピラー構造の中で前記外周面側から内側に向かう前記複数の層の各層の材料とそれぞれ同じであり、
前記第2のピラー構造の側面の一部は、前記板状構造の側面の一部に整合し、前記板状構造の側面の前記一部に基づく平坦面を含んでいる
ことを特徴とする半導体記憶装置。
【請求項3】
前記積層体は、前記複数の導電層の中の複数の第1の導電層が前記第1の方向に積層された第1の積層部分と、前記第1の積層部分の上層側に設けられ且つ前記複数の導電層の中の複数の第2の導電層が前記第1の方向に積層された第2の積層部分とを含み、
前記平坦面は、前記第1の積層部分の上面の高さレベルに対応する高さレベルと前記第1の積層部分の下面の高さレベルに対応する高さレベルとの間の範囲に対応する領域に少なくとも含まれている
ことを特徴とする請求項2に記載の半導体記憶装置。
【請求項4】
前記積層体は、前記第1の方向及び第2の方向と交差する第3の方向に沿って階段状に加工された階段部分と、前記階段部分の最上面から前記第3の方向に平坦状に延伸する平坦部分と含み、
前記第2のピラー構造は、前記平坦部分を前記第1の方向に延伸する
ことを特徴とする請求項1又は2に記載の半導体記憶装置。
【請求項5】
前記積層体は、前記第1の方向及び第2の方向と交差する第3の方向に沿って階段状に加工された階段部分と、前記階段部分の最上面から前記第3の方向に平坦状に延伸する平坦部分と含み、
前記第2のピラー構造は、前記階段部分を前記第1の方向に延伸する
ことを特徴とする請求項1又は2に記載の半導体記憶装置。
発明の詳細な説明
【技術分野】
【0001】
本発明の実施形態は、半導体記憶装置に関する。
続きを表示(約 3,600 文字)
【背景技術】
【0002】
半導体基板上に複数のメモリセルが積層された3次元型のNAND型の不揮発性半導体記憶装置では、集積度を高めることが望まれている。
【先行技術文献】
【特許文献】
【0003】
特開2020-107673号公報
特開2010-192531号公報
米国特許出願公開第2020/0303397号明細書
米国特許出願公開第2015/0194435号明細書
【発明の概要】
【発明が解決しようとする課題】
【0004】
集積度を高めることが可能な半導体記憶装置を提供する。
【課題を解決するための手段】
【0005】
実施形態に係る半導体記憶装置は、複数の導電層が第1の方向に互いに離間して積層された積層体を含む構造体と、前記構造体内を少なくとも前記積層体の下面の高さレベルに対応する高さレベルまで前記第1の方向及び前記第1の方向と交差する第2の方向に延伸する板状構造と、前記積層体内を前記第1の方向に延伸し且つNANDストリングとして機能する第1のピラー構造であって、第1の半導体層を含み且つ前記第1の方向に延伸する複数の層が外周面側から内側に向かって積層された構造を有する第1のピラー構造と、前記構造体内を前記第1の方向に延伸し且つNANDストリングとして機能しない第2のピラー構造であって、第2の半導体層を含み且つ前記第1の方向に延伸する複数の層が外周面側から内側に向かって積層された構造を有する第2のピラー構造と、を備える半導体記憶装置であって、前記第2のピラー構造の中で前記外周面側から内側に向かう前記複数の層の各層の材料は、前記第1のピラー構造の中で前記外周面側から内側に向かう前記複数の層の各層の材料とそれぞれ同じであり、前記板状構造の側面の一部は、前記第2のピラー構造の側面の一部に整合し、前記第2のピラー構造の側面の前記一部に基づく凹部を含んでいる。
【図面の簡単な説明】
【0006】
第1の実施形態に係る半導体記憶装置の全体的な構成を模式的に示した図である。
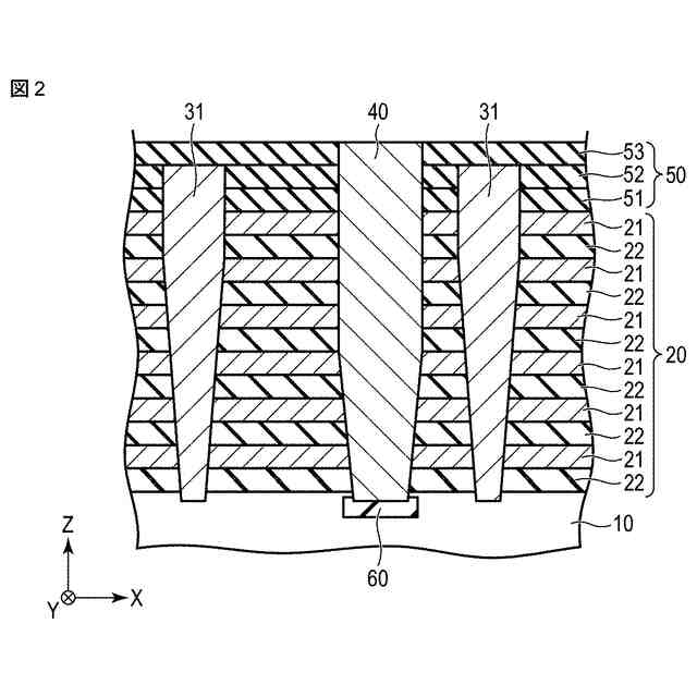
第1の実施形態に係る半導体記憶装置のメモリ領域の構成の一部を模式的に示した断面図である。
第1の実施形態に係る半導体記憶装置のメモリ領域の構成の一部を模式的に示した平面パターン図である。
第1の実施形態に係る半導体記憶装置のメモリセル部の詳細な構成を模式的に示した断面図である。
第1の実施形態に係る半導体記憶装置のメモリセル部の詳細な構成を模式的に示した断面図である。
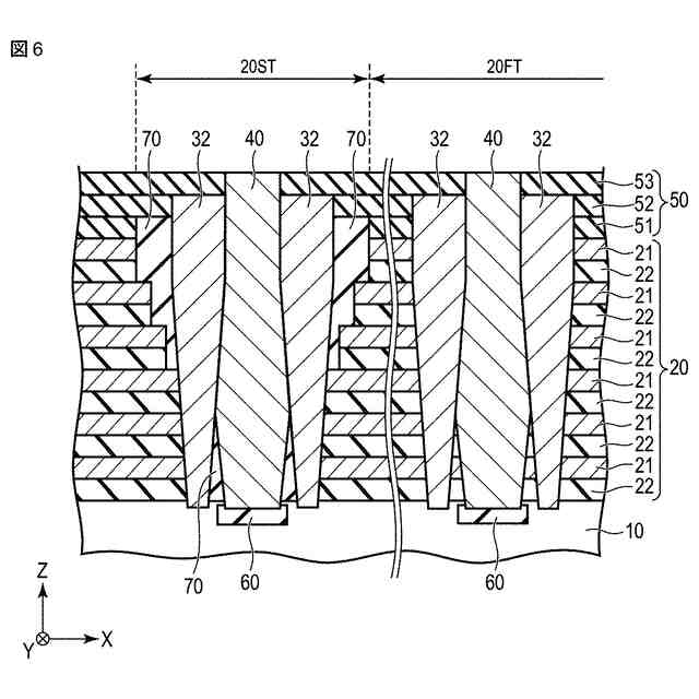
第1の実施形態に係る半導体記憶装置の階段領域の構成の一部を模式的に示した断面図である。
第1の実施形態に係る半導体記憶装置の階段領域の構成の一部を模式的に示した平面パターン図である。
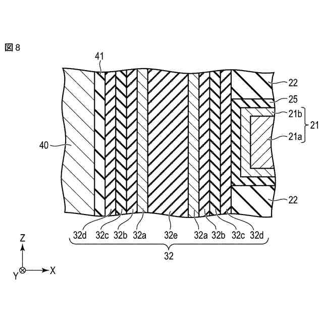
第1の実施形態に係る半導体記憶装置の積層体の平坦部分におけるピラー構造等の詳細な構成を模式的に示した断面図である。
第1の実施形態に係る半導体記憶装置の積層体の平坦部分におけるピラー構造等の詳細な構成を模式的に示した断面図である。
第1の実施形態に係る半導体記憶装置の製造方法の一部を模式的に示した断面図である。
第1の実施形態に係る半導体記憶装置の製造方法の一部を模式的に示した断面図である。
第1の実施形態に係る半導体記憶装置の製造方法の一部を模式的に示した断面図である。
第1の実施形態に係る半導体記憶装置の製造方法の一部を模式的に示した断面図である。
第1の実施形態に係る半導体記憶装置の製造方法の一部を模式的に示した断面図である。
第1の実施形態に係る半導体記憶装置の製造方法の一部を模式的に示した断面図である。
第1の実施形態に係る半導体記憶装置の製造方法の一部を模式的に示した断面図である。
第1の実施形態に係る半導体記憶装置の製造方法の一部を模式的に示した断面図である。
第2の実施形態に係る半導体記憶装置のメモリ領域の構成の一部を模式的に示した断面図である。
第2の実施形態に係る半導体記憶装置の階段領域の構成の一部を模式的に示した断面図である。
第2の実施形態に係る半導体記憶装置の製造方法の一部を模式的に示した断面図である。
第2の実施形態に係る半導体記憶装置の製造方法の一部を模式的に示した断面図である。
第2の実施形態に係る半導体記憶装置の製造方法の一部を模式的に示した断面図である。
第2の実施形態に係る半導体記憶装置の製造方法の一部を模式的に示した断面図である。
第2の実施形態に係る半導体記憶装置の製造方法の一部を模式的に示した断面図である。
第2の実施形態に係る半導体記憶装置の製造方法の一部を模式的に示した断面図である。
第2の実施形態に係る半導体記憶装置の製造方法の一部を模式的に示した断面図である。
第2の実施形態に係る半導体記憶装置の製造方法の一部を模式的に示した断面図である。
第2の実施形態に係る半導体記憶装置の製造方法の一部を模式的に示した断面図である。
第2の実施形態に係る半導体記憶装置の製造方法の一部を模式的に示した断面図である。
第2の実施形態に係る半導体記憶装置の製造方法の一部を模式的に示した断面図である。
第2の実施形態に係る半導体記憶装置の製造方法の一部を模式的に示した断面図である。
第2の実施形態に係る半導体記憶装置の製造方法の一部を模式的に示した断面図である。
第2の実施形態に係る半導体記憶装置の製造方法の一部を模式的に示した断面図である。
第3の実施形態に係る半導体記憶装置のメモリ領域の構成の一部を模式的に示した断面図である。
第3の実施形態に係る半導体記憶装置の階段領域の構成の一部を模式的に示した断面図である。
第3の実施形態に係る半導体記憶装置の階段領域の構成の一部を模式的に示した平面パターン図である。
第3の実施形態に係る半導体記憶装置の積層体の平坦部分におけるピラー構造部分等の詳細な構成を模式的に示した断面図である。
第3の実施形態に係る半導体記憶装置の積層体の平坦部分におけるピラー構造部分等の詳細な構成を模式的に示した断面図である。
第3の実施形態に係る半導体記憶装置の製造方法の一部を模式的に示した断面図である。
第3の実施形態に係る半導体記憶装置の製造方法の一部を模式的に示した断面図である。
第3の実施形態に係る半導体記憶装置の製造方法の一部を模式的に示した断面図である。
第3の実施形態に係る半導体記憶装置の製造方法の一部を模式的に示した断面図である。
第3の実施形態に係る半導体記憶装置の製造方法の一部を模式的に示した断面図である。
第3の実施形態に係る半導体記憶装置の製造方法の一部を模式的に示した断面図である。
第3の実施形態に係る半導体記憶装置の製造方法の一部を模式的に示した断面図である。
第3の実施形態に係る半導体記憶装置の製造方法の一部を模式的に示した断面図である。
第3の実施形態に係る半導体記憶装置の製造方法の一部を模式的に示した断面図である。
第3の実施形態に係る半導体記憶装置の製造方法の一部を模式的に示した断面図である。
第3の実施形態に係る半導体記憶装置の製造方法の一部を模式的に示した断面図である。
第3の実施形態に係る半導体記憶装置の製造方法の一部を模式的に示した断面図である。
【発明を実施するための形態】
【0007】
以下、図面を参照して実施形態を説明する。
【0008】
(第1の実施形態)
図1は、第1の実施形態に係る半導体記憶装置(NAND型の不揮発性半導体記憶装置)の全体的な構成を模式的に示した図である。
【0009】
本実施形態の半導体記憶装置は、Y方向に並ぶメモリ領域100及び階段領域200を含んでいる。メモリ領域100及び階段領域200には、後述する積層体等が設けられている。
【0010】
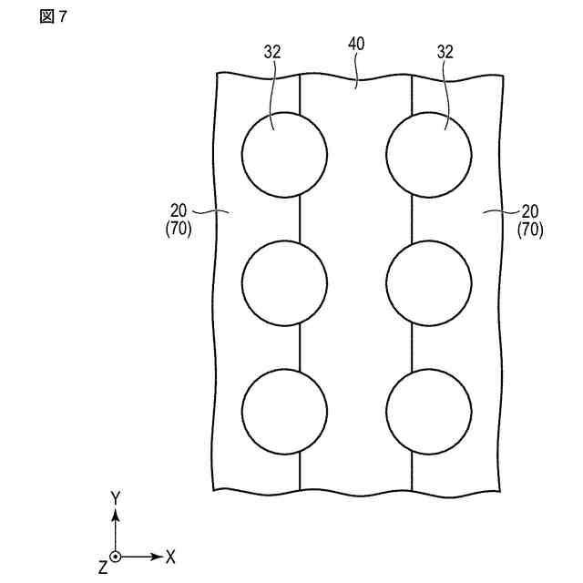
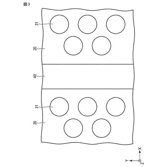
メモリ領域100は、それぞれが積層体内をY方向及びZ方向に延伸する複数の板状構造40によって、X方向で複数のブロックに区画されている。各ブロックには、後述するように、それぞれが積層体内をZ方向に延伸する複数のピラー構造が設けられている。
(【0011】以降は省略されています)
この特許をJ-PlatPat(特許庁公式サイト)で参照する
関連特許
キオクシア株式会社
記憶装置
2日前
キオクシア株式会社
記憶装置
2日前
キオクシア株式会社
記憶装置
8日前
キオクシア株式会社
記憶装置
今日
キオクシア株式会社
記憶装置
4日前
キオクシア株式会社
半導体装置
2日前
キオクシア株式会社
半導体装置
1日前
キオクシア株式会社
半導体装置
1日前
キオクシア株式会社
半導体装置
8日前
キオクシア株式会社
半導体装置
今日
キオクシア株式会社
磁気メモリ
1か月前
キオクシア株式会社
情報処理装置
16日前
キオクシア株式会社
通信システム
2日前
キオクシア株式会社
磁気記憶装置
2日前
キオクシア株式会社
磁気記憶装置
2日前
キオクシア株式会社
基板ユニット
4日前
キオクシア株式会社
磁気記憶装置
4日前
キオクシア株式会社
磁気記憶装置
4日前
キオクシア株式会社
磁気記憶装置
1日前
キオクシア株式会社
半導体記憶装置
16日前
キオクシア株式会社
半導体記憶装置
1日前
キオクシア株式会社
メモリデバイス
16日前
キオクシア株式会社
メモリシステム
1日前
キオクシア株式会社
半導体記憶装置
15日前
キオクシア株式会社
半導体記憶装置
14日前
キオクシア株式会社
半導体記憶装置
2日前
キオクシア株式会社
メモリシステム
14日前
キオクシア株式会社
半導体記憶装置
2日前
キオクシア株式会社
メモリデバイス
2日前
キオクシア株式会社
半導体記憶装置
4日前
キオクシア株式会社
半導体記憶装置
14日前
キオクシア株式会社
半導体記憶装置
2日前
キオクシア株式会社
メモリデバイス
7日前
キオクシア株式会社
半導体記憶装置
4日前
キオクシア株式会社
半導体記憶装置
4日前
キオクシア株式会社
半導体記憶装置
4日前
続きを見る
他の特許を見る