TOP
|
特許
|
意匠
|
商標
特許ウォッチ
Twitter
他の特許を見る
10個以上の画像は省略されています。
公開番号
2025139207
公報種別
公開特許公報(A)
公開日
2025-09-26
出願番号
2024038018
出願日
2024-03-12
発明の名称
メモリデバイス
出願人
キオクシア株式会社
代理人
弁理士法人鈴榮特許綜合事務所
主分類
H10B
43/50 20230101AFI20250918BHJP()
要約
【課題】メモリデバイスの製造コストを抑制する。
【解決手段】実施形態のメモリデバイスは、基板と、複数の第1導電体層22と、複数のメモリピラーMPと、複数の第1ピラーHRと、複数の第2ピラーDMPとを含む。基板は、第1方向に順に並んだ第1領域MA、第2領域BA、及び第3領域HAを含む。第1導電体層は基板の上方で第2方向に並んでいる。複数のメモリピラーは第1領域に設けられる。複数のメモリピラーの各々が複数の第1導電体層と交差した部分を有し、且つ積層膜42を含む。複数の第1ピラーは第2領域及び第3領域に設けられる。複数の第1ピラーの各々は、複数の第1導電体層のうちの少なくとも1部と交差した部分を有し、且つメモリピラーと異なる構成である。複数の第2ピラーは第2領域に設けられる。複数の第2ピラーの各々は、複数の第1導電体層のうち少なくとも1つの第1導電体層と交差した部分を有し、且つ積層膜を含む。
【選択図】図9
特許請求の範囲
【請求項1】
第1方向に順に並んだ第1領域、第2領域、及び第3領域を含む基板と、
前記基板の上方で前記第1方向と交差する第2方向に並んだ複数の第1導電体層と、
前記第1領域に設けられ、各々が前記複数の第1導電体層と交差した部分を有し、且つ積層膜を含む複数のメモリピラーと、
前記第2領域及び前記第3領域に設けられ、各々が前記複数の第1導電体層のうちの少なくとも1部と交差した部分を有し、且つ前記メモリピラーと異なる構成である複数の第1ピラーと、
前記第2領域に設けられ、各々が前記複数の第1導電体層のうち少なくとも1つの第1導電体層と交差した部分を有し、且つ前記積層膜を含む複数の第2ピラーと、
を備える、メモリデバイス。
続きを表示(約 330 文字)
【請求項2】
前記第2領域において、前記複数の第2ピラーの各々の少なくとも一部が、前記複数の第1ピラーのいずれかと前記第2方向に重なっている、
請求項1に記載のメモリデバイス。
【請求項3】
前記複数の第2ピラーの各々は、前記複数の第1導電体層から離れている、
請求項1に記載のメモリデバイス。
【請求項4】
前記複数の第2ピラーの少なくとも1つの第2ピラーは、前記複数のメモリピラーよりも前記第2方向に短い、
請求項1に記載のメモリデバイス。
【請求項5】
前記複数の第1ピラーは、酸素とシリコンとを含む第1絶縁部材からなる、
請求項1に記載のメモリデバイス。
発明の詳細な説明
【技術分野】
【0001】
実施形態は、メモリデバイスに関する。
続きを表示(約 3,700 文字)
【背景技術】
【0002】
データを不揮発に記憶することが可能なNAND型フラッシュメモリが知られている。
【先行技術文献】
【特許文献】
【0003】
特開2023-090170号公報
【発明の概要】
【発明が解決しようとする課題】
【0004】
メモリデバイスの製造コストを抑制する。
【課題を解決するための手段】
【0005】
実施形態のメモリデバイスは、基板と、複数の第1導電体層と、複数のメモリピラーと、複数の第1ピラーと、複数の第2ピラーとを含む。基板は、第1方向に順に並んだ第1領域、第2領域、及び第3領域を含む。第1導電体層は、基板の上方で第1方向と交差する第2方向に並んでいる。複数のメモリピラーMPは、第1領域に設けられる。複数のメモリピラーの各々が複数の第1導電体層と交差した部分を有し、且つ積層膜を含む。複数の第1ピラーは、第2領域及び第3領域に設けられる。複数の第1ピラーの各々は、複数の第1導電体層のうちの少なくとも1部と交差した部分を有し、且つメモリピラーと異なる構成である。複数の第2ピラーは、第2領域に設けられる。複数の第2ピラーの各々は、複数の第1導電体層のうち少なくとも1つの第1導電体層と交差した部分を有し、且つ積層膜を含む。
【図面の簡単な説明】
【0006】
第1実施形態に係るメモリデバイスを備えるメモリシステムの全体構成の一例を示すブロック図。
第1実施形態に係るメモリデバイスが備えるメモリセルアレイの回路構成の一例を示す回路図。
第1実施形態に係るメモリデバイスの外観の一例を示す斜視図。
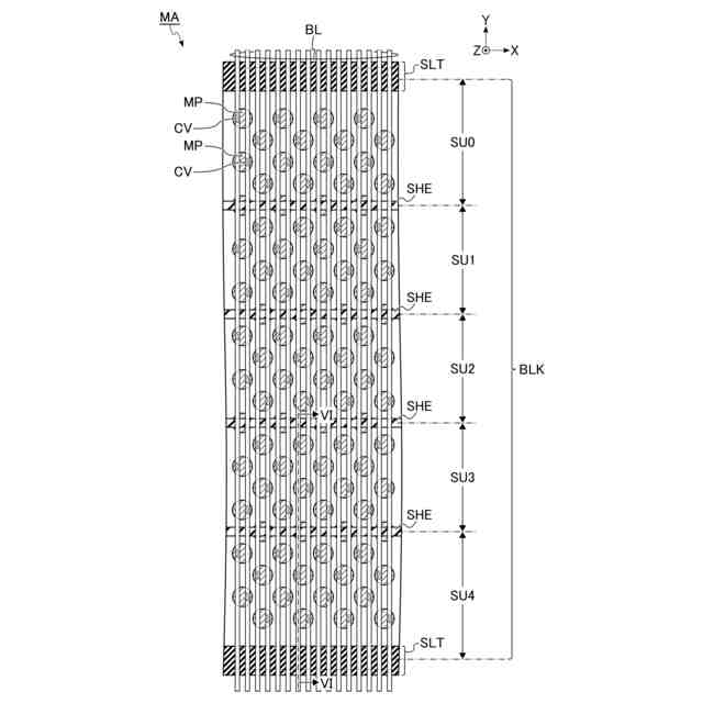
第1実施形態に係るメモリデバイスが備えるメモリセルアレイの平面レイアウトの一例を示す平面図。
第1実施形態に係るメモリデバイスが備えるメモリセルアレイのメモリ領域における平面レイアウトの一例を示す平面図。
第1実施形態に係るメモリデバイスが備えるメモリセルアレイのメモリ領域における断面構造の一例を示す、図5のVI-VI線に沿った断面図。
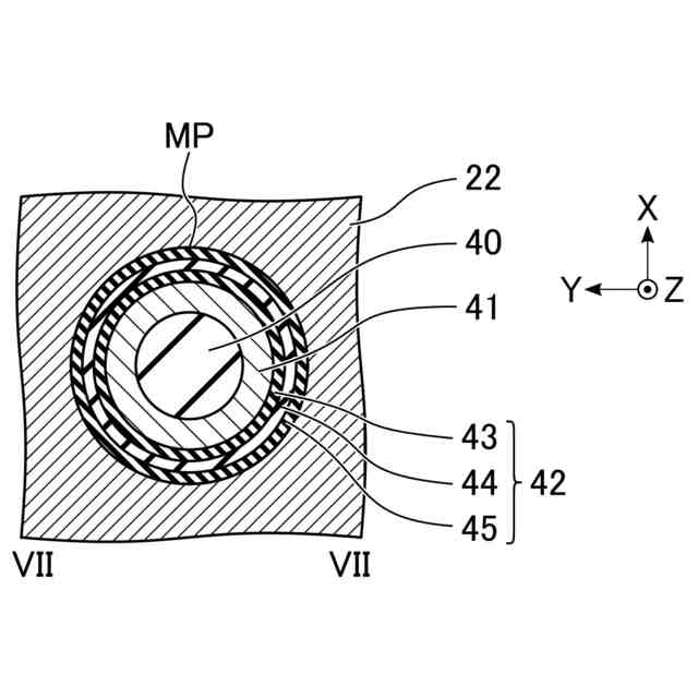
第1実施形態に係るメモリデバイスが備えるメモリピラーの断面構造の一例を示す、図6のVII-VII線に沿った断面図。
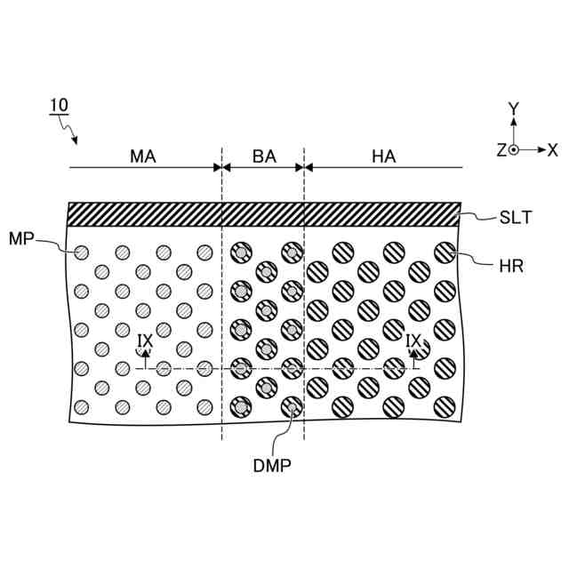
第1実施形態に係るメモリデバイスが備えるメモリセルアレイの境界領域の近傍における平面レイアウトの一例を示す平面図。
第1実施形態に係るメモリデバイスが備えるメモリセルアレイの境界領域の近傍における断面構造の一例を示す、図8のIX-IX線に沿った断面図。
第1実施形態に係るメモリデバイスの断面構造の一例を示す断面図。
第1実施形態に係るメモリデバイスが備えるメモリセルアレイの製造過程における平面レイアウトの一例を示す平面図。
第1実施形態に係るメモリデバイスが備えるメモリセルアレイの製造過程における断面構造の一例を示す、図11のXII-XII線に沿った断面図。
第1実施形態に係るメモリデバイスが備えるメモリセルアレイの製造過程における平面レイアウトの一例を示す平面図。
第1実施形態に係るメモリデバイスが備えるメモリセルアレイの製造過程における断面構造の一例を示す、図13のXIV-XIV線に沿った断面図。
第1実施形態に係るメモリデバイスが備えるメモリセルアレイの製造過程における平面レイアウトの一例を示す平面図。
第1実施形態に係るメモリデバイスが備えるメモリセルアレイの製造過程における断面構造の一例を示す、図15のXVI-XVI線に沿った断面図。
第1実施形態に係るメモリデバイスが備えるメモリセルアレイの製造過程における平面レイアウトの一例を示す平面図。
第1実施形態に係るメモリデバイスが備えるメモリセルアレイの製造過程における断面構造の一例を示す、図17のXVIII-XVIII線に沿った断面図。
第1実施形態に係るメモリデバイスが備えるメモリセルアレイの製造過程における平面レイアウトの一例を示す平面図。
第1実施形態に係るメモリデバイスが備えるメモリセルアレイの製造過程における断面構造の一例を示す、図19のXX-XX線に沿った断面図。
第1比較例に係るメモリセルアレイの平面レイアウトの一例を示す平面図。
第1比較例に係るメモリセルアレイの断面構造の一例を示す、図21のXXII-XXII線に沿った断面図。
第2比較例に係るメモリセルアレイの平面レイアウトの一例を示す平面図。
第2比較例に係るメモリセルアレイの断面構造の一例を示す、図23のXXIV-XXIV線に沿った断面図。
第2実施形態に係るメモリデバイスが備えるメモリセルアレイの断面構造の一例を示す断面図。
第2実施形態に係るメモリデバイスが備えるメモリセルアレイの境界領域の近傍における断面構造の一例を示す断面図。
第2実施形態に係るメモリデバイスが備えるメモリセルアレイの製造過程における断面構造の一例を示す断面図。
第2実施形態に係るメモリデバイスが備えるメモリセルアレイの製造過程における断面構造の一例を示す断面図。
第2実施形態に係るメモリデバイスが備えるメモリセルアレイの製造過程における断面構造の一例を示す断面図。
第2実施形態に係るメモリデバイスが備えるメモリセルアレイの製造過程における断面構造の一例を示す断面図。
第2実施形態に係るメモリデバイスが備えるメモリセルアレイの製造過程における断面構造の一例を示す断面図。
第2実施形態に係るメモリデバイスが備えるメモリセルアレイの製造過程における断面構造の一例を示す断面図。
第2実施形態に係るメモリデバイスが備えるメモリセルアレイの製造過程における断面構造の一例を示す断面図。
第1変形例に係るメモリセルアレイの平面レイアウトの一例を示す平面図。
第1変形例に係るメモリセルアレイの断面構造の一例を示す、図34のXXXV-XXXV線に沿った断面図。
第2変形例に係るメモリセルアレイの平面レイアウトの一例を示す平面図。
第2変形例に係るメモリセルアレイの断面構造の一例を示す、図36のXXXVII-XXXVII線に沿った断面図。
対向配置される2つの接合パッドの近傍の詳細な断面構造の一例を示す断面図。
第2実施形態に係るメモリデバイスが備えるメモリピラーが有する第1階層及び第2階層の境界部分の詳細な断面構造の一例を示す断面図。
第3変形例に係るメモリセルアレイの断面構造の一例を示す断面図。
第4変形例に係るメモリデバイスの断面構造の一例を示す断面図。
【発明を実施するための形態】
【0007】
以下に、各実施形態について図面を参照して説明する。各実施形態は、発明の技術的思想を具体化するための装置や方法を例示している。図面は、模式的又は概念的なものである。各図面の寸法や比率などは、必ずしも現実のものと同一とは限らない。構成の図示は、適宜省略されている。平面図に付加されたハッチングは、構成要素の素材や特性とは必ずしも関連していない。本明細書において、略同一の機能及び構成を有する構成要素には、同一の符号が付加されている。参照符号に付加された数字や文字などは、同じ参照符号により参照され、且つ類似した要素同士を区別するために使用される。
【0008】
<1>第1実施形態
第1実施形態に係るメモリデバイス1は、メモリセルが3次元に積層され、2枚の半導体基板を貼り合わせる製造方法が利用された構造を有する。そして、端部のメモリホールの開口をアシストするためのパターンと、引出領域において積層配線の構造を維持するためのパターンとが、境界領域において重なるように配置される。以下に、第1実施形態に係るメモリデバイス1の詳細について説明する。
【0009】
<1-1>構成
まず、第1実施形態に係るメモリデバイス1の構成について説明する。
【0010】
<1-1-1>メモリデバイス1の全体構成
図1は、第1実施形態に係るメモリデバイス1を備えるメモリシステムの全体構成の一例を示すブロック図である。図1に示すように、メモリデバイス1は、外部のメモリコントローラ2によって制御される。メモリデバイス1は、例えば、データを不揮発に記憶することが可能なNAND型フラッシュメモリである。メモリデバイス1は、例えば、メモリセルアレイ10、入出力回路11、ロジックコントローラ12、レジスタ回路13、シーケンサ14、ドライバ回路15、ロウデコーダモジュール16、及びセンスアンプモジュール17を含む。
(【0011】以降は省略されています)
この特許をJ-PlatPat(特許庁公式サイト)で参照する
関連特許
キオクシア株式会社
記憶装置
10日前
キオクシア株式会社
記憶装置
6日前
キオクシア株式会社
記憶装置
4日前
キオクシア株式会社
記憶装置
2日前
キオクシア株式会社
記憶装置
4日前
キオクシア株式会社
半導体装置
3日前
キオクシア株式会社
半導体装置
2日前
キオクシア株式会社
半導体装置
3日前
キオクシア株式会社
半導体装置
4日前
キオクシア株式会社
半導体装置
10日前
キオクシア株式会社
基板ユニット
6日前
キオクシア株式会社
磁気記憶装置
4日前
キオクシア株式会社
通信システム
4日前
キオクシア株式会社
磁気記憶装置
6日前
キオクシア株式会社
磁気記憶装置
4日前
キオクシア株式会社
磁気記憶装置
6日前
キオクシア株式会社
情報処理装置
18日前
キオクシア株式会社
磁気記憶装置
3日前
キオクシア株式会社
半導体記憶装置
4日前
キオクシア株式会社
半導体記憶装置
4日前
キオクシア株式会社
半導体記憶装置
3日前
キオクシア株式会社
半導体記憶装置
4日前
キオクシア株式会社
メモリシステム
26日前
キオクシア株式会社
半導体記憶装置
6日前
キオクシア株式会社
半導体記憶装置
6日前
キオクシア株式会社
半導体記憶装置
6日前
キオクシア株式会社
半導体記憶装置
3日前
キオクシア株式会社
半導体記憶装置
6日前
キオクシア株式会社
メモリデバイス
9日前
キオクシア株式会社
半導体記憶装置
16日前
キオクシア株式会社
半導体記憶装置
16日前
キオクシア株式会社
メモリシステム
16日前
キオクシア株式会社
半導体記憶装置
17日前
キオクシア株式会社
メモリデバイス
18日前
キオクシア株式会社
半導体記憶装置
18日前
キオクシア株式会社
半導体記憶装置
26日前
続きを見る
他の特許を見る