TOP
|
特許
|
意匠
|
商標
特許ウォッチ
Twitter
他の特許を見る
10個以上の画像は省略されています。
公開番号
2025144235
公報種別
公開特許公報(A)
公開日
2025-10-02
出願番号
2024043914
出願日
2024-03-19
発明の名称
半導体記憶装置
出願人
キオクシア株式会社
代理人
弁理士法人鈴榮特許綜合事務所
主分類
H10B
43/50 20230101AFI20250925BHJP()
要約
【課題】チップ面積の増加を抑制する。
【解決手段】実施形態によれば、半導体記憶装置は、複数の絶縁層と複数の配線層34とが交互に積層された第1積層体と、第1領域及び第2領域において第1積層体を通過する複数のメモリピラーと、第3領域に設けられた複数のコンタクトプラグCCと、第3領域において複数の配線層の一部を分断する第1部材SLTeとを含む。第1配線層は、第1部分と、第2部分と、接続部分と、第1部分と第2部分との間に設けられ、接続部分に接続され、第1部材により、一部が分断された第3部分とを含む。第3部分に設けられた第1テラスと第2配線層の第3部分に設けられた第2テラスは、第3方向に並んで配置される。
【選択図】図14
特許請求の範囲
【請求項1】
複数の絶縁層と第1配線層及び前記第1配線層の上方に設けられた第2配線層を含む複数の配線層とが第1方向に1層ずつ交互に積層された第1積層体と、
前記第1方向に延伸し、第1領域及び第2領域において各々が前記第1積層体を通過する複数のメモリピラーと、
前記第1方向に延伸し、前記第1方向と交差する第2方向における前記第1領域と前記第2領域との間に位置する第3領域に設けられ、前記複数の配線層にそれぞれ含まれる複数のテラスにそれぞれ接続された複数のコンタクトプラグと、
前記第2方向に延伸し、前記第3領域において前記複数の配線層の各々の一部を前記第1方向及び前記第2方向と交差する第3方向に分断し、前記第2方向に複数に分断される第1部材と
を備え、
前記第1配線層及び前記第2配線層の各々は、
少なくとも一部が前記第1領域に含まれる第1部分と、
少なくとも一部が前記第2領域に含まれる第2部分と、
前記第1部分と前記第2部分とを接続し、前記第2方向に延伸する接続部分と、
前記第2方向における前記第1部分と前記第2部分との間に設けられ、前記第3方向において前記接続部分に接続された第3部分と
を含み、
前記第1配線層に含まれる前記第3部分の一部が、前記第1部材により前記第3方向に分断され、
前記複数のテラスは、前記第1配線層の前記第3部分に設けられた第1テラス及び前記第2配線層の前記第3部分に設けられた第2テラスを含み、
前記第1テラス及び前記第2テラスは、前記第3方向に並んで配置される、
半導体記憶装置。
続きを表示(約 710 文字)
【請求項2】
前記第1積層体は、前記第3領域において前記第1方向に突出した突出部を含み、
前記第1配線層の前記第3部分及び前記第2配線層の前記第3部分は、前記突出部に含まれる、
請求項1に記載の半導体記憶装置。
【請求項3】
前記第1部材が分断された分断部分が前記突出部に設けられる、
請求項2に記載の半導体記憶装置。
【請求項4】
前記第3方向における前記第1テラスと前記第1配線層の前記接続部分との間で、前記第1部材が前記第2方向に延伸する、
請求項1に記載の半導体記憶装置。
【請求項5】
複数の絶縁層と複数の配線層とが第1方向に1層ずつ交互に積層された第1積層体と、
前記第1方向に延伸し、第1領域及び第2領域において各々が前記第1積層体を通過する複数のメモリピラーと、
前記第1方向に延伸し、前記第1方向と交差する第2方向における前記第1領域と前記第2領域との間に位置する第3領域に設けられ、前記複数の配線層にそれぞれ接続された複数のコンタクトプラグと、
前記第2方向に延伸し、前記第1領域及び前記第2領域において前記複数の配線層の各々を前記第1方向及び前記第2方向と交差する第3方向に分断し、前記第3領域において前記複数の配線層の各々の一部を前記第3方向に分断し、前記第2方向に複数に分断される第1部材と
を備え、
前記第1積層体は、前記第3領域において前記第1方向に突出した突出部を含み、
前記突出部に前記第1部材が分断された分断部分が設けられる、
半導体記憶装置。
発明の詳細な説明
【技術分野】
【0001】
本発明の実施形態は、半導体記憶装置に関する。
続きを表示(約 2,500 文字)
【背景技術】
【0002】
半導体記憶装置の1つとして、NAND型フラッシュメモリが知られている。
【先行技術文献】
【特許文献】
【0003】
特開2023-4446号公報
米国特許公開公報第2018/0076211号明細書
【発明の概要】
【発明が解決しようとする課題】
【0004】
本発明の一実施形態では、チップ面積の増加を抑制できる半導体記憶装置が提供される。
【課題を解決するための手段】
【0005】
実施形態に係る半導体記憶装置は、複数の絶縁層と第1配線層及び第1配線層の上方に設けられた第2配線層を含む複数の配線層とが第1方向に1層ずつ交互に積層された第1積層体と、第1方向に延伸し、第1領域及び第2領域において各々が第1積層体を通過する複数のメモリピラーと、第1方向に延伸し、第1方向と交差する第2方向における第1領域と第2領域との間に位置する第3領域に設けられ、複数の配線層にそれぞれ含まれる複数のテラスにそれぞれ接続された複数のコンタクトプラグと、第2方向に延伸し、第3領域において複数の配線層の各々の一部を第1方向及び第2方向と交差する第3方向に分断し、第2方向に複数に分断される第1部材とを含む。第1配線層及び第2配線層の各々は、少なくとも一部が第1領域に含まれる第1部分と、少なくとも一部が第2領域に含まれる第2部分と、第1部分と第2部分とを接続し、第2方向に延伸する接続部分と、第2方向における第1部分と第2部分との間に設けられ、第3方向において接続部分に接続された第3部分とを含む。第1配線層に含まれる第3部分の一部が、第1部材により第3方向に分断される。複数のテラスは、第1配線層の第3部分に設けられた第1テラス及び第2配線層の第3部分に設けられた第2テラスを含む。第1テラス及び第2テラスは、第3方向に並んで配置される。
【図面の簡単な説明】
【0006】
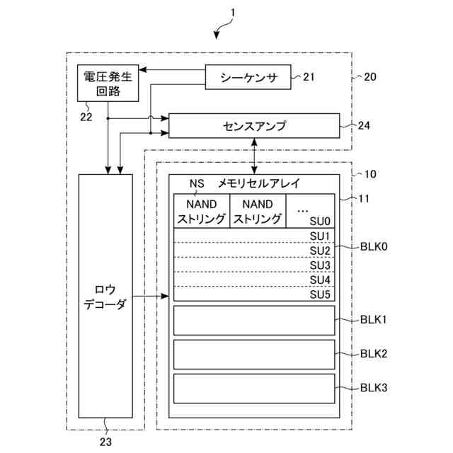
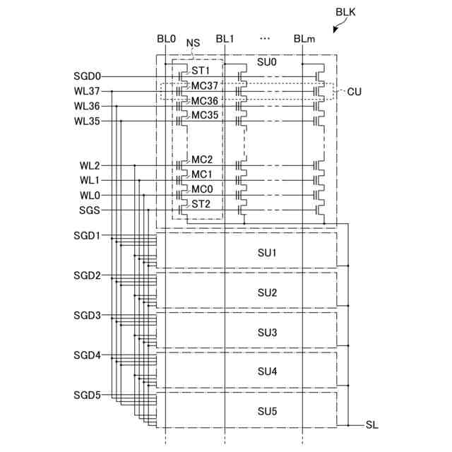
一実施形態に係る半導体記憶装置の全体構成を示すブロック図。
一実施形態に係る半導体記憶装置の備えるメモリセルアレイの回路図。
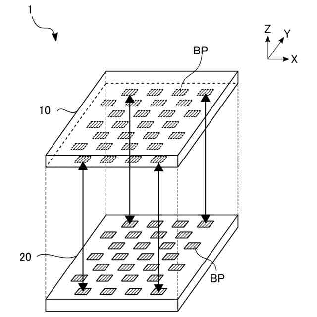
一実施形態に係る半導体記憶装置の貼合構造の概要を示す斜視図。
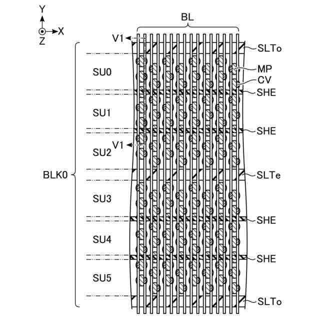
一実施形態に係る半導体記憶装置の備えるメモリセルアレイの平面図。
図4の領域ERを拡大した平面図。
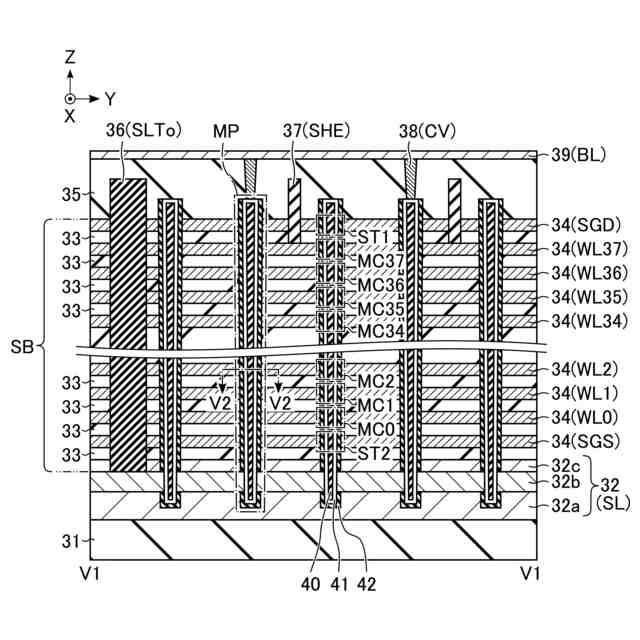
図5に示すV1-V1線に沿ったメモリ領域MAの断面図。
図6のV2-V2線に沿った断面図。
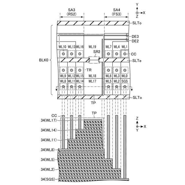
一実施形態に係る半導体記憶装置の備える引出領域、並びにその近傍のメモリ領域の平面図。
一実施形態に係る半導体記憶装置の備えるコンタクト領域におけるテラスの配置の一例を示す概念図。
図8のV3-V3線に沿った断面図。
図8のV4-V4線に沿った断面図。
図8のV5-V5線に沿った断面図。
図11及び図12のV6-V6線に沿ったXY平面の断面図。
一実施形態に係る半導体記憶装置の備える突出部近傍の平面及び断面を示す図。
一実施形態に係る半導体記憶装置の備える引出領域の製造工程を示す引出領域及びその近傍領域の平面図。
図15のV3-V3線に沿った断面図。
図15のV4-V4線に沿った断面図。
一実施形態に係る半導体記憶装置の備える引出領域の製造工程を示す引出領域及びその近傍領域の平面図。
図18のV4-V4線に沿った断面図。
一実施形態に係る半導体記憶装置の備える引出領域の製造工程を示す引出領域及びその近傍領域の平面図。
図20のV4-V4線に沿った断面図。
一実施形態に係る半導体記憶装置の備える引出領域の製造工程を示す引出領域及びその近傍領域の平面図。
図22のV4-V4線に沿った断面図。
一実施形態に係る半導体記憶装置の備える引出領域の製造工程を示す引出領域及びその近傍領域の平面図。
図24のV3-V3線に沿った断面図。
第1変形例に係る半導体記憶装置の備える引出領域、並びにその近傍のメモリ領域の平面図。
図26のV3-V3線に沿った断面図。
【発明を実施するための形態】
【0007】
以下、図面を参照して実施形態について説明する。なお、以下の説明において、同一の機能及び構成を有する構成要素については、共通する参照符号を付す。また、共通する参照符号を有する複数の構成要素を区別する場合、当該共通する参照符号に添え字を付して区別する。なお、複数の構成要素について特に区別を要さない場合、当該複数の構成要素には、共通する参照符号のみが付され、添え字は付さない。ここで、添え字は、下付き文字や上付き文字に限らず、例えば、参照符号の末尾に添加される小文字のアルファベット、及び配列を意味するインデックス等を含む。
【0008】
実施形態に係る半導体記憶装置1について説明する。以下では、半導体記憶装置1として、メモリセルトランジスタが三次元に配置された三次元積層型NAND型フラッシュメモリを例に挙げて説明する。
【0009】
1 構成
1.1 半導体記憶装置の全体構成
まず、図1を参照して、半導体記憶装置1の全体構成の一例について説明する。図1は、半導体記憶装置1の全体構成を示すブロック図である。なお、図1では、各構成要素の接続の一部を矢印線により示しているが、構成要素間の接続はこれらに限定されない。
【0010】
図1に示すように、半導体記憶装置1は、アレイチップ10と、回路チップ20とを含む。半導体記憶装置1は、アレイチップ10と回路チップ20とを貼り合わせた構造である(以下、「貼合構造」と表記する)。なお、半導体記憶装置1は、貼合構造を有していなくてもよい。半導体記憶装置1は、半導体基板上に回路及びメモリセルアレイが形成された構造であってもよい。
(【0011】以降は省略されています)
この特許をJ-PlatPat(特許庁公式サイト)で参照する
関連特許
キオクシア株式会社
記憶装置
4日前
キオクシア株式会社
記憶装置
2日前
キオクシア株式会社
記憶装置
2日前
キオクシア株式会社
記憶装置
8日前
キオクシア株式会社
磁気メモリ
1か月前
キオクシア株式会社
半導体装置
8日前
キオクシア株式会社
半導体装置
3か月前
キオクシア株式会社
半導体装置
2日前
キオクシア株式会社
半導体装置
1日前
キオクシア株式会社
半導体装置
1日前
キオクシア株式会社
半導体装置
2か月前
キオクシア株式会社
磁気メモリ
1か月前
キオクシア株式会社
磁気記憶装置
1日前
キオクシア株式会社
磁気記憶装置
2日前
キオクシア株式会社
磁気記憶装置
4日前
キオクシア株式会社
情報処理装置
16日前
キオクシア株式会社
磁気記憶装置
2日前
キオクシア株式会社
基板ユニット
4日前
キオクシア株式会社
磁気記憶装置
4日前
キオクシア株式会社
通信システム
2日前
キオクシア株式会社
半導体記憶装置
2か月前
キオクシア株式会社
メモリデバイス
7日前
キオクシア株式会社
メモリシステム
2か月前
キオクシア株式会社
半導体記憶装置
2か月前
キオクシア株式会社
メモリシステム
14日前
キオクシア株式会社
半導体記憶装置
2か月前
キオクシア株式会社
半導体記憶装置
14日前
キオクシア株式会社
半導体記憶装置
4日前
キオクシア株式会社
半導体記憶装置
2か月前
キオクシア株式会社
半導体記憶装置
15日前
キオクシア株式会社
メモリデバイス
16日前
キオクシア株式会社
半導体製造装置
1か月前
キオクシア株式会社
半導体記憶装置
16日前
キオクシア株式会社
半導体記憶装置
24日前
キオクシア株式会社
メモリシステム
24日前
キオクシア株式会社
半導体記憶装置
28日前
続きを見る
他の特許を見る