TOP
|
特許
|
意匠
|
商標
特許ウォッチ
Twitter
他の特許を見る
10個以上の画像は省略されています。
公開番号
2025142547
公報種別
公開特許公報(A)
公開日
2025-10-01
出願番号
2024041973
出願日
2024-03-18
発明の名称
半導体装置
出願人
キオクシア株式会社
代理人
弁理士法人酒井国際特許事務所
主分類
H01L
23/12 20060101AFI20250924BHJP(基本的電気素子)
要約
【課題】ボンドフィンガ間のショートを抑制すること。
【解決手段】実施形態の半導体装置は、半導体チップと、第1面に半導体チップ、及び開口部を有する絶縁層を配置し、開口部の長手方向である第1方向に沿って複数配列されるとともに開口部において半導体チップと電気的に接続し得る複数のボンドフィンガ、及び第1面と第1面に対して反対側にある第2面との間に半導体チップに電源電圧を供給する電源層及び半導体チップにグランド電位を供給するグランド層を有する配線基板と、を備え、複数のボンドフィンガは、グランド層と接続するボンドフィンガである第1のボンドフィンガと、電源層と接続するボンドフィンガである第2のボンドフィンガとが等しい距離で交互に並んで配置された構成を有し、複数のボンドフィンガのうちの開口部の第1方向の両端に配置される2つのボンドフィンガである2つの第3のボンドフィンガのそれぞれは第1のボンドフィンガであり、2つの第3のボンドフィンガのうちの1つは半導体チップと接続しないダミー端子である。
【選択図】図2
特許請求の範囲
【請求項1】
半導体チップと、
第1面に前記半導体チップ、及び開口部を有する絶縁層を配置し、前記開口部の長手方向である第1方向に沿って複数配列されるとともに前記開口部において前記半導体チップと電気的に接続し得る複数のボンドフィンガ、及び前記第1面と前記第1面に対して反対側にある第2面との間に前記半導体チップに電源電圧を供給する電源層及び前記半導体チップにグランド電位を供給するグランド層を有する配線基板と、を備え、
前記複数のボンドフィンガは、前記グランド層と接続するボンドフィンガである第1のボンドフィンガと、前記電源層と接続するボンドフィンガである第2のボンドフィンガとが等しい距離で交互に並んで配置された構成を有し、前記複数のボンドフィンガのうちの前記開口部の前記第1方向の両端に配置される2つのボンドフィンガである2つの第3のボンドフィンガのそれぞれは前記第1のボンドフィンガであり、前記2つの第3のボンドフィンガのうちの1つは前記半導体チップと接続しないダミー端子である、
半導体装置。
続きを表示(約 400 文字)
【請求項2】
前記ダミー端子の少なくとも一部は、前記絶縁層により覆われている、
請求項1に記載の半導体装置。
【請求項3】
前記ダミー端子は、前記絶縁層により覆われている、
請求項1に記載の半導体装置。
【請求項4】
前記複数のボンドフィンガの、前記第1方向と交差しかつ前記第1面に沿う第2方向の一端部は、前記開口部に露出する、
請求項1に記載の半導体装置。
【請求項5】
前記複数のボンドフィンガの、前記開口部に露出する一端部には、めっきリードが接続されている、
請求項4に記載の半導体装置。
【請求項6】
前記第2のボンドフィンガの両側に配置される2つの前記第1のボンドフィンガは、前記第1方向と交差しかつ前記第1面に沿う第2方向の両端部において接している、
請求項1に記載の半導体装置。
発明の詳細な説明
【技術分野】
【0001】
本発明の実施形態は、半導体装置に関する。
続きを表示(約 1,700 文字)
【背景技術】
【0002】
半導体チップが配線基板上に実装された半導体装置がある。配線基板の実装面には、半導体チップと電気的に接続する複数のボンドフィンガが並んで配置されている。ボンドフィンガには、半導体チップにグランド電位を供給する第1のボンドフィンガと、電源電圧を供給する第2のボンドフィンガと、が含まれている。
【0003】
このとき、第2のボンドフィンガから金属成分が溶出することがある。このような金属成分の溶出は、例えばHAST(High Accelerated temperature and humidity Stress Test)等において顕著に発現する。溶出した金属成分がリークパスとなり、隣接するボンドフィンガ間でショートが発生することがある。
【先行技術文献】
【特許文献】
【0004】
米国特許出願公開第2012-0153506号明細書
米国特許出願公開第2003-0042597号明細書
米国特許出願公開第2003-0052420号明細書
【発明の概要】
【発明が解決しようとする課題】
【0005】
一つの実施形態は、ボンドフィンガ間のショートを抑制可能な半導体装置を提供する。
【課題を解決するための手段】
【0006】
実施形態の半導体装置は、半導体チップと、第1面に前記半導体チップ、及び開口部を有する絶縁層を配置し、前記開口部の長手方向である第1方向に沿って複数配列されるとともに前記開口部において前記半導体チップと電気的に接続し得る複数のボンドフィンガ、及び前記第1面と前記第1面に対して反対側にある第2面との間に前記半導体チップに電源電圧を供給する電源層及び前記半導体チップにグランド電位を供給するグランド層を有する配線基板と、を備え、前記複数のボンドフィンガは、前記グランド層と接続するボンドフィンガである第1のボンドフィンガと、前記電源層と接続するボンドフィンガである第2のボンドフィンガとが等しい距離で交互に並んで配置された構成を有し、前記複数のボンドフィンガのうちの前記開口部の前記第1方向の両端に配置される2つのボンドフィンガである2つの第3のボンドフィンガのそれぞれは前記第1のボンドフィンガであり、前記2つの第3のボンドフィンガのうちの1つは前記半導体チップと接続しないダミー端子である。
【図面の簡単な説明】
【0007】
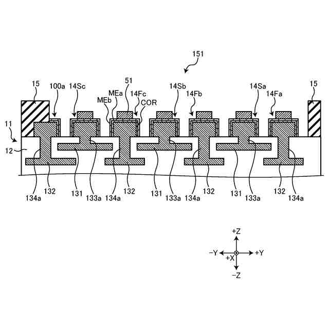
実施形態にかかる半導体装置の構成の一例を示す模式的な断面図。
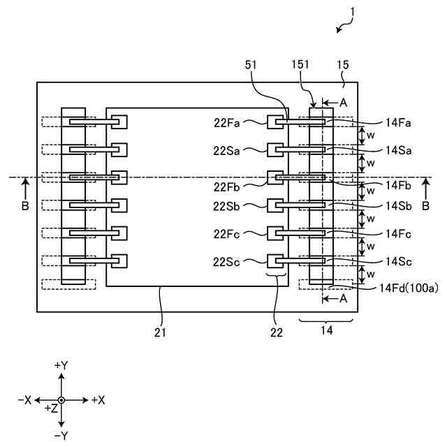
実施形態にかかる半導体装置の構成の一例を示す模式的な上面図。
図2のA-A線における断面図。
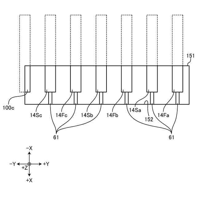
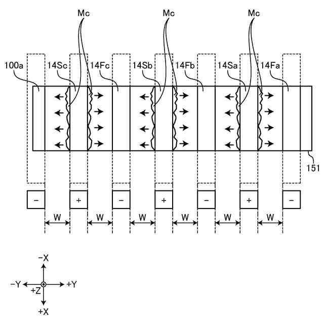
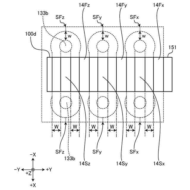
実施形態にかかる半導体装置についてHASTを行った際の金属成分の溶出状態を模式的に示す上面図。
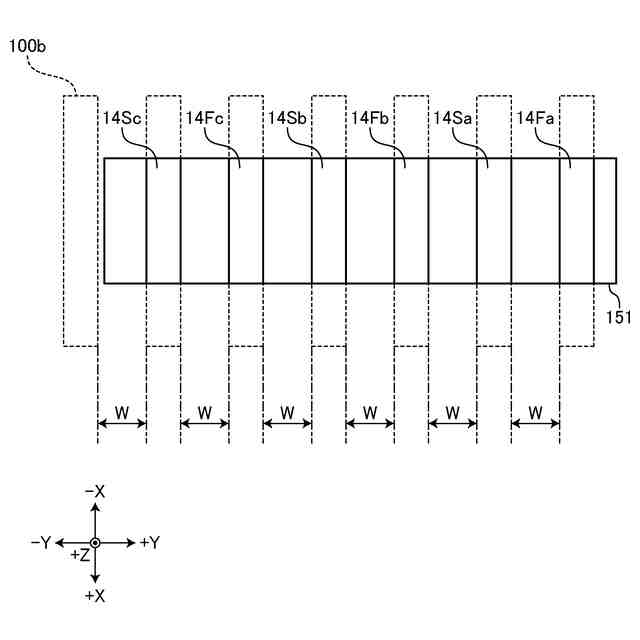
変形例1にかかる半導体装置の開口部周辺の構成を示す一部上面図。
変形例2にかかる半導体装置の開口部周辺の構成を示す一部上面図。
変形例3にかかる半導体装置の開口部周辺の構成を示す一部上面図。
変形例4にかかる半導体装置の開口部周辺の構成を示す一部上面図。
比較例にかかる半導体装置についてHASTを行った際の金属成分の溶出状態を模式的に示す上面図。
【発明を実施するための形態】
【0008】
以下に、実施形態につき図面を参照しつつ詳細に説明する。なお、下記の実施形態により、本発明が限定されるものではない。また、下記実施形態における構成要素には、当業者が容易に想定できるものあるいは実質的に同一のものが含まれる。
【0009】
(実施形態)
以下、図1~図4を参照して実施形態について詳細に説明する。
【0010】
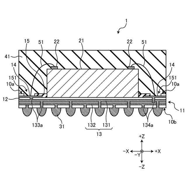
図1は、実施形態にかかる半導体装置1の構成の一例を示す模式的な断面図である。図1は、図2のB-B線における断面図でもある。
(【0011】以降は省略されています)
この特許をJ-PlatPat(特許庁公式サイト)で参照する
関連特許
キオクシア株式会社
記憶装置
4日前
キオクシア株式会社
半導体装置
5日前
キオクシア株式会社
半導体装置
5日前
キオクシア株式会社
半導体装置
4日前
キオクシア株式会社
磁気記憶装置
5日前
キオクシア株式会社
半導体記憶装置
6日前
キオクシア株式会社
メモリデバイス
4日前
キオクシア株式会社
半導体記憶装置
5日前
キオクシア株式会社
メモリシステム
5日前
キオクシア株式会社
半導体記憶装置
5日前
キオクシア株式会社
半導体記憶装置
4日前
キオクシア株式会社
半導体記憶装置
4日前
キオクシア株式会社
半導体記憶装置
4日前
キオクシア株式会社
メモリシステム
4日前
キオクシア株式会社
メモリシステム
4日前
キオクシア株式会社
半導体記憶装置
4日前
キオクシア株式会社
半導体記憶装置
4日前
キオクシア株式会社
半導体記憶装置
4日前
キオクシア株式会社
半導体記憶装置
4日前
キオクシア株式会社
メモリデバイス
4日前
キオクシア株式会社
有機分子メモリ
4日前
キオクシア株式会社
メモリシステム
4日前
キオクシア株式会社
半導体記憶装置
4日前
キオクシア株式会社
半導体記憶装置
4日前
キオクシア株式会社
半導体記憶装置
4日前
キオクシア株式会社
磁気メモリデバイス
4日前
キオクシア株式会社
半導体基板試験装置
5日前
キオクシア株式会社
評価方法及び評価装置
4日前
キオクシア株式会社
半導体装置及び記憶媒体
4日前
キオクシア株式会社
送信装置及び半導体装置
4日前
キオクシア株式会社
コントローラ及びホスト
4日前
キオクシア株式会社
半導体装置及び半導体記憶装置
5日前
キオクシア株式会社
半導体記憶装置、メモリシステム
5日前
キオクシア株式会社
撮像装置、および、画像生成方法
5日前
キオクシア株式会社
メモリデバイス及びメモリシステム
5日前
キオクシア株式会社
半導体装置、半導体装置の製造方法
4日前
続きを見る
他の特許を見る