TOP
|
特許
|
意匠
|
商標
特許ウォッチ
Twitter
他の特許を見る
10個以上の画像は省略されています。
公開番号
2025144401
公報種別
公開特許公報(A)
公開日
2025-10-02
出願番号
2024044156
出願日
2024-03-19
発明の名称
半導体装置及び半導体記憶装置
出願人
キオクシア株式会社
代理人
個人
,
個人
,
個人
主分類
H10B
12/00 20230101AFI20250925BHJP()
要約
【課題】品質の良い半導体装置を製造することが可能な半導体装置及び半導体記憶装置を提供する。
【解決手段】半導体装置は、第1方向に延伸するゲート電極と、前記第1方向と交わる上下方向に延伸し、前記ゲート電極を貫通する酸化物半導体と、前記酸化物半導体の第1下端に接続する第1電極と、前記酸化物半導体の第1上端に接続する第2電極と、前記ゲート電極の上面を覆うゲート上部膜部と、前記ゲート電極の下面を覆うゲート下部膜部と、前記酸化物半導体に対向する前記ゲート電極の第1面を覆うゲート絶縁膜部とを含み、第1絶縁材料で形成される第1絶縁膜と、を備える。
【選択図】図3
特許請求の範囲
【請求項1】
第1方向に延伸するゲート電極と、
前記第1方向と交わる上下方向に延伸し、前記ゲート電極を貫通する酸化物半導体と、
前記酸化物半導体の第1下端に接続する第1電極と、
前記酸化物半導体の第1上端に接続する第2電極と、
前記ゲート電極の上面を覆うゲート上部膜部と、前記ゲート電極の下面を覆うゲート下部膜部と、前記酸化物半導体に対向する前記ゲート電極の第1面を覆うゲート絶縁膜部とを含み、第1絶縁材料で形成される第1絶縁膜と、を備える、
半導体装置。
続きを表示(約 1,400 文字)
【請求項2】
前記半導体装置は、
前記第1絶縁材料と異なる第2絶縁材料を含む第2絶縁膜をさらに備え、
前記ゲート電極は、前記上下方向及び前記第1方向と交わる第2方向を法線の方向とする側面を有し、
前記第2絶縁膜は、前記側面と接する、
請求項1に記載の半導体装置。
【請求項3】
前記第1絶縁材料は、ケイ素及び窒素を含有する、
請求項1に記載の半導体装置。
【請求項4】
前記半導体装置は、
第2上端及び第2下端を有し、前記上下方向に延伸するビア電極と、
前記酸化物半導体及び前記ビア電極がそれぞれ貫通し、かつ、前記ゲート上部膜部の上方に設けられる第3絶縁膜と、
前記酸化物半導体及び前記ビア電極がそれぞれ貫通し、かつ、前記ゲート下部膜部の下方に設けられる第4絶縁膜と、をさらに備え、
前記ビア電極の前記第2下端は、半導体回路に電気的に接続され、
前記第1絶縁膜は、前記第3絶縁膜と前記ビア電極との間において前記ビア電極を覆うビア上部膜部と、前記第4絶縁膜と前記ビア電極との間において前記ビア電極を覆うビア下部膜部と、をさらに含み、
前記ゲート電極は、第1導電材料を含み、
前記ビア電極は、前記第1導電材料を含み、前記ゲート電極と電気的に接続する、
請求項1に記載の半導体装置。
【請求項5】
前記半導体装置は、
前記第1絶縁材料と異なる第3絶縁材料で形成された第3絶縁膜と、
前記第1絶縁材料と異なる第4絶縁材料で形成された第4絶縁膜と、をさらに備え、
前記第3絶縁膜は、前記酸化物半導体が貫通して接し、かつ、前記ゲート上部膜部の上方に設けられ、
前記第4絶縁膜は、前記酸化物半導体が貫通して接し、かつ、前記ゲート下部膜部の下方に設けられる、
請求項1に記載の半導体装置。
【請求項6】
前記第1絶縁材料の酸素透過性は、前記第3絶縁材料の酸素透過性より小さい、
請求項5に記載の半導体装置。
【請求項7】
前記第1絶縁材料の酸素透過性は、前記第4絶縁膜の酸素透過性より小さい、
請求項5に記載の半導体装置。
【請求項8】
前記第1電極は、金属酸化物を含む、
請求項1に記載の半導体装置。
【請求項9】
上下方向に延びる第1酸化物半導体と、
前記上下方向と交わる方向と平行な平面に沿って延在し、前記第1酸化物半導体が貫通する第1層間絶縁膜と、
酸素、インジウム及び錫を含有する第1電極と、
前記第1酸化物半導体と前記第1電極との間に設けられ、前記第1酸化物半導体及び前記第1電極と電気的に接続し、半導体又は導体で形成される第1膜と、
ゲート絶縁膜を介して前記第1酸化物半導体と対向するゲート電極と、を備え、
前記第1膜は、酸素原子との結合エネルギーが前記第1電極における酸素原子及びインジウム原子間の結合エネルギーより大きい原子を含有する、
半導体装置。
【請求項10】
前記第1膜は、前記第1酸化物半導体及び前記第1層間絶縁膜と前記第1電極との間に設けられる、
請求項9に記載の半導体装置。
(【請求項11】以降は省略されています)
発明の詳細な説明
【技術分野】
【0001】
本実施形態は、半導体装置及び半導体記憶装置に関する。
続きを表示(約 3,900 文字)
【背景技術】
【0002】
半導体素子の中には、インジウム及び錫を含む金属酸化物を電極に用いるものがある。
【先行技術文献】
【特許文献】
【0003】
米国特許出願公開US2022/0285350号明細書
【発明の概要】
【発明が解決しようとする課題】
【0004】
金属酸化物が電極に用いられる半導体素子の製造プロセスにおいて、品質の良い半導体装置を製造する技術が求められる。
【0005】
本開示は、品質の良い半導体装置を製造することが可能な半導体装置及び半導体記憶装置を提供することを目的とする。
【課題を解決するための手段】
【0006】
本開示に係る半導体装置は、第1方向に延伸して形成されるゲート電極と、前記第1方向と交わる上下方向に延伸し、前記ゲート電極を貫通して形成される酸化物半導体と、前記酸化物半導体の第1下端に接続する第1電極と、前記酸化物半導体の第1上端に接続する第2電極と、前記ゲート電極の上面を覆うゲート上部膜部と、前記ゲート電極の下面を覆うゲート下部膜部と、前記酸化物半導体に対向する前記ゲート電極の第1面を覆うゲート絶縁膜部とを含み、第1絶縁材料で形成される第1絶縁膜と、を備える。
【0007】
本開示に係る半導体装置は、上下方向に延びる第1酸化物半導体と、前記上下方向と交わる方向と平行な平面に沿って延在し、前記第1酸化物半導体が貫通する第1層間絶縁膜と、酸素、インジウム及び錫を含有する第1電極と、前記第1酸化物半導体と前記第1電極との間に設けられ、前記第1酸化物半導体及び前記第1電極と電気的に接続し、半導体又は導体で形成される第1膜と、ゲート絶縁膜を介して前記第1酸化物半導体と対向するゲート電極と、を備え、前記第1膜は、酸素原子との結合エネルギーが前記第1電極における酸素原子及びインジウム原子間の結合エネルギーより大きい原子を含有する。
【0008】
本開示に係る半導体記憶装置は、前記半導体装置と、前記第1電極に接続される第1キャパシタ電極と、前記第1キャパシタ電極と対向する第2キャパシタ電極と、前記第1キャパシタ電極と前記第2キャパシタ電極との間に設けられる誘電膜と、を備える。
【図面の簡単な説明】
【0009】
第1実施形態に係るメモリセルアレイの回路構成例を説明するための回路図である。
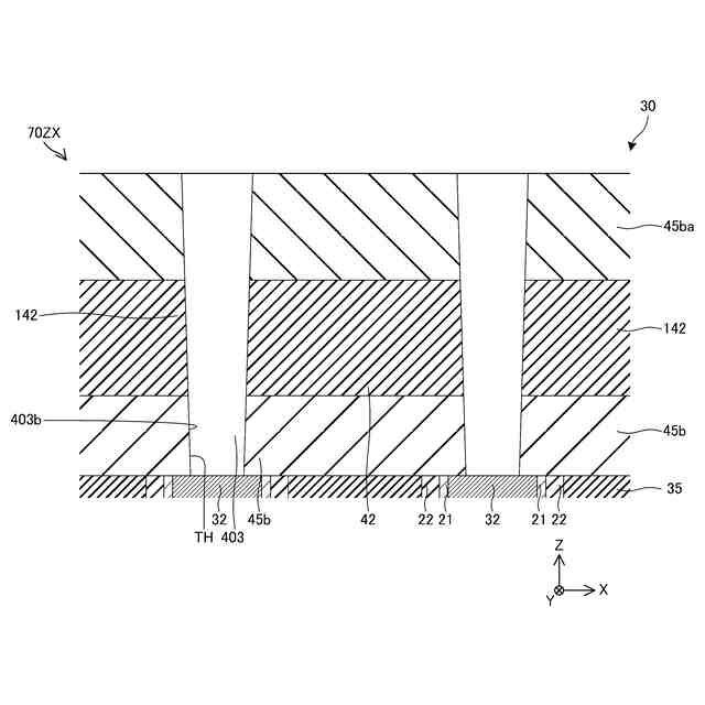
第1実施形態に係る半導体記憶装置の構造例を説明するための断面模式図であり、ZX面に平行な断面図を示す。
第1実施形態に係る半導体装置の構造例を説明するための断面模式図であり、半導体装置のZX面に平行な断面図を示す。
第1実施形態に係る半導体装置の構造例を説明するための断面模式図であり、半導体装置のYZ面に平行な断面図を示す。
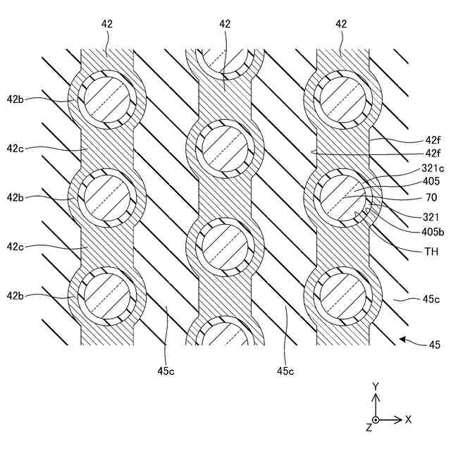
図3及び図4に示す切断線V―Vにおける断面図である。
第1実施形態に係る半導体装置におけるワードラインコンタクト付近の構造例を説明するための断面模式図であり、半導体装置のYZ面に平行な断面図を示す。
第1実施形態の半導体装置の製造プロセスを示すZX面に平行な断面図である。
第1実施形態の半導体装置の製造プロセスを示すYZ面に平行な断面図である。
第1実施形態の半導体装置の製造プロセスを示すZX面に平行な断面図である。
第1実施形態の半導体装置の製造プロセスを示すYZ面に平行な断面図である。
図9及び図10に示す切断線XI―XIにおける断面図である。
第1実施形態の半導体装置におけるワードラインコンタクト付近の製造プロセスを示すYZ面に平行な断面図である。
第1実施形態の半導体装置におけるワードラインコンタクト付近の製造プロセスを示すYZ面に平行な断面図である。
第1実施形態の半導体装置の製造プロセスを示すZX面に平行な断面図である。
第1実施形態の半導体装置の製造プロセスを示すYZ面に平行な断面図である。
第1実施形態の半導体装置におけるワードラインコンタクト付近の製造プロセスを示すYZ面に平行な断面図である。
第1実施形態の半導体装置の製造プロセスを示すZX面に平行な断面図である。
第1実施形態の半導体装置の製造プロセスを示すYZ面に平行な断面図である。
第1実施形態の半導体装置におけるワードラインコンタクト付近の製造プロセスを示すYZ面に平行な断面図である。
第1実施形態の半導体装置におけるワードラインコンタクト付近の製造プロセスを示すYZ面に平行な断面図である。
第1実施形態の半導体装置の製造プロセスを示すZX面に平行な断面図である。
第1実施形態の半導体装置の製造プロセスを示すYZ面に平行な断面図である。
図21及び図22に示す切断線XXIII―XXIIIにおける断面図である。
第1実施形態の半導体装置におけるワードラインコンタクト付近の製造プロセスを示すYZ面に平行な断面図である。
第1実施形態の半導体装置の製造プロセスを示すZX面に平行な断面図である。
第1実施形態の半導体装置の製造プロセスを示すYZ面に平行な断面図である。
第1実施形態の半導体装置の製造プロセスを示すZX面に平行な断面図である。
第1実施形態の半導体装置の製造プロセスを示すYZ面に平行な断面図である。
第1実施形態の半導体装置の製造プロセスを示すZX面に平行な断面図である。
第1実施形態の半導体装置の製造プロセスを示すYZ面に平行な断面図である。
第1実施形態の半導体装置の製造プロセスを示すZX面に平行な断面図である。
第1実施形態の半導体装置の製造プロセスを示すYZ面に平行な断面図である。
第1実施形態の半導体装置の製造プロセスを示すZX面に平行な断面図である。
第1実施形態の半導体装置の製造プロセスを示すYZ面に平行な断面図である。
図33及び図34に示す切断線XXXV―XXXVにおける断面図である。
第1実施形態の半導体装置の製造プロセスを示すZX面に平行な断面図である。
第1実施形態の半導体装置の製造プロセスを示すYZ面に平行な断面図である。
第1実施形態の半導体装置の製造プロセスを示すZX面に平行な断面図である。
第1実施形態の半導体装置の製造プロセスを示すYZ面に平行な断面図である。
第1実施形態の半導体装置の製造プロセスを示すZX面に平行な断面図である。
第1実施形態の半導体装置の製造プロセスを示すYZ面に平行な断面図である。
第1実施形態の半導体装置の製造プロセスを示すZX面に平行な断面図である。
第1実施形態の半導体装置の製造プロセスを示すYZ面に平行な断面図である。
第1実施形態の半導体装置の製造プロセスを示すZX面に平行な断面図である。
第1実施形態の半導体装置の製造プロセスを示すYZ面に平行な断面図である。
第1実施形態の半導体装置の製造プロセスを示すZX面に平行な断面図である。
第1実施形態の半導体装置の製造プロセスを示すYZ面に平行な断面図である。
第1実施形態の半導体装置の製造プロセスを示すZX面に平行な断面図である。
第1実施形態の半導体装置の製造プロセスを示すYZ面に平行な断面図である。
第1実施形態の半導体装置の製造プロセスを示すZX面に平行な断面図である。
第1実施形態の半導体装置の製造プロセスを示すYZ面に平行な断面図である。
比較例の半導体装置の製造プロセスを示すZX面に平行な断面図である。
第2実施形態に係る半導体装置の構造例を説明するための断面模式図であり、半導体装置のYZ面に平行な断面図を示す。
第2実施形態の半導体装置の製造プロセスを示すYZ面に平行な断面図である。
第2実施形態の半導体装置の製造プロセスを示すYZ面に平行な断面図である。
第2実施形態の半導体装置の製造プロセスを示すYZ面に平行な断面図である。
第2実施形態の半導体装置の製造プロセスを示すYZ面に平行な断面図である。
第2実施形態の半導体装置の製造プロセスを示すYZ面に平行な断面図である。
第2実施形態の半導体装置の製造プロセスを示すYZ面に平行な断面図である。
第2実施形態の半導体装置の製造プロセスを示すYZ面に平行な断面図である。
第2実施形態の半導体装置の製造プロセスを示すYZ面に平行な断面図である。
第2実施形態の半導体装置の製造プロセスを示すYZ面に平行な断面図である。
第2実施形態の半導体装置の製造プロセスを示すYZ面に平行な断面図である。
第2実施形態の半導体装置の製造プロセスを示すYZ面に平行な断面図である。
【発明を実施するための形態】
【0010】
以下、添付図面を参照しながら本実施形態について説明する。説明の理解を容易にするため、各図面において同一の構成要素に対しては可能な限り同一の符号を付して、重複する説明は省略する。
(【0011】以降は省略されています)
この特許をJ-PlatPat(特許庁公式サイト)で参照する
関連特許
キオクシア株式会社
記憶装置
6日前
キオクシア株式会社
記憶装置
12日前
キオクシア株式会社
記憶装置
8日前
キオクシア株式会社
記憶装置
4日前
キオクシア株式会社
記憶装置
6日前
キオクシア株式会社
半導体装置
6日前
キオクシア株式会社
半導体装置
12日前
キオクシア株式会社
半導体装置
5日前
キオクシア株式会社
半導体装置
4日前
キオクシア株式会社
半導体装置
5日前
キオクシア株式会社
基板ユニット
8日前
キオクシア株式会社
通信システム
6日前
キオクシア株式会社
磁気記憶装置
6日前
キオクシア株式会社
磁気記憶装置
8日前
キオクシア株式会社
磁気記憶装置
8日前
キオクシア株式会社
磁気記憶装置
5日前
キオクシア株式会社
磁気記憶装置
6日前
キオクシア株式会社
メモリデバイス
6日前
キオクシア株式会社
半導体記憶装置
6日前
キオクシア株式会社
半導体記憶装置
5日前
キオクシア株式会社
メモリシステム
5日前
キオクシア株式会社
半導体記憶装置
19日前
キオクシア株式会社
半導体記憶装置
6日前
キオクシア株式会社
半導体記憶装置
8日前
キオクシア株式会社
半導体記憶装置
8日前
キオクシア株式会社
半導体記憶装置
8日前
キオクシア株式会社
半導体記憶装置
8日前
キオクシア株式会社
メモリデバイス
11日前
キオクシア株式会社
半導体記憶装置
18日前
キオクシア株式会社
半導体記憶装置
18日前
キオクシア株式会社
メモリシステム
18日前
キオクシア株式会社
半導体記憶装置
5日前
キオクシア株式会社
半導体記憶装置
6日前
キオクシア株式会社
メモリシステム
4日前
キオクシア株式会社
半導体記憶装置
4日前
キオクシア株式会社
メモリデバイス
4日前
続きを見る
他の特許を見る