TOP
|
特許
|
意匠
|
商標
特許ウォッチ
Twitter
他の特許を見る
10個以上の画像は省略されています。
公開番号
2025143034
公報種別
公開特許公報(A)
公開日
2025-10-01
出願番号
2024042717
出願日
2024-03-18
発明の名称
半導体記憶装置
出願人
キオクシア株式会社
代理人
弁理士法人酒井国際特許事務所
主分類
H10B
41/40 20230101AFI20250924BHJP()
要約
【課題】配線層間のショートを抑制すること。
【解決手段】実施形態の半導体装置は、複数の第1の導電層と複数の絶縁層とが第1方向に交互に積層される積層体と、積層体の外側の領域を積層体の第1方向に延びる第2の導電層と、積層体の第1方向から見たときに、積層体を取り囲む位置を第1方向に延びる第3の導電層と、積層体の上方に設けられ、第1方向と交差する第2方向に延びる第1の配線層と、積層体の上方に設けられ、第1の配線層と第2方向に離れて設けられた第2の配線層と、第1の配線層及び第2の配線層の上方に設けられ、第1の配線層と第2の配線層の間の領域で第2の導電層及び第3の導電層の上部とそれぞれ接続する電極層と、電極層に設けられ、電極層を介して第2の導電層及び第3の導電層へ外部電力を供給するパッド部と、を備え、第1の配線層、パッド部及び第2の導電層を含む第1の領域と、第2の配線層及び第3の導電層を含む第2の領域とは、第2方向に隣り合う。
【選択図】図1
特許請求の範囲
【請求項1】
複数の第1の導電層と複数の絶縁層とが第1方向に交互に積層される積層体と、
前記積層体の外側の領域を前記積層体の前記第1方向に延びる第2の導電層と、
前記積層体の前記第1方向から見たときに、前記積層体を取り囲む位置を前記第1方向に延びる第3の導電層と、
前記積層体の上方に設けられ、前記第1方向と交差する第2方向に延びる第1の配線層と、
前記積層体の上方に設けられ、前記第1の配線層と前記第2方向に離れて設けられた第2の配線層と、
前記第1の配線層及び前記第2の配線層の上方に設けられ、前記第1の配線層と前記第2の配線層の間の領域で前記第2の導電層及び前記第3の導電層の上部とそれぞれ接続する電極層と、
前記電極層に設けられ、前記電極層を介して前記第2の導電層及び前記第3の導電層へ外部電力を供給するパッド部と、
を備え、
前記第1の配線層、前記パッド部及び前記第2の導電層を含む第1の領域と、前記第2の配線層及び前記第3の導電層を含む第2の領域とは、前記第2方向に隣り合う
半導体記憶装置。
続きを表示(約 1,100 文字)
【請求項2】
前記積層体を前記第1方向に貫通し、前記第1の配線層の一部と接続する半導体層を更に備える、
請求項1に記載の半導体記憶装置。
【請求項3】
前記電極層は、前記第1の領域に設けられた第1の電極層と、前記第2の領域に設けられた第2の電極層とを含み、前記第1の電極層と前記第2の電極層とは分離されている、
請求項2に記載の半導体記憶装置。
【請求項4】
前記第3の導電層は、前記積層体の上下方向に延びる空隙を有する、
請求項1に記載の半導体記憶装置。
【請求項5】
前記積層体の下方に設けられ、前記第3の導電層を介して前記電極層と電気的に接続される複数のトランジスタと、
をさらに備える、
請求項1に記載の半導体記憶装置。
【請求項6】
複数の第1の導電層と複数の第1の絶縁層とが第1方向に交互に積層される積層体、及び前記第1方向に延びる第2の導電層を含む第1の領域と、
前記第1の領域と前記第1方向と交差する第2方向に隣り合って設けられ、前記第1方向に延びる第3の導電層を含む第2の領域と、
前記積層体の上方に設けられる第1の配線層と、
前記第1の配線層の上方に設けられた第1部と第2部と、前記第1部と前記第2部の間に設けられ、前記第1部と前記第2部より下方に位置し前記第2の導電層と接続された第3部とを含む第1の電極層と、
前記第1の配線層の上方に設けられた第4部と第5部と、前記第4部と前記第5部の間に設けられ、前記第4部と前記第5部より下方に位置し前記第3の導電層と接続された第6部とを含む第2の電極層と、
前記第2部と前記第4部との間に設けられた第2の絶縁層と、
を備える半導体記憶装置。
【請求項7】
前記第1部はボンディングを含むパット部である、
請求項6に記載の半導体記憶装置。
【請求項8】
前記第3部と前記第6部は、前記複数の第1の導電層のうち最上に位置する第1の導電層より上方に位置する
請求項6に記載の半導体記憶装置。
【請求項9】
前記第2の領域と前記第1の領域を介して前記第2方向に対向して位置し、前記第1方向に延びる第4の導電層を含み、前記第3の導電層と接続している第4の領域と、
をさらに備える請求項6に記載の半導体記憶装置。
【請求項10】
前記積層体を貫通し、前記第1方向に延びる半導体層と、前記半導体層と前記第1の導電層との間に設けられた記憶層と、
をさらに備える請求項6に記載の半導体記憶装置。
(【請求項11】以降は省略されています)
発明の詳細な説明
【技術分野】
【0001】
本発明の実施形態は、半導体記憶装置に関する。
続きを表示(約 2,100 文字)
【背景技術】
【0002】
半導体記憶装置において、素子を保護するため、素子領域の外側にエッジシールを配置することがある。素子領域及びエッジシールの周辺には絶縁層が充填されている。絶縁層の上方には、素子に接続するソース線と、ソース線の間を貫通し素子とエッジシールとのそれぞれに接続する電極層と、が配置される。素子に接続する電極層と、エッジシールに接続する電極層とは電気的に分離されている。
【0003】
しかしながら、半導体記憶装置の製造工程における各種熱処理により、電極層間のソース線が変形することがある。ソース線が変形すると、電極層の形成不良が発生し、電気的に分離された電極層間でショートが発生することがある。
【先行技術文献】
【特許文献】
【0004】
特開2023-88563号公報
【発明の概要】
【発明が解決しようとする課題】
【0005】
一つの実施形態は、電極層間のショートを抑制可能な半導体記憶装置を提供することを目的とする。
【課題を解決するための手段】
【0006】
実施形態の半導体装置は、複数の第1の導電層と複数の絶縁層とが第1方向に交互に積層される積層体と、前記積層体の外側の領域を前記積層体の前記第1方向に延びる第2の導電層と、前記積層体の前記第1方向から見たときに、前記積層体を取り囲む位置を前記第1方向に延びる第3の導電層と、前記積層体の上方に設けられ、前記第1方向と交差する第2方向に延びる第1の配線層と、前記積層体の上方に設けられ、前記第1の配線層と前記第2方向に離れて設けられた第2の配線層と、前記第1の配線層及び前記第2の配線層の上方に設けられ、前記第1の配線層と前記第2の配線層の間の領域で前記第2の導電層及び前記第3の導電層の上部とそれぞれ接続する電極層と、前記電極層に設けられ、前記電極層を介して前記第2の導電層及び前記第3の導電層へ外部電力を供給するパッド部と、を備え、前記第1の配線層、前記パッド部及び前記第2の導電層を含む第1の領域と、前記第2の配線層及び前記第3の導電層を含む第2の領域とは、前記第2方向に隣り合う。
【図面の簡単な説明】
【0007】
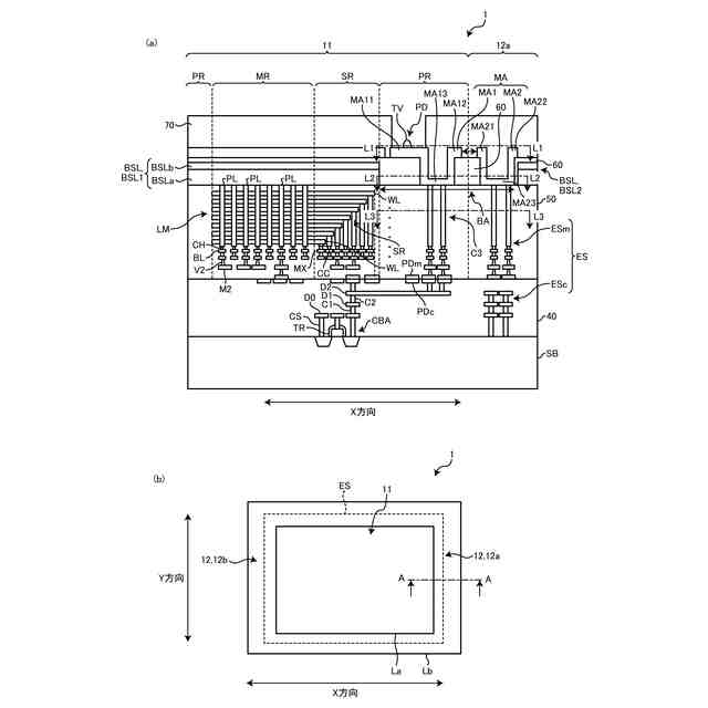
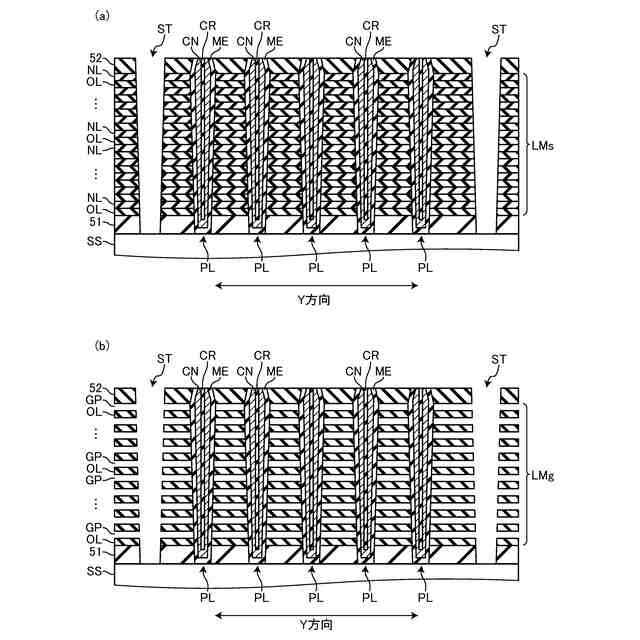
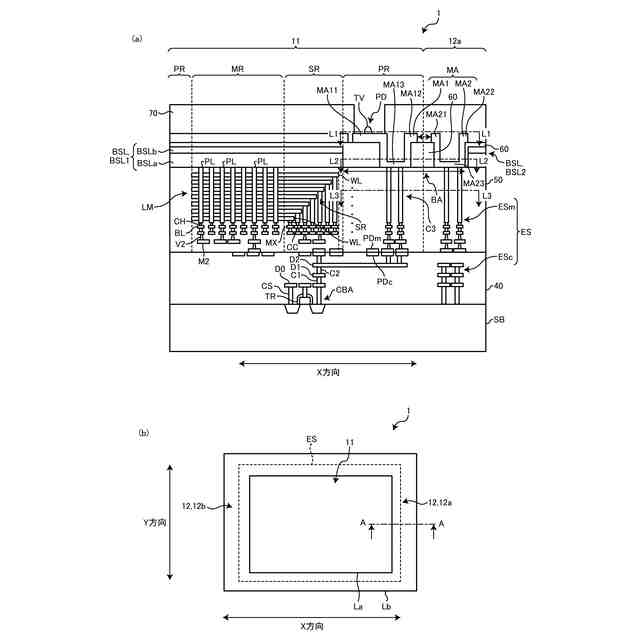
実施形態にかかる半導体記憶装置の概略の構成例を示す断面図。
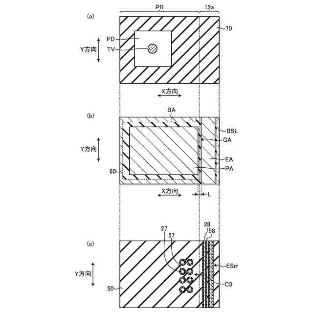
実施形態にかかる周辺領域、及び外周領域における各構成の位置関係を説明する図。
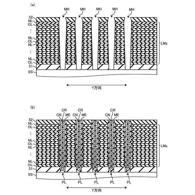
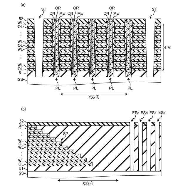
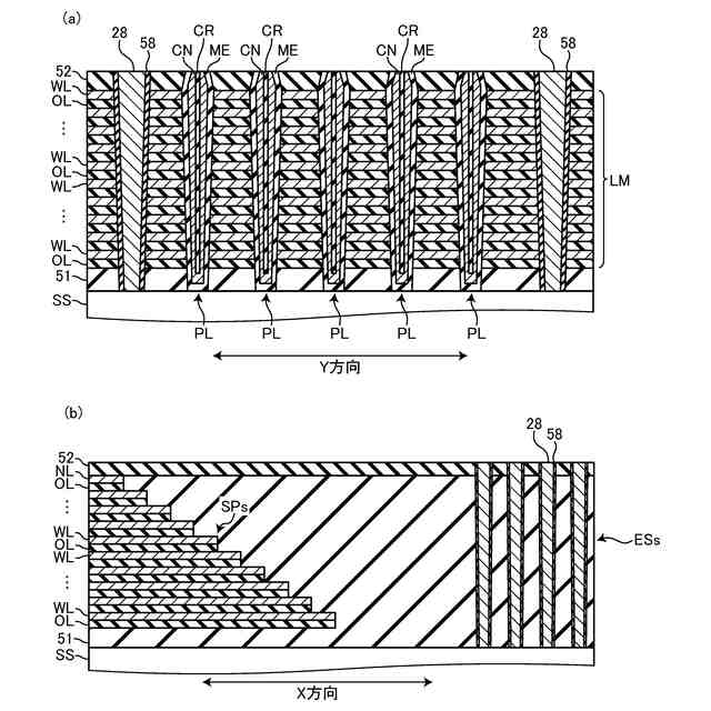
実施形態にかかる半導体記憶装置の製造方法の手順の一部を順に例示する図。
実施形態にかかる半導体記憶装置の製造方法の手順の一部を順に例示する図。
実施形態にかかる半導体記憶装置の製造方法の手順の一部を順に例示する図。
実施形態にかかる半導体記憶装置の製造方法の手順の一部を順に例示する図。
実施形態にかかる半導体記憶装置の製造方法の手順の一部を順に例示する図。
実施形態にかかる半導体記憶装置の製造方法の手順の一部を順に例示する図。
実施形態にかかる半導体記憶装置の製造方法の手順の一部を順に例示する図。
実施形態にかかる半導体記憶装置の製造方法の手順の一部を順に例示する図。
実施形態にかかる半導体記憶装置の製造方法の手順の一部を順に例示する図。
実施形態にかかる半導体記憶装置の製造方法の手順の一部を順に例示する図。
実施形態にかかる半導体記憶装置の製造方法の手順の一部を順に例示する図。
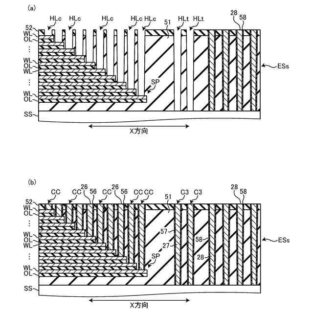
比較例にかかる半導体記憶装置について説明する図。
比較例にかかる半導体記憶装置について説明する図。
【発明を実施するための形態】
【0008】
以下に、実施形態につき図面を参照しつつ詳細に説明する。なお、下記の実施形態により、本発明が限定されるものではない。また、下記実施形態における構成要素には、当業者が容易に想定できるものあるいは実質的に同一のものが含まれる。
【0009】
(半導体記憶装置の構成例)
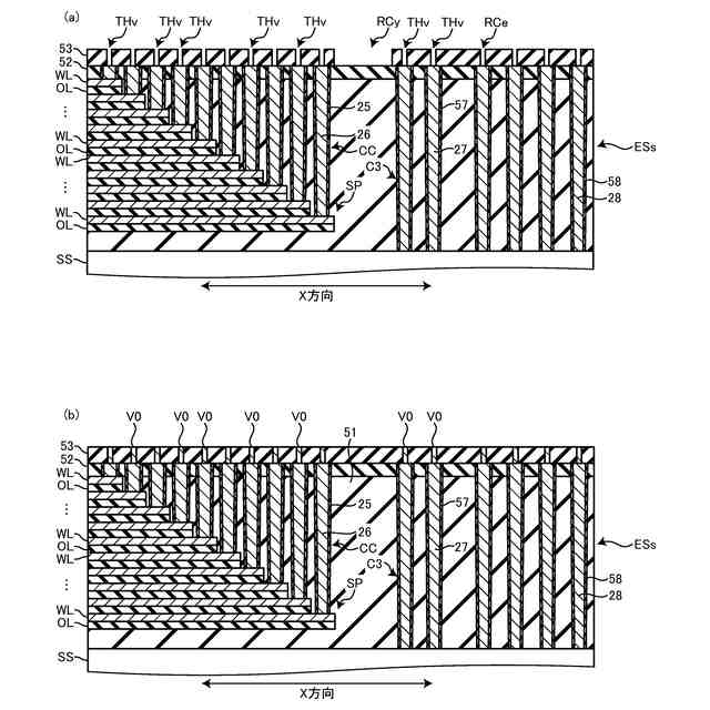
図1は、実施形態にかかる半導体記憶装置1の概略の構成例を示す図である。具体的には、図1(a)は、半導体記憶装置1のX方向に沿う断面図であり、図1(b)は、半導体記憶装置1を模式的に示す上面図である。図1(a)は、図1(b)のA-A線に沿う断面図でもある。ただし、図1(a)においては図面の見やすさを考慮してハッチングを省略する。また図1(b)においては、説明の便宜上、エッジシールESのように、上面から見た場合に必ずしも視認することができない構成も描かれている。
【0010】
なお本明細書において、X方向及びY方向はともに、後述する複数のワード線WLの面の向きに沿う方向であり、X方向とY方向とは互いに直交する。X方向及びY方向は、複数のワード線WLの積層方向と交差する方向である。複数のワード線WLの積層方向は第1方向の一例であり、X方向は第2方向の一例である。
(【0011】以降は省略されています)
この特許をJ-PlatPat(特許庁公式サイト)で参照する
関連特許
キオクシア株式会社
半導体基板試験装置
今日
キオクシア株式会社
半導体装置及び半導体記憶装置
今日
キオクシア株式会社
半導体記憶装置、メモリシステム
今日
キオクシア株式会社
メモリデバイス及びメモリシステム
今日
キオクシア株式会社
半導体装置及び半導体装置を含む半導体基板
今日
エイブリック株式会社
半導体装置
1か月前
エイブリック株式会社
半導体装置
今日
富士電機株式会社
半導体装置
1か月前
富士電機株式会社
半導体装置
1か月前
富士電機株式会社
半導体装置
1か月前
富士電機株式会社
半導体装置
1か月前
株式会社カネカ
固体撮像装置用基板
1か月前
富士電機株式会社
半導体装置
3日前
富士電機株式会社
半導体装置
21日前
エイブリック株式会社
縦型ホール素子
1か月前
三菱電機株式会社
半導体装置
1か月前
国立大学法人 和歌山大学
光検出器
1か月前
三菱電機株式会社
半導体装置
1か月前
AGC株式会社
太陽電池モジュール
6日前
株式会社半導体エネルギー研究所
半導体装置
1か月前
ミツミ電機株式会社
半導体装置
1か月前
ミツミ電機株式会社
半導体装置
今日
ミツミ電機株式会社
センサ装置
1か月前
日亜化学工業株式会社
発光素子
1日前
株式会社半導体エネルギー研究所
半導体装置
1か月前
株式会社半導体エネルギー研究所
半導体装置
22日前
株式会社半導体エネルギー研究所
半導体装置
1か月前
キヤノン株式会社
有機発光素子
13日前
日亜化学工業株式会社
発光装置
1か月前
日亜化学工業株式会社
発光装置
21日前
TDK株式会社
光検知装置
今日
ローム株式会社
窒化物半導体装置
1か月前
ローム株式会社
TVSダイオード
1日前
エイブリック株式会社
保護回路及び半導体装置
1か月前
株式会社東芝
熱電変換装置
1日前
株式会社半導体エネルギー研究所
発光デバイス
1か月前
続きを見る
他の特許を見る