TOP
|
特許
|
意匠
|
商標
特許ウォッチ
Twitter
他の特許を見る
10個以上の画像は省略されています。
公開番号
2025140766
公報種別
公開特許公報(A)
公開日
2025-09-29
出願番号
2024040336
出願日
2024-03-14
発明の名称
磁気記憶装置
出願人
キオクシア株式会社
,
エスケーハイニックス株式会社
,
SK hynix Inc.
代理人
弁理士法人鈴榮特許綜合事務所
主分類
H10B
61/00 20230101AFI20250919BHJP()
要約
【課題】メモリセルの性能を向上させることができる磁気記憶装置を提供する。
【解決手段】実施形態の磁気記憶装置は、非磁性層30、強磁性層31、非磁性層32、強磁性層33、非磁性層34、強磁性層35、非磁性層36、非磁性層37a、37b及び37cを備える。非磁性層30は、シリコンを含む。強磁性層31は、非磁性層30の上方に設けられ、非磁性層32は強磁性層31の上方に設けられる。強磁性層33は、非磁性層32の上方に設けられ、非磁性層34は強磁性層33の上方に設けられる。強磁性層35は、非磁性層34の上方に設けられる。非磁性層36は、強磁性層35の上方に設けられ、マグネシウム及び酸素を含む。非磁性層37aは、非磁性層36の上方に設けられ、モリブデンを含む。非磁性層37bは、非磁性層37aの上方に設けられ、ハフニウムを含む。非磁性層37cは、非磁性層37bの上方に設けられ、ルテニウムを含む。
【選択図】図11
特許請求の範囲
【請求項1】
シリコン(Si)を含む第1非磁性層と、
前記第1非磁性層の上方に設けられた第1強磁性層と、
前記第1強磁性層の上方に設けられた第2非磁性層と、
前記第2非磁性層の上方に設けられた第2強磁性層と、
前記第2強磁性層の上方に設けられた第3非磁性層と、
前記第3非磁性層の上方に設けられた第3強磁性層と、
前記第3強磁性層の上方に設けられ、マグネシウム(Mg)及び酸素(O)を含む第4非磁性層と、
前記第4非磁性層の上方に設けられ、モリブデン(Mo)を含む第5非磁性層と、
前記第5非磁性層の上方に設けられ、ハフニウム(Hf)を含む第6非磁性層と、
前記第6非磁性層の上方に設けられ、ルテニウム(Ru)を含む第7非磁性層と、
を備える磁気記憶装置。
続きを表示(約 980 文字)
【請求項2】
前記第4非磁性層は、イリジウム(Ir)、白金(Pt)、及びルテニウム(Ru)からなる群から選択される少なくとも1つの元素を含む、
請求項1に記載の磁気記憶装置。
【請求項3】
前記第1非磁性層は、シリコン(Si)化合物を含む、
請求項1に記載の磁気記憶装置。
【請求項4】
前記第7非磁性層は、白金(Pt)、タングステン(W)、タンタル(Ta)、及びルテニウム(Ru)からなる群から選択される少なくとも1つの元素を含む、
請求項1に記載の磁気記憶装置。
【請求項5】
前記第6非磁性層は、ハフニウム(Hf)とボロン(B)の化合物を含む、
請求項1に記載の磁気記憶装置。
【請求項6】
前記第5非磁性層は、モリブデン(Mo)化合物を含む、
請求項1に記載の磁気記憶装置。
【請求項7】
前記第3強磁性層と前記第4非磁性層は接する、
請求項1に記載の磁気記憶装置。
【請求項8】
前記第2強磁性層は、鉄(Fe)、コバルト(Co)、及びニッケル(Ni)からなる群から選択される少なくとも1つの元素を含み、
前記第3非磁性層は、マグネシウム(Mg)、アルミニウム(Al)、亜鉛(Zn)、チタン(Ti)、及びLSM(Lanthanum-strontium-manganese)からなる群から選択される少なくとも1つの元素または化合物の酸化物を含み、
前記第3強磁性層は、鉄(Fe)、コバルト(Co)、及びニッケル(Ni)からなる群から選択される少なくとも1つの元素を含む、
請求項1に記載の磁気記憶装置。
【請求項9】
前記第2非磁性層は、前記第1強磁性層と反強磁性的に結合され、
前記第1強磁性層の磁化方向が、前記第2強磁性層の磁化方向に対して反平行な方向に固定される、
請求項1に記載の磁気記憶装置。
【請求項10】
前記第1強磁性層は、鉄(Fe)、コバルト(Co)、及びニッケル(Ni)からなる群から選択される少なくとも1つの元素を含む、
請求項1に記載の磁気記憶装置。
(【請求項11】以降は省略されています)
発明の詳細な説明
【技術分野】
【0001】
本発明の実施形態は、磁気記憶装置に関する。
続きを表示(約 1,700 文字)
【背景技術】
【0002】
磁気抵抗効果素子を記憶素子として用いた磁気記憶装置(MRAM:Magnetoresistive Random Access Memory)が知られている。
【先行技術文献】
【特許文献】
【0003】
米国特許出願公開第2015/0092481号明細書
【発明の概要】
【発明が解決しようとする課題】
【0004】
メモリセルの性能を向上させることができる磁気記憶装置を提供する。
【課題を解決するための手段】
【0005】
実施形態の磁気記憶装置は、シリコン(Si)を含む第1非磁性層と、前記第1非磁性層の上方に設けられた第1強磁性層と、前記第1強磁性層の上方に設けられた第2非磁性層と、前記第2非磁性層の上方に設けられた第2強磁性層と、前記第2強磁性層の上方に設けられた第3非磁性層と、前記第3非磁性層の上方に設けられた第3強磁性層と、前記第3強磁性層の上方に設けられ、マグネシウム(Mg)及び酸化を含む第4非磁性層と、前記第4非磁性層の上方に設けられ、モリブデン(Mo)を含む第5非磁性層と、前記第5非磁性層の上方に設けられ、ハフニウム(Hf)を含む第6非磁性層と、前記第6非磁性層の上方に設けられ、ルテニウム(Ru)を含む第7非磁性層とを備える。
【図面の簡単な説明】
【0006】
第1実施形態に係る磁気記憶装置を含むメモリシステムの構成を示すブロック図である。
第1実施形態に係る磁気記憶装置のメモリセルアレイの回路図である。
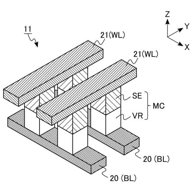
第1実施形態に係る磁気記憶装置のメモリセルアレイの構造を示す斜視図である。
第1実施形態に係る磁気記憶装置の可変抵抗素子の断面図である。
第1実施形態と比較例1におけるメタルキャップ層の断面構造及び特性を示す図である。
第2実施形態に係る磁気記憶装置の可変抵抗素子の断面図である。
第2実施形態と比較例2-4におけるメタルキャップ層及びバッファ層の断面構造を示す図である。
第2実施形態と比較例2-4における交換結合磁界と磁気抵抗変化率の関係を示す図である。
第3実施形態に係る磁気記憶装置の可変抵抗素子の断面図である。
第3実施形態と比較例5-7におけるメタルキャップ層及び酸化物キャップ層の断面構造及び特性を示す図である。
第4実施形態に係る磁気記憶装置のメモリセルに含まれた可変抵抗素子の断面図である。
第5実施形態に係る磁気記憶装置のメモリセルに含まれた可変抵抗素子の断面図である。
第6実施形態に係る磁気記憶装置のメモリセルに含まれた可変抵抗素子の断面図である。
【発明を実施するための形態】
【0007】
以下、図面を参照して実施形態について説明する。以下の説明において、同一の機能及び構成を有する構成要素については、共通する参照符号を付す。また、以下に示す実施形態は、この実施形態の技術的思想を具体化するための装置や方法を例示するものであって、構成部品の材質、形状、構造、及び配置等を下記のものに特定するものではない。
【0008】
1.第1実施形態
先ず、第1実施形態の磁気記憶装置を含むメモリシステムについて説明する。
【0009】
1.1 メモリシステム
図1を参照して、メモリシステムの一例について説明する。図1は、第1実施形態の磁気記憶装置を含むメモリシステムMSの構成を示すブロック図である。
【0010】
図1に示すように、メモリシステムMSは、磁気記憶装置1及びメモリコントローラ2を含む。磁気記憶装置1は、メモリコントローラ2の制御に基づいて動作する。メモリコントローラ2は、外部のホスト機器からの要求(あるいは、命令)に応答して、磁気記憶装置1に対して、読み出し動作及び書き込み動作などの実行を命令し得る。
(【0011】以降は省略されています)
この特許をJ-PlatPat(特許庁公式サイト)で参照する
関連特許
キオクシア株式会社
記憶装置
4日前
キオクシア株式会社
記憶装置
4日前
キオクシア株式会社
記憶装置
6日前
キオクシア株式会社
記憶装置
2日前
キオクシア株式会社
半導体装置
3日前
キオクシア株式会社
半導体装置
3日前
キオクシア株式会社
半導体装置
4日前
キオクシア株式会社
半導体装置
2日前
キオクシア株式会社
磁気記憶装置
4日前
キオクシア株式会社
磁気記憶装置
3日前
キオクシア株式会社
磁気記憶装置
4日前
キオクシア株式会社
通信システム
4日前
キオクシア株式会社
磁気記憶装置
6日前
キオクシア株式会社
磁気記憶装置
6日前
キオクシア株式会社
基板ユニット
6日前
キオクシア株式会社
半導体記憶装置
2日前
キオクシア株式会社
半導体記憶装置
2日前
キオクシア株式会社
半導体記憶装置
2日前
キオクシア株式会社
メモリシステム
3日前
キオクシア株式会社
半導体記憶装置
3日前
キオクシア株式会社
半導体記憶装置
2日前
キオクシア株式会社
半導体記憶装置
6日前
キオクシア株式会社
半導体記憶装置
4日前
キオクシア株式会社
半導体記憶装置
2日前
キオクシア株式会社
メモリシステム
2日前
キオクシア株式会社
メモリデバイス
2日前
キオクシア株式会社
有機分子メモリ
2日前
キオクシア株式会社
半導体記憶装置
2日前
キオクシア株式会社
半導体記憶装置
6日前
キオクシア株式会社
半導体記憶装置
6日前
キオクシア株式会社
半導体記憶装置
2日前
キオクシア株式会社
半導体記憶装置
2日前
キオクシア株式会社
半導体記憶装置
2日前
キオクシア株式会社
半導体記憶装置
6日前
キオクシア株式会社
メモリシステム
2日前
キオクシア株式会社
メモリデバイス
9日前
続きを見る
他の特許を見る