TOP
|
特許
|
意匠
|
商標
特許ウォッチ
Twitter
他の特許を見る
10個以上の画像は省略されています。
公開番号
2025145771
公報種別
公開特許公報(A)
公開日
2025-10-03
出願番号
2024046150
出願日
2024-03-22
発明の名称
半導体記憶装置
出願人
キオクシア株式会社
代理人
個人
,
個人
,
個人
主分類
H10B
12/00 20230101AFI20250926BHJP()
要約
【課題】酸化物半導体トランジスタを備えた半導体記憶装置を提供する。
【解決手段】実施形態の半導体記憶装置は、第1の電極と、第2の電極と、第1の電極と第2の電極との間に設けられた第1のキャパシタ絶縁膜と、を含む第1のキャパシタと、第2の電極に電気的に接続され、第1の方向に延びる第1の酸化物半導体層と、第1の酸化物半導体層を囲む第1のゲート電極と、第1の酸化物半導体層に電気的に接続され、第2の電極の反対側に設けられた第3の電極と、を含む第1のトランジスタと、を備える。第2の電極は、第1の部分と、第1の部分と第1の酸化物半導体層との間に設けられた第2の部分と、第2の部分と第1の酸化物半導体層との間に設けられた第3の部分と、を含む。第1の部分の第1の方向に垂直な第2の方向の第1の幅は、第2の部分の第2の方向の第2の幅よりも小さく、第3の部分の第2の方向の第3の幅は、第2の幅よりも小さい。
【選択図】図2
特許請求の範囲
【請求項1】
第1の電極と、第2の電極と、前記第1の電極と前記第2の電極との間に設けられた第1のキャパシタ絶縁膜と、を含む第1のキャパシタと、
前記第2の電極に電気的に接続され、第1の方向に延びる第1の酸化物半導体層と、前記第1の酸化物半導体層を囲む第1のゲート電極と、前記第1のゲート電極と前記第1の酸化物半導体層との間に設けられた第1のゲート絶縁膜と、前記第1の酸化物半導体層に電気的に接続され前記第2の電極との間に前記第1の酸化物半導体層が設けられた第3の電極と、を含む第1のトランジスタと、を備え、
前記第2の電極は、第1の部分と、前記第1の部分と前記第1の酸化物半導体層との間に設けられた第2の部分と、前記第2の部分と前記第1の酸化物半導体層との間に設けられた第3の部分と、を含み、
前記第1の部分の前記第1の方向に垂直な第2の方向の第1の幅は、前記第2の部分の前記第2の方向の第2の幅よりも小さく、
前記第3の部分の前記第2の方向の第3の幅は、前記第2の幅よりも小さい、半導体記憶装置。
続きを表示(約 900 文字)
【請求項2】
前記第3の部分は、前記第1の酸化物半導体層に接する、請求項1記載の半導体記憶装置。
【請求項3】
基板を更に、備え、
前記第1のキャパシタは、前記基板と前記第1のトランジスタとの間に設けられる請求項1記載の半導体記憶装置。
【請求項4】
前記第1の幅は前記第2の幅の0.5倍以上0.9倍以下であり、前記第3の幅は前記第2の幅の0.7倍以上0.95倍以下である、請求項1記載の半導体記憶装置。
【請求項5】
前記第3の幅は前記第1の幅よりも大きい、請求項1記載の半導体記憶装置。
【請求項6】
前記第2の電極は、金属又は金属化合物を含む第1の領域と、前記第1の領域と前記第1の酸化物半導体層との間に設けられ、前記第1の領域及び前記第1の酸化物半導体層と接し酸化物導電体を含む第2の領域と、を含む、請求項1記載の半導体記憶装置。
【請求項7】
前記第1の方向に垂直な断面において、前記第2の領域は、前記第1の領域の少なくとも一部を囲む、請求項6記載の半導体記憶装置。
【請求項8】
前記第2の領域は、インジウム(In)、ガリウム(Ga)、亜鉛(Zn)、マグネシウム(Mg)、アルミニウム(Al)、マンガン(Mn)、スズ(Sn)、チタン(Ti)、タンタル(Ta)、カルシウム(Ca)、タングステン(W)、及びモリブデン(Mo)からなる群から選ばれる少なくとも一つの金属元素と、酸素(O)と、を含む、請求項6記載の半導体記憶装置。
【請求項9】
前記第2の領域は多結晶質であり、前記第2の領域に含まれる複数の結晶の[111]方向が前記第1の方向に配向している、請求項6記載の半導体記憶装置。
【請求項10】
前記第1の領域は、チタン(Ti)、タンタル(Ta)、タングステン(W)、及びモリブデン(Mo)からなる群から選ばれる少なくとも一つの金属元素と、窒素(N)と、を含む請求項6記載の半導体記憶装置。
(【請求項11】以降は省略されています)
発明の詳細な説明
【技術分野】
【0001】
本発明の実施形態は、半導体記憶装置に関する。
続きを表示(約 3,000 文字)
【背景技術】
【0002】
酸化物半導体層にチャネルを形成する酸化物半導体トランジスタは、オフ動作時のチャネルリーク電流が極めて小さいという優れた特性を備える。このため、例えば、酸化物半導体トランジスタを、Dynamic Random Access Memory(DRAM)のメモリセルのスイッチングトランジスタに適用することが可能である。酸化物半導体トランジスタをメモリセルのスイッチングトランジスタに適用する場合、酸化物半導体トランジスタの酸化物半導体層は、キャパシタのストレージノード電極と電気的に接続される。
【先行技術文献】
【特許文献】
【0003】
米国特許出願公開2022/0285350号明細書
【発明の概要】
【発明が解決しようとする課題】
【0004】
本発明が解決しようとする課題は、酸化物半導体トランジスタを備えた半導体記憶装置を提供することにある。
【課題を解決するための手段】
【0005】
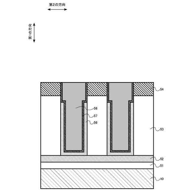
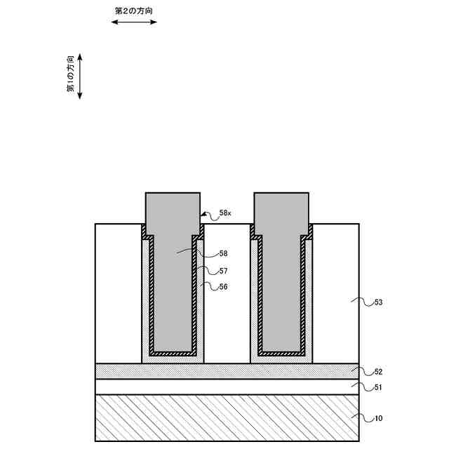
実施形態の半導体記憶装置は、第1の電極と、第2の電極と、前記第1の電極と前記第2の電極との間に設けられた第1のキャパシタ絶縁膜と、を含む第1のキャパシタと、前記第2の電極に電気的に接続され、第1の方向に延びる第1の酸化物半導体層と、前記第1の酸化物半導体層を囲む第1のゲート電極と、前記第1のゲート電極と前記第1の酸化物半導体層との間に設けられた第1のゲート絶縁膜と、前記第1の酸化物半導体層に電気的に接続され、前記第2の電極との間に前記第1の酸化物半導体層が設けられた第3の電極と、を含む第1のトランジスタと、を備え、前記第2の電極は、第1の部分と、前記第1の部分と前記第1の酸化物半導体層との間に設けられた第2の部分と、前記第2の部分と前記第1の酸化物半導体層との間に設けられた第3の部分と、を含み、前記第1の部分の前記第1の方向に垂直な第2の方向の第1の幅は、前記第2の部分の前記第2の方向の第2の幅よりも小さく、前記第3の部分の前記第2の方向の第3の幅は、前記第2の幅よりも小さい。
【図面の簡単な説明】
【0006】
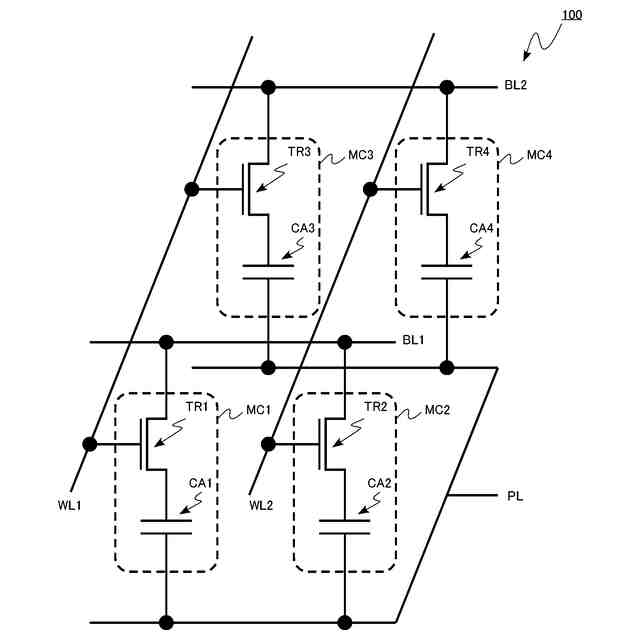
第1の実施形態の半導体記憶装置の等価回路図。
第1の実施形態の半導体記憶装置の模式断面図。
第1の実施形態の半導体記憶装置の模式断面図。
第1の実施形態の半導体記憶装置の模式断面図。
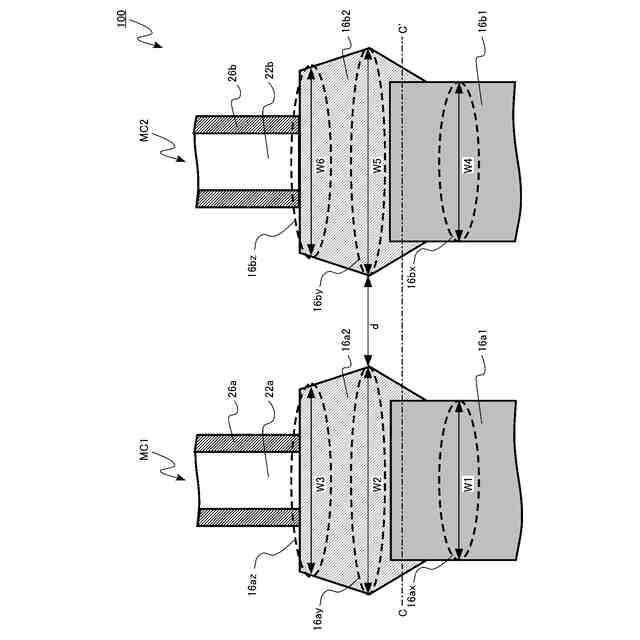
第1の実施形態の半導体記憶装置の拡大模式断面図。
第1の実施形態の半導体記憶装置の拡大模式断面図。
第1の実施形態の半導体記憶装置の製造方法の一例を示す模式断面図。
第1の実施形態の半導体記憶装置の製造方法の一例を示す模式断面図。
第1の実施形態の半導体記憶装置の製造方法の一例を示す模式断面図。
第1の実施形態の半導体記憶装置の製造方法の一例を示す模式断面図。
第1の実施形態の半導体記憶装置の製造方法の一例を示す模式断面図。
第1の実施形態の半導体記憶装置の製造方法の一例を示す模式断面図。
第1の実施形態の半導体記憶装置の製造方法の一例を示す模式断面図。
第1の実施形態の半導体記憶装置の製造方法の一例を示す模式断面図。
比較形態の半導体記憶装置の模式断面図。
第1の実施形態の第1の変形例の半導体記憶装置の模式断面図。
第1の実施形態の第1の変形例の半導体記憶装置の拡大模式断面図。
第1の実施形態の第2の変形例の半導体記憶装置の模式断面図。
第1の実施形態の第2の変形例の半導体記憶装置の模式断面図。
第2の実施形態の半導体記憶装置の模式断面図。
第2の実施形態の半導体記憶装置の模式断面図。
第2の実施形態の半導体記憶装置の拡大模式断面図。
第2の実施形態の半導体記憶装置の製造方法の一例を示す模式断面図。
第2の実施形態の半導体記憶装置の製造方法の一例を示す模式断面図。
第2の実施形態の半導体記憶装置の製造方法の一例を示す模式断面図。
第2の実施形態の半導体記憶装置の製造方法の一例を示す模式断面図。
第2の実施形態の半導体記憶装置の製造方法の一例を示す模式断面図。
第2の実施形態の半導体記憶装置の製造方法の一例を示す模式断面図。
第2の実施形態の半導体記憶装置の製造方法の一例を示す模式断面図。
【発明を実施するための形態】
【0007】
以下、図面を参照しつつ本発明の実施形態を説明する。なお、以下の説明では、同一又は類似の部材などには同一の符号を付し、一度説明した部材などについては適宜その説明を省略する場合がある。
【0008】
また、本明細書中、便宜上「上」、「下」、「上部」、「下部」、「上方」、又は「下方」という用語を用いる場合がある。「上」、「下」、「上部」、「下部」、「上方」、又は「下方」とはあくまで図面内での相対的位置関係を示す用語であり、重力に対する位置関係を規定する用語ではない。
【0009】
本明細書中の半導体記憶装置を構成する部材の化学組成の定性分析及び定量分析は、例えば、二次イオン質量分析法(Secondary Ion Mass Spectrometry:SIMS)、エネルギー分散型X線分光法(Energy Dispersive X-ray Spectroscopy:EDX)、ラザフォード後方散乱分析法(Rutherford Back-Scattering Spectroscopy:RBS)により行うことが可能である。また、半導体記憶装置を構成する部材の厚さ、部材間の距離、結晶粒径、結晶配向性等の測定には、例えば、透過型電子顕微鏡(Transmission Electron Microscope:TEM)を用いることが可能である。また、結晶配向性の測定には、例えば、ナノビーム電子回折法(Nano Beam Electron Diffraction:NBED)を用いることが可能である。
【0010】
(第1の実施形態)
第1の実施形態の半導体記憶装置は、第1の電極と、第2の電極と、第1の電極と第2の電極との間に設けられた第1のキャパシタ絶縁膜と、を含む第1のキャパシタと、第2の電極に電気的に接続され、第1の方向に延びる第1の酸化物半導体層と、第1の酸化物半導体層を囲む第1のゲート電極と、第1のゲート電極と第1の酸化物半導体層との間に設けられた第1のゲート絶縁膜と、第1の酸化物半導体層に電気的に接続され第2の電極との間に第1の酸化物半導体層が設けられた第3の電極と、を含む第1のトランジスタと、を備える。第2の電極は、第1の部分と、第1の部分と第1の酸化物半導体層との間に設けられた第2の部分と、第2の部分と第1の酸化物半導体層との間に設けられた第3の部分と、を含む。第1の部分の第1の方向に垂直な第2の方向の第1の幅は、第2の部分の第2の方向の第2の幅よりも小さく、第3の部分の第2の方向の第3の幅は、第2の幅よりも小さい。
(【0011】以降は省略されています)
この特許をJ-PlatPat(特許庁公式サイト)で参照する
関連特許
キオクシア株式会社
記憶装置
5日前
キオクシア株式会社
記憶装置
3日前
キオクシア株式会社
記憶装置
3日前
キオクシア株式会社
記憶装置
1日前
キオクシア株式会社
半導体装置
3日前
キオクシア株式会社
半導体装置
1日前
キオクシア株式会社
半導体装置
2日前
キオクシア株式会社
半導体装置
2日前
キオクシア株式会社
通信システム
3日前
キオクシア株式会社
基板ユニット
5日前
キオクシア株式会社
磁気記憶装置
2日前
キオクシア株式会社
磁気記憶装置
5日前
キオクシア株式会社
磁気記憶装置
3日前
キオクシア株式会社
磁気記憶装置
5日前
キオクシア株式会社
磁気記憶装置
3日前
キオクシア株式会社
半導体記憶装置
5日前
キオクシア株式会社
半導体記憶装置
3日前
キオクシア株式会社
半導体記憶装置
3日前
キオクシア株式会社
半導体記憶装置
2日前
キオクシア株式会社
半導体記憶装置
3日前
キオクシア株式会社
メモリシステム
2日前
キオクシア株式会社
半導体記憶装置
2日前
キオクシア株式会社
半導体記憶装置
5日前
キオクシア株式会社
メモリデバイス
3日前
キオクシア株式会社
半導体記憶装置
1日前
キオクシア株式会社
半導体記憶装置
1日前
キオクシア株式会社
メモリデバイス
8日前
キオクシア株式会社
半導体記憶装置
1日前
キオクシア株式会社
有機分子メモリ
1日前
キオクシア株式会社
半導体記憶装置
1日前
キオクシア株式会社
メモリシステム
1日前
キオクシア株式会社
メモリデバイス
1日前
キオクシア株式会社
半導体記憶装置
1日前
キオクシア株式会社
半導体記憶装置
5日前
キオクシア株式会社
半導体記憶装置
5日前
キオクシア株式会社
半導体記憶装置
1日前
続きを見る
他の特許を見る