TOP
|
特許
|
意匠
|
商標
特許ウォッチ
Twitter
他の特許を見る
10個以上の画像は省略されています。
公開番号
2025145942
公報種別
公開特許公報(A)
公開日
2025-10-03
出願番号
2024046465
出願日
2024-03-22
発明の名称
半導体記憶装置
出願人
キオクシア株式会社
代理人
弁理士法人きさらぎ国際特許事務所
主分類
H10B
43/40 20230101AFI20250926BHJP()
要約
【課題】好適に動作する半導体記憶装置を提供する。
【解決手段】半導体記憶装置10において、複数のパッド電極は、信号が入出力される第1パッド電極P
X
(IO0)と、電圧が供給される第2、第3パッド電極P
X
(VEXTQL)、P
X
(VSS)と、を含む。半導体基板200には、第1、第2トランジスタTr11、12と、第1、第2ダイオードDio11、12と、領域Repcに配される電源クランプ回路と、が設けられる。複数のビアコンタクト電極CCのうち、第2パッド電極と重なる位置に設けられ、第1トランジスタ、第1ダイオード及び電源クランプ回路に電気的に接続されたものは、配線層d42に共通に接続されている。複数のビアコンタクト電極のうち、第3パッド電極と重なる位置に設けられ、第2トランジスタ、第2ダイオード及び電力クランプ回路に電気的に接続されたものは、配線層d43に共通に接続されている。
【選択図】図13
特許請求の範囲
【請求項1】
半導体基板と、
前記半導体基板の表面と交差する積層方向に積層された複数の導電層と、
前記積層方向に延伸し、前記複数の導電層と対向する半導体柱と、
前記複数の導電層及び前記半導体柱の間に設けられた電荷蓄積膜と、
前記複数の導電層に対して前記積層方向の前記半導体基板と反対側に設けられた複数のパッド電極と、
前記半導体基板と前記複数の導電層との間に設けられた配線層と、
前記積層方向に延伸し、前記複数のパッド電極及び前記配線層の間に設けられ、前記複数のパッド電極及び前記配線層に含まれる配線に電気的に接続された複数のビアコンタクト電極と
を備え、
前記複数のパッド電極は、
入力信号が入力又は出力信号が出力される第1パッド電極と、
第1電圧が供給される第2パッド電極と、
前記第1電圧と異なる第2電圧が供給される第3パッド電極と
を含み、
前記半導体基板に、
前記第1パッド電極及び前記第2パッド電極に電気的に接続された第1トランジスタ及び第1ダイオードと、
前記第1パッド電極及び前記第3パッド電極に電気的に接続された第2トランジスタ及び第2ダイオードと、
前記第2パッド電極及び前記第3パッド電極に電気的に接続されたクランプ回路と
が設けられ、
前記複数のビアコンタクト電極は、
前記積層方向から見て前記第1パッド電極と重なる位置に設けられ、前記第1パッド電極に電気的に接続された第1ビアコンタクト電極と、
前記積層方向から見て前記第2パッド電極と重なる位置に設けられ、前記第2パッド電極及び前記第1トランジスタに電気的に接続された第2ビアコンタクト電極と、
前記積層方向から見て前記第2パッド電極と重なる位置に設けられ、前記第2パッド電極及び前記第1ダイオードに電気的に接続された第3ビアコンタクト電極と、
前記積層方向から見て前記第2パッド電極と重なる位置に設けられ、前記第2パッド電極及び前記クランプ回路に電気的に接続された第4ビアコンタクト電極と、
前記積層方向から見て前記第3パッド電極と重なる位置に設けられ、前記第3パッド電極及び前記第2トランジスタに電気的に接続された第5ビアコンタクト電極と、
前記積層方向から見て前記第3パッド電極と重なる位置に設けられ、前記第3パッド電極及び前記第2ダイオードに電気的に接続された第6ビアコンタクト電極と、
前記積層方向から見て前記第3パッド電極と重なる位置に設けられ、前記第3パッド電極及び前記クランプ回路に電気的に接続された第7ビアコンタクト電極と
を含み、
前記配線層は、
前記第2ビアコンタクト電極、前記第3ビアコンタクト電極及び前記第4ビアコンタクト電極に共通に接続された第1配線と、
前記第5ビアコンタクト電極、前記第6ビアコンタクト電極及び前記第7ビアコンタクト電極に共通に接続された第2配線と
を備える半導体記憶装置。
続きを表示(約 1,300 文字)
【請求項2】
前記配線層は、前記第1ビアコンタクト電極、前記第1トランジスタ、前記第1ダイオード、前記第2トランジスタ及び前記第2ダイオードに共通に接続された第3配線を更に備え、
前記第1トランジスタ及び前記第1ダイオードは、前記第1配線及び前記第3配線の間に並列に接続され、
前記第2トランジスタ及び前記第2ダイオードは、前記第2配線及び前記第3配線の間に並列に接続される
請求項1記載の半導体記憶装置。
【請求項3】
前記第1トランジスタは、NチャネルMOSトランジスタ又はPチャネルMOSトランジスタであり、
前記第2トランジスタは、NチャネルMOSトランジスタである
請求項1記載の半導体記憶装置。
【請求項4】
前記積層方向から見て、前記第1トランジスタよりも前記第1ダイオードの方が、前記第1ビアコンタクト電極の近くに設けられている
請求項1記載の半導体記憶装置。
【請求項5】
前記積層方向から見て、前記第1トランジスタよりも前記第1ダイオードの方が、前記クランプ回路の近くに設けられている
請求項1記載の半導体記憶装置。
【請求項6】
前記クランプ回路は、
ダイオードで構成される、
請求項1記載の半導体記憶装置。
【請求項7】
前記クランプ回路は、
RCTMOS(Resistance Capacitor Triggered Metal Oxide Semiconductor)回路で構成される、
請求項1記載の半導体記憶装置。
【請求項8】
前記第1ビアコンタクト電極と、前記第1トランジスタとの間に、電気的に直列に接続された抵抗を含む、
請求項1記載の半導体記憶装置。
【請求項9】
前記第1パッド電極、前記第2パッド電極、及び前記第3パッド電極は、
前記積層方向と交差する第1方向に、前記第3パッド電極、前記第1パッド電極、及び前記第2パッド電極の順に並んで設けられている
請求項1記載の半導体記憶装置。
【請求項10】
複数の貼合電極を介して互いに接続された第1半導体チップ及び第2半導体チップを備え、
前記第1半導体チップは、
前記半導体基板と、
前記複数の貼合電極の一部である複数の第1貼合電極と
を備え、
前記複数の導電層と、
前記第2半導体チップは、
前記半導体柱と、
前記電荷蓄積膜と、
前記複数のパッド電極と、
前記複数のビアコンタクト電極と、
前記複数の貼合電極の他の一部である複数の第2貼合電極と
を備え、
前記第1半導体チップ及び前記第2半導体チップは、前記複数の第1貼合電極が前記複数の第2貼合電極と対向する様に配置される
請求項1記載の半導体記憶装置。
(【請求項11】以降は省略されています)
発明の詳細な説明
【技術分野】
【0001】
本実施形態は、半導体記憶装置に関する。
続きを表示(約 2,500 文字)
【背景技術】
【0002】
半導体基板と、この半導体基板の表面と交差する積層方向に積層された複数の導電層と、これら複数の導電層に対向する半導体柱と、導電層及び半導体柱の間に設けられたゲート絶縁層と、を備える半導体記憶装置が知られている。ゲート絶縁層は、例えば、窒化シリコン(SiN)等の絶縁性の電荷蓄積膜やフローティングゲート等の導電性の電荷蓄積膜等の、データを記憶可能なメモリ部を備える。
【先行技術文献】
【特許文献】
【0003】
米国特許出願公開第2022/0285337号明細書
【発明の概要】
【発明が解決しようとする課題】
【0004】
好適に動作する半導体記憶装置を提供する。
【課題を解決するための手段】
【0005】
一の実施形態に係る半導体記憶装置は、半導体基板と、半導体基板の表面と交差する積層方向に積層された複数の導電層と、積層方向に延伸し複数の導電層と対向する半導体柱と、複数の導電層及び半導体柱の間に設けられた電荷蓄積膜と、複数の導電層に対して積層方向の半導体基板と反対側に設けられた複数のパッド電極と、半導体基板と複数の導電層との間に設けられた配線層と、積層方向に延伸し、複数のパッド電極及び配線層の間に設けられ、複数のパッド電極及び配線層に含まれる配線に電気的に接続された複数のビアコンタクト電極と、を備える。
【0006】
複数のパッド電極は、入力信号が入力又は出力信号が出力される第1パッド電極と、第1電圧が供給される第2パッド電極と、第1電圧と異なる第2電圧が供給される第3パッド電極と、を含む。
【0007】
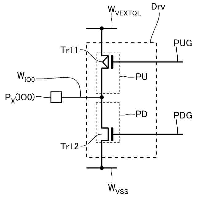
半導体基板には、第1パッド電極及び第2パッド電極に電気的に接続された第1トランジスタ及び第1ダイオードと、第1パッド電極及び第3パッド電極に電気的に接続された第2トランジスタ及び第2ダイオードと、第2パッド電極及び第3パッド電極に電気的に接続されたクランプ回路と、が設けられている。
【0008】
複数のビアコンタクト電極は、第1ビアコンタクト電極と、第2ビアコンタクト電極と、第3ビアコンタクト電極と、第4ビアコンタクト電極と、第5ビアコンタクト電極と、第6ビアコンタクト電極と、第7ビアコンタクト電極と、を含む。第1ビアコンタクト電極は、積層方向から見て第1パッド電極と重なる位置に設けられ、第1パッド電極に電気的に接続されている。第2ビアコンタクト電極は、積層方向から見て第2パッド電極と重なる位置に設けられ、第2パッド電極及び第1トランジスタに電気的に接続されている。第3ビアコンタクト電極は、積層方向から見て第2パッド電極と重なる位置に設けられ、第2パッド電極及び第1ダイオードに電気的に接続されている。第4ビアコンタクト電極は、積層方向から見て第2パッド電極と重なる位置に設けられ、第2パッド電極及びクランプ回路に電気的に接続されている。第5ビアコンタクト電極は、積層方向から見て第3パッド電極と重なる位置に設けられ、第3パッド電極及び第2トランジスタに電気的に接続されている。第6ビアコンタクト電極は、積層方向から見て第3パッド電極と重なる位置に設けられ、第3パッド電極及び第2ダイオードに電気的に接続されている。第7ビアコンタクト電極は、積層方向から見て第3パッド電極と重なる位置に設けられ、第3パッド電極及びクランプ回路に電気的に接続されている。
【0009】
配線層は、第2ビアコンタクト電極、第3ビアコンタクト電極及び第4ビアコンタクト電極に共通に接続された第1配線と、第5ビアコンタクト電極、第6ビアコンタクト電極及び第7ビアコンタクト電極に共通に接続された第2配線と、を備える。
【図面の簡単な説明】
【0010】
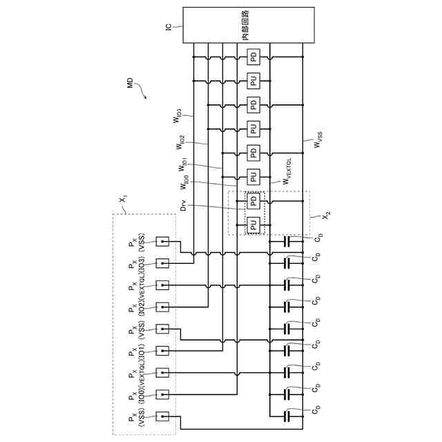
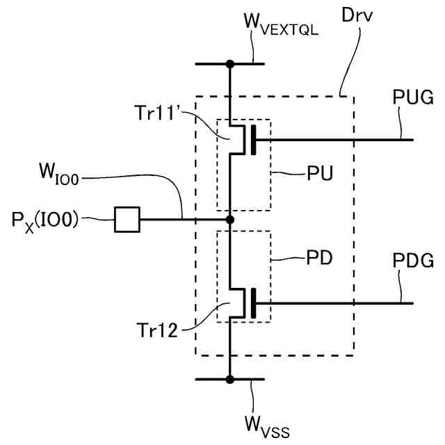
メモリダイMDの一部の構成を示す模式的な回路図である。
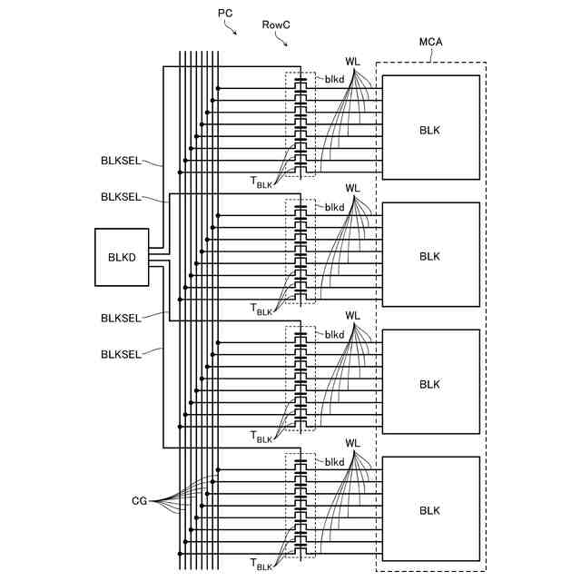
周辺回路PCの一部の構成を示す模式的な回路図である。
第1実施形態に係る半導体記憶装置の構成例を示す模式的な分解斜視図である。
第1実施形態に係る複数の外部パッド電極の配置を模式的に示す平面図である。
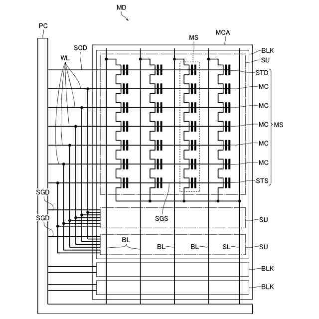
メモリダイMDの構成を示す模式的な回路図である。
メモリダイMDの一部の構成を示す模式的な回路図である。
メモリダイMDの一部の構成を示す模式的な回路図である。
メモリダイMDの一部の構成を示す模式的な断面図である。
メモリダイMDの一部の構成を示す模式的な断面図である。
チップC
M
の一部の構成を示す模式的な断面図である。
第1実施形態に係る保護回路を含む半導体記憶装置の構成を示す模式的な回路図である。
第1実施形態に係る保護回路を含む半導体記憶装置を示す模式的なレイアウト図である。
図11に示す回路図の構成を模式的に示す斜視図である。
図11に示す回路図の構成を模式的に示す斜視図である。
図12に示す回路図の構成を模式的に示す斜視図である。
比較例に係る保護回路を含む半導体記憶装置の構成を示す模式的な回路図である。
比較例に係る保護回路を含む半導体記憶装置を示す模式的なレイアウト図である。
図16に示す回路図の構成を模式的に示す斜視図である。
第1実施形態に係るESD電流I
esd
が流れる経路を示す模式的な回路図である。
第1実施形態に係るESD電流I
esd
が流れる経路を示す回路図の構成を模式的に示す斜視図である。
第2実施形態に係る保護回路を含む半導体記憶装置の回路構成を示す模式的なレイアウト図である。
第2実施形態に係る保護回路を含む半導体記憶装置の回路構成を模式的に示す斜視図である。
第2実施形態に係る保護回路を含む半導体記憶装置の構成を示す模式的な回路図である。
【発明を実施するための形態】
(【0011】以降は省略されています)
この特許をJ-PlatPat(特許庁公式サイト)で参照する
関連特許
キオクシア株式会社
メモリシステム
24日前
個人
半導体装置
19日前
エイブリック株式会社
半導体装置
25日前
東レ株式会社
太陽電池モジュール
19日前
エイブリック株式会社
縦型ホール素子
13日前
エイブリック株式会社
縦型ホール素子
13日前
ローム株式会社
抵抗チップ
4日前
ローム株式会社
半導体装置
20日前
富士通株式会社
半導体装置
18日前
株式会社半導体エネルギー研究所
表示装置
13日前
三菱電機株式会社
半導体装置
18日前
富士電機株式会社
半導体装置
10日前
ミツミ電機株式会社
半導体装置
25日前
日亜化学工業株式会社
発光装置
17日前
日亜化学工業株式会社
発光素子
26日前
日亜化学工業株式会社
発光素子
18日前
TDK株式会社
圧電素子
18日前
富士電機株式会社
半導体装置の製造方法
12日前
ローム株式会社
半導体装置
5日前
ローム株式会社
TVSダイオード
26日前
デクセリアルズ株式会社
受光装置
24日前
ローム株式会社
窒化物半導体装置
13日前
ローム株式会社
窒化物半導体装置
4日前
サンケン電気株式会社
半導体装置
24日前
ローム株式会社
半導体装置
26日前
TDK株式会社
光検知装置
25日前
ローム株式会社
半導体装置
3日前
ローム株式会社
TVSダイオード
26日前
株式会社東芝
熱電変換装置
26日前
沖電気工業株式会社
発光装置及び表示装置
19日前
キオクシア株式会社
記憶装置
24日前
株式会社カネカ
太陽電池モジュール
26日前
大日本印刷株式会社
太陽電池
6日前
内山工業株式会社
太陽電池
24日前
株式会社カネカ
太陽電池モジュール
17日前
日本電気株式会社
超伝導量子回路装置
18日前
続きを見る
他の特許を見る