TOP
|
特許
|
意匠
|
商標
特許ウォッチ
Twitter
他の特許を見る
10個以上の画像は省略されています。
公開番号
2025146515
公報種別
公開特許公報(A)
公開日
2025-10-03
出願番号
2024047340
出願日
2024-03-22
発明の名称
半導体記憶装置
出願人
キオクシア株式会社
代理人
弁理士法人きさらぎ国際特許事務所
主分類
H10B
43/40 20230101AFI20250926BHJP()
要約
【課題】高集積化が可能な半導体記憶装置を提供する。
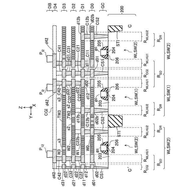
【解決手段】半導体記憶装置において、半導体基板200には、Y方向の正側から負側にかけて3つのワード線スイッチWLSW(2)、WLSW(1)、WLSW(2)を構成する半導体領域203が形成されている。半導体領域203の上面には、X方向に延伸する3つの電極gcが設けられている。電極gcは、半導体領域203の上面に設けられたゲート絶縁層204と、ゲート絶縁層204の上面に設けられたゲート電極206と、ゲート絶縁層204及びゲート電極206のY方向の両側面に設けられたゲート絶縁膜205と、を備える。ビアコンタクト電極C41,C31,C21,C11,CS1及び接続部d31,d21,d11,d01が、配線CGIから半導体領域203のソース領域と重なる第1領域R
CGI
まで真下又は略真下に接続する。
【選択図】図17
特許請求の範囲
【請求項1】
半導体基板と、
前記半導体基板の一方側の面に設けられ、第1方向及び前記第1方向と交差する第2方向に並ぶ複数のトランジスタと、
前記半導体基板に対して前記第1方向及び前記第2方向と交差する第3方向の前記一方側に設けられ、前記第3方向に並ぶ複数の導電層を有する積層体と、
前記半導体基板と前記積層体との間に設けられ、前記複数の導電層と前記複数のトランジスタとを接続する複数の配線層と、
を備え、
前記第3方向から見て前記複数のトランジスタが配置される第1回路領域と、前記第3方向から見て前記第1回路領域と重なり、前記第1回路領域よりも前記第1方向の幅が小さいフックアップ領域と、を有し、
前記積層体は、前記第2方向に並んだ第1積層構造及び第2積層構造を有し、前記第1積層構造は、前記第3方向に並ぶ複数の第1導電層を有し、前記第2積層構造は、前記第3方向に並ぶ複数の第2導電層を有し、
前記複数のトランジスタは、前記第1方向に並ぶ複数の第1トランジスタ及び複数の第2トランジスタを含み、
前記複数の配線層は、前記複数の第1導電層と前記複数の第1トランジスタとを接続する複数の第1配線、及び、前記複数の第2導電層と前記複数の第2トランジスタとを接続する複数の第2配線と、を含み、
前記複数の第1配線の前記フックアップ領域から前記第1回路領域に向けて前記第1方向に延びる第1部分と、前記第2配線の前記フックアップ領域から前記第1回路領域に向けて前記第1方向に延びる第2部分とは、前記第3方向の異なる位置に配置されている
半導体記憶装置。
続きを表示(約 3,000 文字)
【請求項2】
前記複数の第1配線の前記第1部分と、前記複数の第2配線の前記第2部分とは、前記第3方向に重なる配線領域に配置されている
請求項1記載の半導体記憶装置。
【請求項3】
前記積層体は、
前記第3方向に延び、前記複数の導電層に対向する複数の半導体層と、
前記フックアップ領域において前記複数の導電層に一端が接続され、他端が前記複数の配線層に向けて前記第3方向に延びる複数のビアコンタクト電極と、
を備える
請求項1記載の半導体記憶装置。
【請求項4】
前記複数のトランジスタは、それぞれ前記第2方向に並ぶソース領域及びドレイン領域を有し、
前記複数の配線層は、
前記第1回路領域において、前記ソース領域に対応する第1領域に設けられ、前記第1方向に並ぶと共に前記第3方向に並ぶ複数の第1接続部と、
前記フックアップ領域において、前記第1領域に隣接する第2領域に設けられ、前記複数のトランジスタの前記第1方向の配置ピッチよりも小さいピッチで前記第1方向に並ぶと共に前記第3方向に並ぶ複数の第2接続部と、
前記第1回路領域において、前記複数のトランジスタのドレイン領域に対応する第3領域に設けられ、前記第1方向に並ぶと共に前記第3方向に並ぶ複数の第3接続部と、
前記第3方向に並ぶ前記複数の第1接続部及び前記トランジスタのソース領域を接続する、前記第3方向に延びる第1ビアと、
前記第3方向に並ぶ前記複数の第2接続部を接続する、前記第3方向に延びる第2ビアと、
前記第3方向に並ぶ前記複数の第3接続部及び前記トランジスタのドレイン領域を接続する、前記第3方向に延びる第3ビアと、
を有する
請求項1記載の半導体記憶装置。
【請求項5】
前記第2接続部は、前記複数の第1導電層に接続される複数の第4接続部及び前記複数の第2導電層に接続される複数の第5接続部を含み、
前記第1配線は、前記第4接続部と前記第1トランジスタのドレイン領域に対応した前記第3接続部とを接続し、
前記第2配線は、前記第5接続部と前記第2トランジスタのドレイン領域に対応した前記第3接続部とを接続する
請求項4記載の半導体記憶装置。
【請求項6】
前記複数のトランジスタは、
前記第1トランジスタ及び前記第2トランジスタが前記第1方向に並ぶ第1行と前記第2方向に隣接した第2行に設けられ、前記第1方向に並ぶ複数の第3トランジスタと、
前記第2行の前記第1行とは反対側に隣接する第3行に設けられ、前記第3トランジスタと半導体領域を共有し、前記第1方向に並ぶ複数の第4トランジスタと、
を更に含み、
前記複数の配線層は、
前記複数の第1導電層と前記複数の第3トランジスタとを接続する複数の第3配線と、
前記複数の第2導電層と前記複数の第4トランジスタとを接続する複数の第4配線と、
を更に含み、
前記第1トランジスタ、前記第2トランジスタ、前記第3トランジスタ及び前記第4トランジスタが配置される領域の前記第2方向の幅は、前記第1積層構造及び前記第2積層構造が配置される領域の前記第2方向の幅と等しい
請求項1記載の半導体記憶装置。
【請求項7】
前記複数のトランジスタは、
前記第1トランジスタ及び前記第2トランジスタが前記第1方向に並ぶ第1行と前記第2方向に隣接した第2行に設けられ、前記第1方向に並ぶ複数の第3トランジスタと、
前記第2行の前記第1行とは反対側に隣接する第3行に設けられ、前記第3トランジスタと半導体領域を共有し、前記第1方向に並ぶ複数の第4トランジスタと、
を更に含み、
前記第2接続部は、前記複数の第1導電層に接続される複数の第6接続部及び前記複数の第2導電層に接続される複数の第7接続部を含み、前記6接続部は前記第1方向に並び、前記第7接続部は、前記第6接続部とは前記第2方向の異なる位置に前記第1方向に並び、
前記第3配線は、前記第6接続部と前記第3トランジスタのドレイン領域に対応した前記第3接続部とを接続し、
前記第4配線は、前記第7接続部と前記第4トランジスタのドレイン領域に対応した前記第3接続部とを接続する
請求項4記載の半導体記憶装置。
【請求項8】
前記第6接続部へ接続される前記第1導電層の前記第3方向の位置の番号の順番と、前記第7接続部へ接続される前記第2導電層の前記第3方向の位置の番号の順番とが等しい
請求項7記載の半導体記憶装置。
【請求項9】
前記第1方向に隣接する一対の前記第2接続部の一方に接続される前記第1導電層の前記第3方向の位置の番号と、他方に接続される前記第2導電層の前記第3方向の位置の番号とが等しい
請求項7記載の半導体記憶装置。
【請求項10】
前記積層体は、前記第2積層構造の前記第1積層構造とは前記第2方向の反対側に並んだ第3積層構造を更に有し、前記第3積層構造は、前記第3方向に並ぶ複数の第3導電層を有し、
前記複数のトランジスタは、
前記第1トランジスタ及び前記第2トランジスタが前記第1方向に並ぶ第1行に配置され、前記第1トランジスタ及び前記第2トランジスタと共に前記第1方向に並ぶ第5トランジスタと、
前記第1行と前記第2方向に隣接した第2行に設けられ、前記第1方向に並ぶ複数の第6トランジスタと、
前記第2行の前記第1行とは反対側に隣接する第3行に設けられ、前記第6トランジスタと半導体領域を共有し、前記第1方向に並ぶ複数の第7トランジスタと、
前記第3行の前記第2行とは反対側に隣接する第4行に設けられ、前記第1方向に並ぶ複数の第8トランジスタと、
を更に含み、
前記複数の配線層は、
前記複数の第3導電層と前記複数の第5トランジスタとを接続する複数の第5配線と、
前記複数の第1導電層と前記複数の第6トランジスタとを接続する複数の第6配線と、
前記複数の第2導電層と前記複数の第7トランジスタとを接続する複数の第7配線と、
前記複数の第3導電層と前記複数の第8トランジスタとを接続する複数の第8配線と、
を含み、
前記第1トランジスタ、前記第2トランジスタ、前記第5トランジスタ、前記第6トランジスタ、前記第7トランジスタ及び前記第8トランジスタが配置される領域の前記第2方向の幅は、前記第1積層構造、前記第2積層構造及び前記第3積層構造が配置される領域の前記第2方向の幅と等しく、
前記複数の第5配線の前記フックアップ領域から前記第1回路領域に向けて前記第1方向に延びる第3部分は、前記第1配線の第1部分及び前記第2配線の前記第2部分とは、前記第3方向の異なる位置に配置されている
請求項1記載の半導体記憶装置。
(【請求項11】以降は省略されています)
発明の詳細な説明
【技術分野】
【0001】
本実施形態は、半導体記憶装置に関する。
続きを表示(約 4,000 文字)
【背景技術】
【0002】
基板と、この基板の表面と交差する方向に積層された複数の導電層と、これら複数の導電層に対向する半導体層と、導電層及び半導体層の間に設けられたゲート絶縁層と、を備える半導体記憶装置が知られている。ゲート絶縁層は、例えば、窒化シリコン(SiN)等の絶縁性の電荷蓄積層やフローティングゲート等の導電性の電荷蓄積層等の、データを記憶可能なメモリ部を備える。
【先行技術文献】
【特許文献】
【0003】
特開2024-031772号
【発明の概要】
【発明が解決しようとする課題】
【0004】
高集積化が可能な半導体記憶装置を提供する。
【課題を解決するための手段】
【0005】
一の実施形態に係る半導体記憶装置は、半導体基板と、半導体基板の一方側の面に設けられ、第1方向及び第1方向と交差する第2方向に並ぶ複数のトランジスタと、半導体基板に対して第1方向及び第2方向と交差する第3方向の一方側に設けられ、第3方向に並ぶ複数の導電層を有する積層体と、半導体基板と積層体との間に設けられ、複数の導電層と前記複数のトランジスタとを接続する複数の配線層と、を備える。半導体記憶装置は、第3方向から見て複数のトランジスタが配置される第1回路領域と、第3方向から見て第1回路領域と重なり、第1回路領域よりも第1方向の幅が小さいフックアップ領域と、を有する。積層体は、第2方向に並んだ第1積層構造及び第2積層構造を有する。第1積層構造は、第3方向に並ぶ複数の第1導電層を有する。第2積層構造は、第3方向に並ぶ複数の第2導電層を有する。複数のトランジスタは、第1方向に並ぶ複数の第1トランジスタ及び複数の第2トランジスタを含む。配線層は、複数の第1導電層と複数の第1トランジスタとを接続する複数の第1配線、及び、複数の第2導電層と複数の第2トランジスタとを接続する複数の第2配線と、を含む。複数の第1配線のフックアップ領域から第1回路領域に向けて第1方向に延びる第1部分と、第2配線のフックアップ領域から第1回路領域に向けて第1方向に延びる第2部分とは、第3方向の異なる位置に配置されている。
【図面の簡単な説明】
【0006】
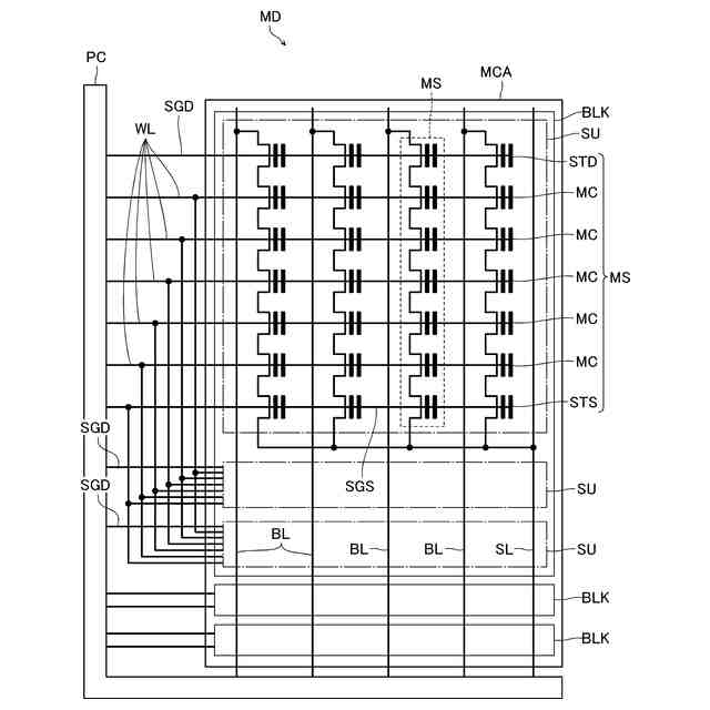
第1実施形態に係るメモリダイMDの構成を示す模式的なブロック図である。
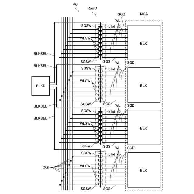
メモリダイMDの一部の構成を示す模式的な回路図である。
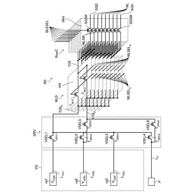
電圧生成回路VG、ドライバ回路DRV及びロウデコーダRDの構成を示す模式的な回路図である。
周辺回路PCの一部の構成を示す模式的な回路図である。
メモリダイMDの構成例を示す模式的な分解斜視図である。
チップC
M
の構成例を示す模式的な底面図である。
メモリダイMDの一部の構成を示す模式的な断面図である。
メモリダイMDの一部の構成を示す模式的な断面図である。
チップC
M
の一部の構成を示す模式的な底面図である。
チップC
M
の一部の構成を示す模式的な断面図である。
フックアップ領域R
HU
の構成例を示す模式的な平面図である。
チップC
P
の構成例を示す模式的な平面図である。
図12のAで示した部分の模式的な拡大図である。
制御回路SYN及び通過配線TWを示す模式的な平面図である。
ワード線スイッチWLSWの構成例を示す模式的な平面図である。
導電層110とワード線スイッチWLSW及び選択ゲート線スイッチSGSWとの間の経路を示す模式的な断面図である。
ワード線スイッチWLSW、接続部及びビアコンタクト電極の構造を示す模式的な断面図である。
フックアップ領域R
HU
における貼合電極P
I2
の位置を示す模式的な平面図である。
配線層D4に設けられた配線CGI及び接続部d42の位置を示す模式的な平面図である。
配線層D3における配線パターンの一例を示す模式的な平面図である。
配線層D2における配線パターンの一例を示す模式的な平面図である。
配線層D1における配線パターンの一例を示す模式的な平面図である。
配線層D0における配線パターンの一例を示す模式的な平面図である。
図23の一部の領域を拡大した平面図である。
配線層D1の更に他の例を示す平面図である。
配線層D1の更に他の例を示す平面図である。
比較例の配線層D1の第1行RO1に設けられるフックアップ配線W1の模式的な平面図である。
第1実施形態の配線層D1及びD2の第1行RO1に設けられるフックアップ配線W1及びW2の模式的な平面図である。
第2実施形態に係る配線層D3~D0の接続部d32~d02の位置を示す模式的な平面図である。
第2実施形態の第1変形例に係る配線層D3~D0の接続部d32~d02の位置を示す模式的な平面図である。
第2実施形態の第2変形例に係る配線層D3~D0の接続部d32~d02の位置を示す模式的な平面図である。
第3実施形態に係る半導体基板500の構成例を示す模式的な平面図である。
第4実施形態に係るワード線スイッチWLSWの構成例を示す模式的な平面図である。
配線層D2における配線パターンの一例を示す模式的な平面図である。
配線層D1における配線パターンの一例を示す模式的な平面図である。
配線層D0における配線パターンの一例を示す模式的な平面図である。
第5実施形態に係るワード線スイッチWLSWの構成例を示す模式的な平面図である。
第1行RO1に配置されるフックアップ配線W2、W1、W0の配線パターンを示す模式的な平面図である。
第6実施形態に係る半導体記憶装置の概略的な構成を示す図である。
第6実施形態に係る半導体記憶装置の概略的な構成を示す図である。
第7実施形態に係る半導体記憶装置の一部の構成を示す模式的な断面図である。
第8実施形態に係る半導体記憶装置におけるビアコンタクト電極CCの配置例、並びにこれに対応する配線層の接続部dn2及びワード線スイッチWLSWの配置例を示す模式的な平面図である。
ビアコンタクト電極CC及びワード線スイッチWLSWのワード線WL番号のアサイン例を示す模式的な平面図である。
第9実施形態に係る半導体記憶装置におけるビアコンタクト電極CCの配置例、並びにこれに対応する配線層の接続部dn2及びワード線スイッチWLSWの配置例を示す模式的な平面図である。
ビアコンタクト電極CC及びワード線スイッチWLSWのワード線WL番号のアサイン例を示す模式的な平面図である。
第10実施形態に係る半導体記憶装置におけるビアコンタクト電極CCの配置例、並びにこれに対応する配線層の接続部dn2及びワード線スイッチWLSWの配置例を示す模式的な平面図である。
ビアコンタクト電極CC及びワード線スイッチWLSWのワード線WL番号のアサイン例を示す模式的な平面図である。
第11実施形態に係る半導体記憶装置におけるビアコンタクト電極CCの配置例、並びにこれに対応する配線層の接続部dn2及びワード線スイッチWLSWの配置例を示す模式的な平面図である。
ビアコンタクト電極CC及びワード線スイッチWLSWのワード線WL番号のアサイン例を示す模式的な平面図である。
【発明を実施するための形態】
【0007】
次に、実施形態に係る半導体記憶装置を、図面を参照して詳細に説明する。尚、以下の実施形態はあくまでも一例であり、本発明を限定する意図で示されるものではない。また、以下の図面は模式的なものであり、説明の都合上、一部の構成等が省略される場合がある。また、複数の実施形態について共通する部分には同一の符号を付し、説明を省略する場合がある。
【0008】
また、本明細書において「半導体記憶装置」と言った場合には、メモリダイを意味する事もあるし、メモリチップ、メモリカード、SSD(Solid State Drive)等の、コントローラダイを含むメモリシステムを意味する事もある。更に、スマートホン、タブレット端末、パーソナルコンピュータ等の、ホストコンピュータを含む構成を意味する事もある。
【0009】
また、本明細書において、第1の構成が第2の構成に「電気的に接続されている」と言った場合、第1の構成は第2の構成に直接接続されていても良いし、第1の構成が第2の構成に配線、半導体部材又はトランジスタ等を介して接続されていても良い。例えば、3つのトランジスタを直列に接続した場合には、2つ目のトランジスタがOFF状態であったとしても、1つ目のトランジスタは3つ目のトランジスタに「電気的に接続」されている。
【0010】
また、本明細書において、第1の構成が第2の構成及び第3の構成の「間に接続されている」と言った場合、第1の構成、第2の構成及び第3の構成が直列に接続され、且つ、第2の構成が第1の構成を介して第3の構成に接続されていることを意味する場合がある。
(【0011】以降は省略されています)
この特許をJ-PlatPat(特許庁公式サイト)で参照する
関連特許
キオクシア株式会社
半導体装置
24日前
キオクシア株式会社
半導体装置
18日前
キオクシア株式会社
メモリシステム
1か月前
個人
積和演算用集積回路
24日前
サンケン電気株式会社
半導体装置
23日前
エイブリック株式会社
縦型ホール素子
1か月前
日機装株式会社
半導体発光装置
18日前
エイブリック株式会社
縦型ホール素子
1か月前
旭化成株式会社
発光素子
1か月前
ローム株式会社
半導体装置
2日前
ローム株式会社
抵抗チップ
1か月前
富士電機株式会社
半導体装置
1か月前
株式会社半導体エネルギー研究所
表示装置
2日前
株式会社半導体エネルギー研究所
表示装置
1か月前
株式会社東芝
半導体装置
10日前
三菱電機株式会社
半導体装置
10日前
三菱電機株式会社
半導体装置
1か月前
日亜化学工業株式会社
発光装置
1か月前
ローム株式会社
半導体集積回路
1か月前
日亜化学工業株式会社
発光装置
1か月前
サンケン電気株式会社
半導体装置
10日前
富士電機株式会社
半導体装置の製造方法
1か月前
ローム株式会社
窒化物半導体装置
1か月前
ローム株式会社
半導体装置
23日前
ローム株式会社
窒化物半導体装置
1か月前
ローム株式会社
半導体装置
1か月前
ローム株式会社
半導体装置
1か月前
株式会社半導体エネルギー研究所
発光デバイス
1か月前
株式会社半導体エネルギー研究所
発光デバイス
18日前
日亜化学工業株式会社
発光素子
23日前
株式会社カネカ
太陽電池モジュール
1か月前
大日本印刷株式会社
太陽電池
1か月前
株式会社MARUWA
発光装置及び照明器具
1か月前
サンケン電気株式会社
発光装置
1か月前
ローム株式会社
光センサ
1か月前
ローム株式会社
RAM
1か月前
続きを見る
他の特許を見る