TOP
|
特許
|
意匠
|
商標
特許ウォッチ
Twitter
他の特許を見る
10個以上の画像は省略されています。
公開番号
2025145953
公報種別
公開特許公報(A)
公開日
2025-10-03
出願番号
2024046480
出願日
2024-03-22
発明の名称
半導体記憶装置
出願人
キオクシア株式会社
代理人
弁理士法人鈴榮特許綜合事務所
主分類
H10B
43/50 20230101AFI20250926BHJP()
要約
【課題】製造時の工数が少なく、かつチップ面積を縮小できる半導体記憶装置を提供する。
【解決手段】実施形態に係る半導体記憶装置3は、Z方向に見て、X方向に並ぶ引出領域HA及びメモリ領域MAを有する配線層21と、配線層21の上方にZ方向に互いに離れて設けられ、引出領域HAにおいて複数の第1テラス部分を含む複数の配線層23と、複数の配線層23の上方にZ方向に互いに離れて設けられ、引出領域HAにおいて複数の第1テラス部分とZ方向に並び、複数の第1テラス部分と重なる部分を有する複数の第2テラス部分を含む複数の配線層24と、引出領域HAのうち複数の第1テラス部分と複数の第2テラス部分とが重なる位置においてZ方向に延び、一端が配線層21と複数の配線層23との間に位置し、複数の第2テラス部分の1つを通過し、複数の第1テラス部分の1つと電気的に接続されるコンタクトCCと、を備える。
【選択図】図8
特許請求の範囲
【請求項1】
第1方向に見て、前記第1方向と交差する第2方向に並ぶ第1領域及び第2領域を有する第1配線層と、
前記第1配線層の上方に前記第1方向に互いに離れて設けられ、前記第1領域において第1階段領域を含む複数の第2配線層と、
ここで、前記複数の第2配線層はそれぞれ、前記第1階段領域において、上層の第2配線層と前記第1方向に重ならないように設けられた複数の第1テラス部分を有し、
前記複数の第2配線層の上方に前記第1方向に互いに離れて設けられ、前記第1領域において前記第1階段領域と前記第1方向に並び、前記第1階段領域と重なる部分を有する第2階段領域を含む複数の第3配線層と、
ここで、前記複数の第3配線層はそれぞれ、前記第2階段領域において、上層の第3配線層と前記第1方向に重ならないように設けられた複数の第2テラス部分を有し、
前記第2領域において前記第1方向に延び、一端が前記第1配線層に接し、前記複数の第2配線層及び前記複数の第3配線層を通過する第1メモリピラーと、
前記第1領域のうち前記第1階段領域と前記第2階段領域とが重なる位置において前記第1方向に延び、一端が前記第1配線層と前記複数の第2配線層との間に位置し、前記複数の第2テラス部分の1つを通過し、前記複数の第1テラス部分の1つと電気的に接続される第1コンタクトと、
を備える、半導体記憶装置。
続きを表示(約 1,600 文字)
【請求項2】
前記第1領域のうち前記第1階段領域と前記第2階段領域とが重なる位置において前記第1方向に延び、一端が前記第1配線層と前記複数の第2配線層との間に位置し、前記複数の第1テラス部分の1つを通過し、前記複数の第2テラス部分の1つと電気的に接続される第2コンタクトを更に備える、
請求項1記載の半導体記憶装置。
【請求項3】
前記第1階段領域は、前記第2方向に並ぶ第1サブ階段領域と、第2サブ階段領域とを含み、
前記複数の第1テラス部分は、
前記第1サブ階段領域において、前記第2領域から前記第2方向に降段するように設けられた複数の第3テラス部分と、
前記第2サブ階段領域において、前記第2領域から前記第2方向に昇段するように設けられた複数の第4テラス部分と、
を含み、
前記第2階段領域は、前記第2方向に並ぶ第3サブ階段領域と、第4サブ階段領域とを含み、
前記複数の第2テラス部分は、
前記第3サブ階段領域において、前記第2領域から前記第2方向に遠ざかる方向に降段するように設けられた複数の第5テラス部分と、
前記第4サブ階段領域において、前記第2領域から前記第2方向に遠ざかる方向に昇段するように設けられた複数の第6テラス部分と、
を含み、
前記複数の第2配線層の1つに対応する第3テラス部分及び第4テラス部分は、互いに電気的に絶縁され、
前記複数の第3配線層の1つに対応する第5テラス部分及び第6テラス部分は、互いに電気的に絶縁される、
請求項1記載の半導体記憶装置。
【請求項4】
前記第1サブ階段領域及び前記第2サブ階段領域は、前記第2領域から前記第2方向に遠ざかる方向にこの順に並び、
前記第3サブ階段領域及び前記第4サブ階段領域は、前記第2領域から前記第2方向に遠ざかる方向にこの順に並ぶ、
請求項3記載の半導体記憶装置。
【請求項5】
前記第1サブ階段領域と、前記第4サブ階段領域とは、前記第1方向に重なる位置に設けられる、
請求項3記載の半導体記憶装置。
【請求項6】
前記第2サブ階段領域と、前記第3サブ階段領域とは、前記第1方向に重なる位置に設けられる、
請求項3記載の半導体記憶装置。
【請求項7】
前記複数の第1テラス部分の各々は、前記複数の第2配線層の他の部分よりも前記第1方向に厚く、
前記複数の第2テラス部分の各々は、前記複数の第3配線層の他の部分よりも前記第1方向に厚い、
請求項1記載の半導体記憶装置。
【請求項8】
前記第1コンタクトは、前記第1方向に前記第1サブ階段領域と前記第4サブ階段領域とが重なる位置において、前記複数の第3テラス部分の1つと、前記複数の第6テラス部分の1つに電気的に接続される、
請求項5記載の半導体記憶装置。
【請求項9】
前記第1領域のうち前記第1階段領域と前記第2階段領域とが重なる位置において前記第1方向に延び、一端が前記第1配線層と前記複数の第2配線層との間に位置し、前記複数の第1テラス部分の1つを通過し、前記複数の第2テラス部分の1つと電気的に接続される第2コンタクトを更に備え、
前記第2コンタクトは、前記第1方向に前記第2サブ階段領域と前記第3サブ階段領域とが重なる位置において、前記複数の第4テラス部分の1つと、前記複数の第5テラス部分の1つに電気的に接続される、
請求項6記載の半導体記憶装置。
【請求項10】
前記複数の第3配線層の最下層に設けられる配線層に対応する第5テラス部分及び第6テラス部分は、互いに電気的に接続される、
請求項3記載の半導体記憶装置。
(【請求項11】以降は省略されています)
発明の詳細な説明
【技術分野】
【0001】
実施形態は、半導体記憶装置に関する。
続きを表示(約 4,700 文字)
【背景技術】
【0002】
データを不揮発に記憶することが可能な半導体記憶装置として、NAND型フラッシュメモリが知られている。NAND型フラッシュメモリにおいては、高集積化及び大容量化のために3次元のメモリ構造が採用されることがある。
【先行技術文献】
【特許文献】
【0003】
米国特許出願公開2022/415794号明細書
特開2022-126320号公報
【発明の概要】
【発明が解決しようとする課題】
【0004】
製造時の工数が少なく、かつチップ面積を縮小できる半導体記憶装置を提供する。
【課題を解決するための手段】
【0005】
実施形態に係る半導体記憶装置は、第1方向に見て、第1方向と交差する第2方向に並ぶ第1領域及び第2領域を有する第1配線層と、第1配線層の上方に第1方向に互いに離れて設けられ、第1領域において第1階段領域を含む複数の第2配線層と、ここで、複数の第2配線層はそれぞれ、第1階段領域において、上層の第2配線層と第1方向に重ならないように設けられた複数の第1テラス部分を有し、複数の第2配線層の上方に第1方向に互いに離れて設けられ、第1領域において第1階段領域と第1方向に並び、第1階段領域と重なる部分を有する第2階段領域を含む複数の第3配線層と、ここで、複数の第3配線層はそれぞれ、第2階段領域において、上層の第3配線層と第1方向に重ならないように設けられた複数の第2テラス部分を有し、第2領域において第1方向に延び、一端が第1配線層に接し、複数の第2配線層及び複数の第3配線層を通過する第1メモリピラーと、第1領域のうち第1階段領域と第2階段領域とが重なる位置において第1方向に延び、一端が第1配線層と複数の第2配線層との間に位置し、複数の第2テラス部分の1つを通過し、複数の第1テラス部分の1つと電気的に接続される第1コンタクトと、を備える。
【図面の簡単な説明】
【0006】
第1実施形態に係るメモリシステムの構成の一例を示すブロック図。
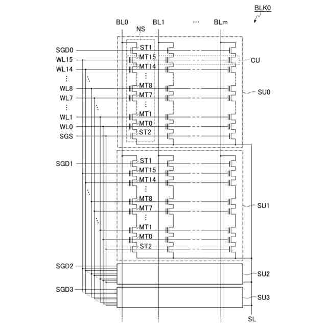
第1実施形態に係る半導体記憶装置が備えるメモリセルアレイの回路構成の一例を示す回路図。
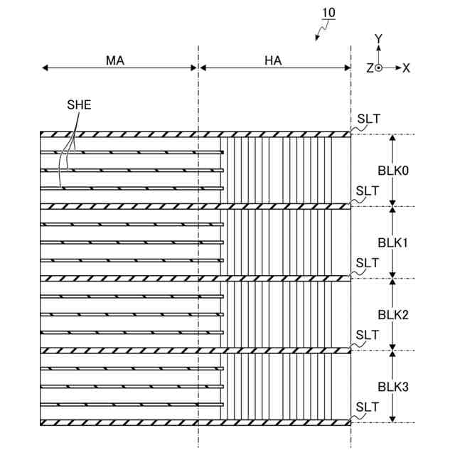
第1実施形態に係る半導体記憶装置が備えるメモリセルアレイの平面レイアウトの一例を示す平面図。
第1実施形態に係る半導体記憶装置が備えるメモリセルアレイのメモリ領域における平面レイアウトの一例を示す平面図。
第1実施形態に係る半導体記憶装置が備えるメモリセルアレイのメモリ領域における断面構造の一例を示す、図4のV-V線に沿った断面図。
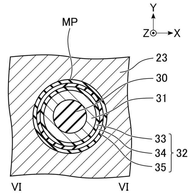
第1実施形態に係る半導体記憶装置が備えるメモリピラーの断面構造の一例を示す、図5のVI-VI線に沿った断面図。
第1実施形態に係る半導体記憶装置が備えるメモリセルアレイの引出領域における積層配線の断面構造の一例を模式的に示す模式図。
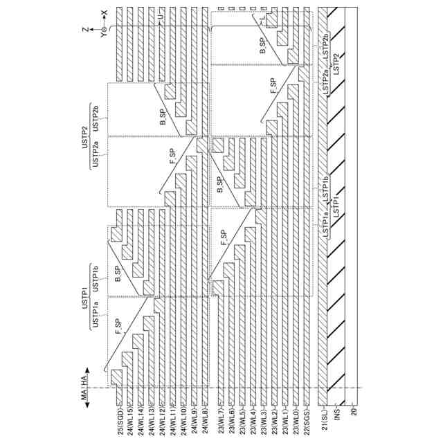
第1実施形態に係る半導体記憶装置が備えるメモリセルアレイの引出領域における断面構造の一例を示す断面図。
第1実施形態に係る半導体記憶装置が備えるメモリセルアレイの引出領域における断面構造の一例を示す、図8の領域IXの拡大図。
第1実施形態に係る半導体記憶装置が備えるメモリセルアレイの引出領域における上部積層配線の平面レイアウトの一例を示す平面図。
第1実施形態に係る半導体記憶装置が備えるメモリセルアレイの引出領域における、図8のXI-XI線に沿った平面の一例を示す平面図。
第1実施形態に係る半導体記憶装置が備えるメモリセルアレイの引出領域の製造方法の一例を示すフローチャート。
第1実施形態に係る半導体記憶装置が備えるメモリセルアレイの引出領域の製造途中の断面構造の一例を示す断面図。
第1実施形態に係る半導体記憶装置が備えるメモリセルアレイの引出領域の製造途中の断面構造の一例を示す断面図。
第1実施形態に係る半導体記憶装置が備えるメモリセルアレイの引出領域の製造途中の断面構造の一例を示す断面図。
第1実施形態に係る半導体記憶装置が備えるメモリセルアレイの引出領域の製造途中の断面構造の一例を示す断面図。
第1実施形態に係る半導体記憶装置が備えるメモリセルアレイの引出領域の製造途中の断面構造の一例を示す断面図。
第1実施形態に係る半導体記憶装置が備えるメモリセルアレイの引出領域の製造途中の断面構造の一例を示す断面図。
第1実施形態に係る半導体記憶装置が備えるメモリセルアレイの引出領域の製造途中の断面構造の一例を示す断面図。
第1実施形態に係る半導体記憶装置が備えるメモリセルアレイの引出領域の製造途中の断面構造の一例を示す断面図。
第1実施形態に係る半導体記憶装置が備えるメモリセルアレイの引出領域の製造途中の断面構造の一例を示す断面図。
第1実施形態に係る半導体記憶装置が備えるメモリセルアレイの引出領域の製造途中の断面構造の一例を示す断面図。
第1実施形態に係る半導体記憶装置が備えるメモリセルアレイの引出領域の製造途中の平面レイアウトの一例を示す平面図。
第1実施形態に係る半導体記憶装置が備えるメモリセルアレイの引出領域の製造途中の断面構造の一例を示す断面図。
第1実施形態に係る半導体記憶装置が備えるメモリセルアレイの引出領域の製造途中の平面レイアウトの一例を示す平面図。
第1実施形態に係る半導体記憶装置が備えるメモリセルアレイの引出領域の製造途中の断面構造の一例を示す断面図。
第1実施形態の第1変形例に係る半導体記憶装置が備えるメモリセルアレイの引出領域における断面構造の一例を示す断面図。
第1実施形態の第2変形例に係る半導体記憶装置が備えるメモリセルアレイの引出領域における断面構造の一例を示す断面図。
第1実施形態の第3変形例に係る半導体記憶装置が備えるメモリセルアレイの引出領域における積層配線の断面構造の一例を模式的に示す模式図。
第1実施形態の第4変形例に係る半導体記憶装置が備えるメモリセルアレイの引出領域における上部積層配線の平面レイアウトの一例を示す平面図。
第2実施形態に係る半導体記憶装置が備えるメモリセルアレイのメモリ領域における平面レイアウトの一例を示す平面図。
第2実施形態に係る半導体記憶装置が備えるメモリセルアレイの引出領域における積層配線の断面構造の一例を模式的に示す模式図。
第2実施形態に係る半導体記憶装置が備えるメモリセルアレイの引出領域における断面構造の一例を示す断面図。
第2実施形態に係る半導体記憶装置が備えるメモリセルアレイの引出領域における断面構造の一例を示す、図33の領域XXXIVの拡大図。
第2実施形態に係る半導体記憶装置が備えるメモリセルアレイの引出領域における上部積層配線の平面レイアウトの一例を示す平面図。
第2実施形態に係る半導体記憶装置が備えるメモリセルアレイの引出領域における下部積層配線の平面レイアウトの一例を示す平面図。
第2実施形態に係る半導体記憶装置が備えるメモリセルアレイの引出領域における、図33のXXXVII-XXXVII線に沿った平面の一例を示す平面図。
第2実施形態に係る半導体記憶装置が備えるメモリセルアレイの引出領域の製造途中の断面構造の一例を示す断面図。
第2実施形態に係る半導体記憶装置が備えるメモリセルアレイの引出領域の製造途中の断面構造の一例を示す断面図。
第2実施形態に係る半導体記憶装置が備えるメモリセルアレイの引出領域の製造途中の断面構造の一例を示す断面図。
第2実施形態に係る半導体記憶装置が備えるメモリセルアレイの引出領域の製造途中の断面構造の一例を示す断面図。
第2実施形態に係る半導体記憶装置が備えるメモリセルアレイの引出領域の製造途中の断面構造の一例を示す断面図。
第2実施形態に係る半導体記憶装置が備えるメモリセルアレイの引出領域の製造途中の断面構造の一例を示す断面図。
第2実施形態に係る半導体記憶装置が備えるメモリセルアレイの引出領域の製造途中の断面構造の一例を示す断面図。
第2実施形態に係る半導体記憶装置が備えるメモリセルアレイの引出領域の製造途中の断面構造の一例を示す断面図。
第2実施形態の第1変形例に係る半導体記憶装置が備えるメモリセルアレイの引出領域における上部積層配線の平面レイアウトの一例を示す平面図。
第2実施形態の第2変形例に係る半導体記憶装置が備えるメモリセルアレイの引出領域における上部積層配線の平面レイアウトの一例を示す平面図。
第2実施形態の第3変形例に係る半導体記憶装置が備えるメモリセルアレイの引出領域における積層配線の断面構造の一例を模式的に示す模式図。
第2実施形態の第4変形例に係る半導体記憶装置が備えるメモリセルアレイの引出領域における上部積層配線の平面レイアウトの一例を示す平面図。
【発明を実施するための形態】
【0007】
以下に、実施形態が図面を参照して記述される。図面は模式的なものであり、図面の寸法及び比率は、必ずしも現実のものと同一とは限らない。以下の説明において、略同一の機能及び構成を有する構成要素については、同一符号を付す。同様の構成を有する要素同士を特に区別する場合、同一符号の末尾に、互いに異なる文字又は数字を付与する場合がある。
【0008】
以下の説明において、ある第1要素が別の第2要素に「接続されている」とは、第1要素が常時あるいは選択的に導電性となる中間要素を介して間接的に、又は中間要素を介することなく直接的に第2要素に接続されていることを含む。
【0009】
1. 第1実施形態
1.1 構成
1.1.1 メモリシステム
第1実施形態に係る半導体記憶装置について説明する。図1は、第1実施形態に係るメモリシステム1の構成の一例を示すブロック図である、メモリシステム1は、外部のホスト機器(図示せず)に接続されるように構成された記憶装置である。メモリシステム1は、例えば、SD
TM
カードのようなメモリカード、UFS(Universal Flash Storage)、又はSSD(Solid State Drive)である。メモリシステム1は、メモリコントローラ2及び半導体記憶装置3を含む。
【0010】
メモリコントローラ2は、例えば、SoC(System on a Chip)のような集積回路で構成される。メモリコントローラ2は、外部のホスト機器からの要求に基づいて、半導体記憶装置3を制御する。具体的には、メモリコントローラ2は、外部のホスト機器から書込みを要求されたデータを、半導体記憶装置3に書き込む。また、メモリコントローラ2は、外部のホスト機器から読出しを要求されたデータを、半導体記憶装置3から読み出して外部のホスト機器に出力する。
(【0011】以降は省略されています)
この特許をJ-PlatPat(特許庁公式サイト)で参照する
関連特許
エイブリック株式会社
半導体装置
1か月前
エイブリック株式会社
半導体装置
1日前
富士電機株式会社
半導体装置
22日前
富士電機株式会社
半導体装置
1か月前
富士電機株式会社
半導体装置
1か月前
富士電機株式会社
半導体装置
1か月前
富士電機株式会社
半導体装置
1か月前
富士電機株式会社
半導体装置
4日前
三菱電機株式会社
半導体装置
1か月前
国立大学法人 和歌山大学
光検出器
1か月前
三菱電機株式会社
半導体装置
1か月前
AGC株式会社
太陽電池モジュール
7日前
株式会社半導体エネルギー研究所
半導体装置
1か月前
日亜化学工業株式会社
発光装置
22日前
株式会社半導体エネルギー研究所
半導体装置
23日前
ミツミ電機株式会社
センサ装置
1か月前
日亜化学工業株式会社
発光素子
2日前
キヤノン株式会社
有機発光素子
14日前
ミツミ電機株式会社
半導体装置
1日前
株式会社半導体エネルギー研究所
半導体装置
1か月前
デクセリアルズ株式会社
受光装置
今日
サンケン電気株式会社
半導体装置
今日
株式会社半導体エネルギー研究所
発光デバイス
1か月前
住友電気工業株式会社
半導体装置
14日前
ローム株式会社
窒化物半導体装置
28日前
TDK株式会社
光検知装置
1日前
ローム株式会社
TVSダイオード
2日前
株式会社東芝
熱電変換装置
2日前
ローム株式会社
窒化物半導体装置
1か月前
ローム株式会社
TVSダイオード
2日前
ローム株式会社
窒化物半導体装置
22日前
住友電気工業株式会社
半導体装置
14日前
ローム株式会社
半導体装置
2日前
内山工業株式会社
太陽電池
今日
株式会社カネカ
太陽電池モジュール
2日前
キオクシア株式会社
記憶装置
今日
続きを見る
他の特許を見る