TOP
|
特許
|
意匠
|
商標
特許ウォッチ
Twitter
他の特許を見る
10個以上の画像は省略されています。
公開番号
2025141696
公報種別
公開特許公報(A)
公開日
2025-09-29
出願番号
2024041750
出願日
2024-03-15
発明の名称
基板ユニット
出願人
キオクシア株式会社
代理人
弁理士法人志賀国際特許事務所
主分類
H05K
3/28 20060101AFI20250919BHJP(他に分類されない電気技術)
要約
【課題】一実施形態は、製造不良発生の抑制を図ることができる基板ユニットを提供する。
【解決手段】一実施形態の基板ユニットは、絶縁基材と、第1パッドと、第2パッドと、ソルダーレジスト層と、第1絶縁部と、電子部品とを有する。前記ソルダーレジスト層は、前記第1パッドと前記第2パッドとを露出させる開口を有する。前記第1絶縁部は、前記開口内で前記第1パッドと前記第2パッドとの間に設けられている。前記電子部品は、接合材を介して前記第1パッドに接続された第1端子と、接合材を介して前記第2パッドに接続された第2端子とを有する。前記ソルダーレジスト層は、第1絶縁材料を含む。前記第1絶縁部は、前記第1絶縁材料とは異なる第2絶縁材料を含む。前記第1パッドから前記絶縁基材に向かう方向を第1方向とした場合に、前記第1絶縁部の前記第1方向の長さは、前記第1パッドの前記第1方向の長さと比べて大きい。
【選択図】図2
特許請求の範囲
【請求項1】
絶縁基材と、
前記絶縁基材上に設けられた第1パッドと、
前記絶縁基材上に設けられた第2パッドと、
前記絶縁基材上に設けられた部分を含み、前記第1パッドと前記第2パッドとを露出させる開口を有したソルダーレジスト層と、
前記開口内で前記第1パッドと前記第2パッドとの間に設けられた第1絶縁部と、
接合材を介して前記第1パッドに接続された第1端子と、接合材を介して前記第2パッドに接続された第2端子とを有した電子部品と、
を備え、
前記ソルダーレジスト層は、第1絶縁材料を含み、
前記第1絶縁部は、前記第1絶縁材料とは異なる第2絶縁材料を含み、
前記第1パッドから前記絶縁基材に向かう方向を第1方向とした場合に、前記第1絶縁部の前記第1方向の長さは、前記第1パッドの前記第1方向の長さと比べて大きい、
基板ユニット。
続きを表示(約 1,300 文字)
【請求項2】
前記絶縁基材は、第1面を有し、
前記第1パッドおよび前記第1絶縁部は、前記第1面上に設けられ、
前記第1パッドは、前記第1面とは反対側に位置した第1端を有し、
前記第1絶縁部は、前記第1面とは反対側に位置した第2端を有し、
前記第1面に対する前記第1絶縁部の前記第2端の高さは、前記第1面に対する前記第1パッドの前記第1端の高さと比べて大きい、
請求項1に記載の基板ユニット。
【請求項3】
前記絶縁基材上に設けられた配線をさらに備え、
前記ソルダーレジスト層は、前記絶縁基材に接した第1部分と、前記配線を覆う第2部分とを含み、
前記第1絶縁部の前記第1方向の長さは、前記ソルダーレジスト層の前記第1部分の前記第1方向の長さと比べて小さい、
請求項1または請求項2に記載の基板ユニット。
【請求項4】
前記第1絶縁部は、インクジェット方式で前記第2絶縁材料が塗布されて硬化されることで形成されている、
請求項1または請求項2に記載の基板ユニット。
【請求項5】
前記第1パッドから前記第2パッドに向かう方向を第2方向とし、前記第1方向および前記第2方向とは交差する方向を第3方向とした場合に、
前記第1絶縁部は、前記第1絶縁部の前記第3方向の端である第3端を有し、
前記第3端は、前記ソルダーレジスト層に接している、
請求項1または請求項2に記載の基板ユニット。
【請求項6】
前記第1パッドから前記第2パッドに向かう方向を第2方向とし、前記第1方向および前記第2方向とは交差する方向を第3方向とした場合に、
前記第1絶縁部は、前記第1絶縁部の前記第3方向の端である第3端を有し、
前記第3端は、前記開口の縁から離れている、
請求項1または請求項2に記載の基板ユニット。
【請求項7】
前記第1方向から見た場合に前記開口の縁の一部と前記電子部品との間に設けられ、前記第2絶縁材料を含む第2絶縁部をさらに備えた、
請求項1または請求項2に記載の基板ユニット。
【請求項8】
前記ソルダーレジスト層に覆われた第1領域と、前記開口内に配置されて前記第1パッドを含む第2領域とを有した導電層をさらに備え、
前記第2絶縁部は、前記開口内において前記導電層上に設けられている、
請求項7に記載の基板ユニット。
【請求項9】
前記ソルダーレジスト層は、前記絶縁基材に接した第1部分と、前記導電層の前記第1領域を覆う第2部分とを含み、
前記第2絶縁部の前記第1方向の長さは、前記ソルダーレジスト層の前記第2部分の前記第1方向の長さと比べて小さい、
請求項8に記載の基板ユニット。
【請求項10】
前記電子部品は、前記第1方向から見た場合に、長方形状の部品であり、
前記電子部品の長辺の幅は、0.4mm以下であり、
前記電子部品の短辺の幅は、0.2mm以下である、
請求項1または請求項2に記載の基板ユニット。
(【請求項11】以降は省略されています)
発明の詳細な説明
【技術分野】
【0001】
本発明の実施形態は、基板ユニットに関する。
続きを表示(約 2,400 文字)
【背景技術】
【0002】
絶縁基材上に設けられたパッドと、パッドを露出させる開口を有したソルダーレジスト層と、パッドに接続された電子部品とを有した基板ユニットが知られている。
【先行技術文献】
【特許文献】
【0003】
米国特許出願公開第2005/0176177号明細書
【発明の概要】
【発明が解決しようとする課題】
【0004】
一実施形態は、製造不良発生の抑制を図ることができる基板ユニットを提供する。
【課題を解決するための手段】
【0005】
一実施形態の基板ユニットは、絶縁基材と、第1パッドと、第2パッドと、ソルダーレジスト層と、第1絶縁部と、電子部品とを有する。前記第1パッドは、前記絶縁基材上に設けられている。前記第2パッドは、前記絶縁基材上に設けられている。前記ソルダーレジスト層は、前記絶縁基材上に設けられた部分を含む。前記ソルダーレジスト層は、前記第1パッドと前記第2パッドとを露出させる開口を有する。前記第1絶縁部は、前記開口内で前記第1パッドと前記第2パッドとの間に設けられている。前記電子部品は、接合材を介して前記第1パッドに接続された第1端子と、接合材を介して前記第2パッドに接続された第2端子とを有する。前記ソルダーレジスト層は、第1絶縁材料を含む。前記第1絶縁部は、前記第1絶縁材料とは異なる第2絶縁材料を含む。前記第1パッドから前記絶縁基材に向かう方向を第1方向とした場合に、前記第1絶縁部の前記第1方向の長さは、前記第1パッドの前記第1方向の長さと比べて大きい。
【図面の簡単な説明】
【0006】
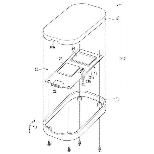
第1実施形態の半導体記憶装置を示す斜視図。
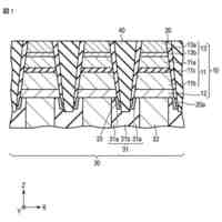
第1実施形態の基板の一部を示す断面図。
図2中に示された基板のF3-F3線に沿う断面図。
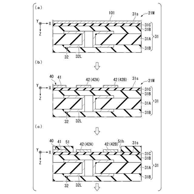
第1実施形態の基板ユニットの一部を示す断面図。
第1実施形態の基板ユニットの製造方法を示す断面図。
第1実施形態の基板ユニットの製造方法を示す断面図。
第2実施形態の基板の一部を示す断面図。
第3実施形態の基板の一部を示す断面図。
図8中に示された基板のF9-F9線に沿う断面図。
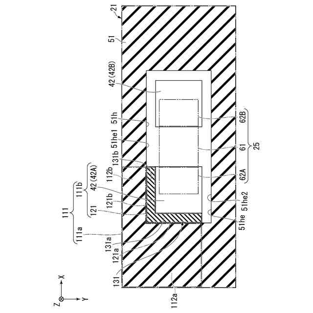
第4実施形態の基板ユニットの一部を示す断面図。
図10中に示された基板のF11-F11線に沿う断面図。
【発明を実施するための形態】
【0007】
以下、実施形態の基板ユニットを、図面を参照して説明する。以下の説明では、同一または類似の機能を有する構成に同一の符号を付す。そして、それら構成の重複する説明は省略する場合がある。本出願で「平行」、「直交」、または「同じ」とは、それぞれ、「略平行」、「略直交」、または「略同じ」である場合を含み得る。本出願で「接続」とは、機械的な接続に限定されず、電気的な接続を含み得る。すなわち「接続」とは、対象物と直接に接続される場合に限定されず、別の要素を間に介在させて対象物と接続される場合を含み得る。本出願で「重なる」とは、2つの対象物の仮想的な投影像同士が重なることを意味する。すなわち「重なる」とは、2つの対象物が接する場合に限定されず、2つの対象物が接しない場合(例えば2つの対象物の間に空間または別の要素が存在する場合)を含み得る。
【0008】
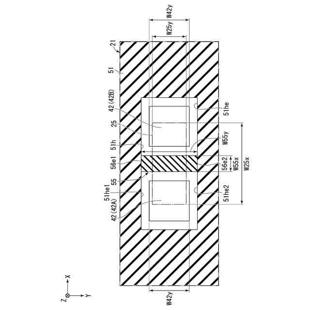
本出願では、X方向、Y方向、およびZ方向は、以下のように定義される。X方向およびY方向は、後述する基板21の第1面21aと平行な方向である(図1参照)。X方向は、後述する第1パッド42Aから第2パッド42Bに向かう方向である(図3参照)。Y方向は、X方向とは交差する(例えば直交する)方向である(図3参照)。Z方向は、X方向およびY方向とは交差する(例えば直交する)方向である。Z方向は、後述する第1パッド42Aから絶縁基材31に向かう方向である(図2参照)。Z方向は、「第1方向」の一例である。X方向は、「第2方向」の一例である。Y方向は、「第3方向」の一例である。
【0009】
(第1実施形態)
<1.半導体記憶装置の全体構成>
図1から図6を参照し、第1実施形態の基板ユニット20を含む半導体記憶装置1について説明する。半導体記憶装置1は、例えばSSD(Solid State Drive)のようなストレージデバイスである。半導体記憶装置1は、ホスト機器と接続され、ホスト機器の記憶装置として使用される。ホスト機器は、サーバ、パーソナルコンピュータ、モバイル機器、ビデオレコーダ、または車載機器などであるが、これら例には限定されない。
【0010】
半導体記憶装置1は、「半導体装置」の一例である。基板ユニット20は、半導体記憶装置とは異なる半導体装置にも適用可能である。半導体記憶装置とは異なる半導体装置は、例えば、CPU(Central Processing Unit)、GPU(Graphics Processing Unit)、ASIC(Application Specific Integrated Circuit)、PLD(Programmable Logic Device)、またはFPGA(Field Programmable Gate Array)などの半導体部品(例えば半導体集積回路)を含む装置でもよいし、ダイオードやトランジスタ、またはアンプなど他の種類の半導体部品を含む装置でもよい。これら半導体装置は、例えば、サーバ、パーソナルコンピュータ、モバイル機器、ビデオレコーダ、または車載機器などであるが、これら例に限定されない。
(【0011】以降は省略されています)
この特許をJ-PlatPat(特許庁公式サイト)で参照する
関連特許
キオクシア株式会社
記憶装置
2日前
キオクシア株式会社
記憶装置
今日
キオクシア株式会社
記憶装置
6日前
キオクシア株式会社
記憶装置
今日
キオクシア株式会社
半導体装置
6日前
キオクシア株式会社
半導体装置
今日
キオクシア株式会社
磁気記憶装置
2日前
キオクシア株式会社
磁気記憶装置
今日
キオクシア株式会社
磁気記憶装置
2日前
キオクシア株式会社
基板ユニット
2日前
キオクシア株式会社
磁気記憶装置
今日
キオクシア株式会社
情報処理装置
14日前
キオクシア株式会社
通信システム
今日
キオクシア株式会社
メモリデバイス
14日前
キオクシア株式会社
半導体記憶装置
2日前
キオクシア株式会社
半導体記憶装置
13日前
キオクシア株式会社
半導体記憶装置
14日前
キオクシア株式会社
メモリシステム
12日前
キオクシア株式会社
半導体記憶装置
12日前
キオクシア株式会社
半導体記憶装置
22日前
キオクシア株式会社
半導体記憶装置
12日前
キオクシア株式会社
メモリシステム
22日前
キオクシア株式会社
半導体記憶装置
26日前
キオクシア株式会社
メモリデバイス
5日前
キオクシア株式会社
メモリシステム
28日前
キオクシア株式会社
半導体記憶装置
29日前
キオクシア株式会社
半導体記憶装置
2日前
キオクシア株式会社
半導体記憶装置
今日
キオクシア株式会社
半導体記憶装置
1か月前
キオクシア株式会社
半導体記憶装置
2日前
キオクシア株式会社
半導体記憶装置
今日
キオクシア株式会社
メモリデバイス
今日
キオクシア株式会社
半導体記憶装置
今日
キオクシア株式会社
半導体記憶装置
2日前
キオクシア株式会社
キャッシュサーバ
1か月前
キオクシア株式会社
ストレージドライブ
2日前
続きを見る
他の特許を見る