TOP
|
特許
|
意匠
|
商標
特許ウォッチ
Twitter
他の特許を見る
10個以上の画像は省略されています。
公開番号
2025142938
公報種別
公開特許公報(A)
公開日
2025-10-01
出願番号
2024042572
出願日
2024-03-18
発明の名称
通信システム
出願人
キオクシア株式会社
代理人
弁理士法人鈴榮特許綜合事務所
主分類
G06F
3/06 20060101AFI20250924BHJP(計算;計数)
要約
【課題】レイテンシの増加を抑制する。
【解決手段】実施形態の通信システムは、ホストコントローラ、複数の通信デバイス、キャッシュデバイス、及びホストコントローラとキャッシュデバイスとを接続し、キャッシュデバイスと複数の通信デバイスとをリング状に接続する通信路を備え、キャッシュデバイスは、第1通信フレームをホストコントローラから受信する第1受信回路、第1通信フレームのコンテナに対してデータの挿抜が可能な第1制御回路、第1制御回路の処理結果に基づく第2通信フレームを第1通信デバイスに送信する第1送信回路、第3通信フレームを第2通信デバイスから受信する第2受信回路、第3通信フレームのコンテナに対してデータの挿抜が可能な第2制御回路、第2制御回路の処理結果に基づく第4通信フレームをホストコントローラに送信する第2送信回路、第3通信フレームのデータを記憶するメモリ、及びメモリのコントローラを含む。
【選択図】図1
特許請求の範囲
【請求項1】
ホストコントローラと、
複数の通信デバイスと、
キャッシュデバイスと、
前記ホストコントローラと前記キャッシュデバイスとを接続し、かつ前記キャッシュデバイスと前記複数の通信デバイスとをリング状に接続し、複数のコンテナを有するシリアル信号の通信フレームを伝送可能である通信路と、
を備え、
前記キャッシュデバイスは、
第1通信フレームを、前記通信路を介して、前記ホストコントローラから受信する第1受信回路と、
受信した前記第1通信フレームが有する複数のコンテナの少なくとも1つに対してデータの挿抜が可能な第1制御回路と、
前記第1制御回路の処理結果に基づく第2通信フレームを、前記通信路を介して、前記複数の通信デバイスのうち前記キャッシュデバイスに接続される第1通信デバイスに送信する第1送信回路と、
第3通信フレームを、前記通信路を介して、前記複数の通信デバイスのうち前記第1通信デバイスとは異なり前記キャッシュデバイスに接続される第2通信デバイスから受信する第2受信回路と、
受信した前記第3通信フレームが有する複数のコンテナの少なくとも1つに対してデータの挿抜が可能な第2制御回路と、
前記第2制御回路の処理結果に基づく第4通信フレームを、前記通信路を介して、前記ホストコントローラに送信する第2送信回路と、
少なくとも前記第3通信フレームによって前記第2通信デバイスから受信されるデータを記憶するように構成されるメモリと、
前記第1制御回路及び前記第2制御回路と接続され、前記メモリを制御するコントローラと、
を含む、
通信システム。
続きを表示(約 1,700 文字)
【請求項2】
前記第1受信回路が、前記第1通信フレームとして、前記複数の通信デバイスのうちいずれかに対する第1データの読み出し動作の要求が挿入された第1コンテナを含む第5通信フレームを受信した際、
前記メモリが前記第1データを記憶している場合、
前記第2制御回路は、前記第2受信回路が受信した第6通信フレームの第2コンテナに、記憶している前記第1データを挿入し、
前記メモリが前記第1データを記憶していない場合、
前記第1制御回路は、前記第1受信回路が受信した第7通信フレームの第3コンテナに、前記第1データの読み出し動作の要求を挿入する、
ように構成される、
請求項1記載の通信システム。
【請求項3】
前記メモリが、データを記憶する空き容量がないキャッシュフルである場合、
前記コントローラは、前記第3コンテナに前記第1データの読み出し動作の要求を挿入する前に、前記メモリから第2データを消去する、
ように構成される、
請求項2記載の通信システム。
【請求項4】
前記メモリは、各々がデータ、及び前記データの状態に関する第1情報を含む複数のラインを有し、
前記メモリから前記第2データを消去する際、
前記第1制御回路は、前記複数のラインのうち前記第2データを含むラインに含まれる前記第1情報に基づいて、前記第1受信回路が受信した第8通信フレームの第4コンテナに、前記複数の通信デバイスのうちいずれかに対する前記第2データの書き込み動作の要求を挿入する、
ように構成される、
請求項3記載の通信システム。
【請求項5】
前記第1受信回路が、前記第1通信フレームとして、前記複数の通信デバイスのうちいずれかに対する第1データの書き込み動作の要求が挿入された第1コンテナを含む第5通信フレームを受信した際、
前記コントローラは、前記第1データを用いてライトバック方式による書き込み動作を実行する、
ように構成される、
請求項1記載の通信システム。
【請求項6】
前記第1受信回路が前記第5通信フレームを受信した際、
前記メモリが、前記第1データに対応するデータを記憶しておらず、かつ前記メモリが、データを記憶する空き容量がないキャッシュフルである場合、
前記コントローラは、前記メモリから第2データを消去した後に、前記第1データを用いて前記メモリを更新する、
ように構成される、
請求項5記載の通信システム。
【請求項7】
前記メモリが、データを記憶する空き容量がないキャッシュフル、又は前記キャッシュフルに近い場合、
前記コントローラは、前記メモリに記憶された第1データを、前記メモリから消去する、
ように構成される、
請求項1記載の通信システム。
【請求項8】
前記ホストコントローラは、前記メモリが記憶するデータを消去するコマンドが挿入された第1コンテナを送信可能であり、
前記第1受信回路が前記第1コンテナを受信したことに基づいて、
前記コントローラは、前記メモリから第1データを消去する、
ように構成される、
請求項1記載の通信システム。
【請求項9】
前記第1制御回路は、前記複数のコンテナの各々に挿入された識別子に基づいて、前記複数のコンテナの各々に対して処理を行うように構成される、
請求項1記載の通信システム。
【請求項10】
前記第2制御回路は、
前記複数のコンテナの各々に挿入された識別子に基づいて、前記複数のコンテナの各々に挿入されたデータが、前記ホストコントローラにより要求された動作に関するデータであるか、前記キャッシュデバイスにより要求された動作に関するデータであるか、について判定を行い、
前記判定結果に基づいて、前記複数のコンテナの各々に対して処理を行う、
ように構成される、
請求項1記載の通信システム。
(【請求項11】以降は省略されています)
発明の詳細な説明
【技術分野】
【0001】
本発明の実施形態は、通信システムに関する。
続きを表示(約 2,400 文字)
【背景技術】
【0002】
ホストコントローラと複数の通信デバイスとがリング状に接続された通信システムが知られている。リング状の接続において、複数の通信デバイスは、直列に接続される。このような通信システムでは、ホストコントローラと複数の通信デバイスとの通信が、遅延なく行われることが望まれている。
【先行技術文献】
【特許文献】
【0003】
特開2021-150878号公報
【発明の概要】
【発明が解決しようとする課題】
【0004】
レイテンシの増加を抑制する通信システムを提供する。
【課題を解決するための手段】
【0005】
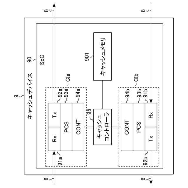
実施形態の通信システムは、ホストコントローラと、複数の通信デバイスと、キャッシュデバイスと、上記ホストコントローラと上記キャッシュデバイスとを接続し、かつ上記キャッシュデバイスと上記複数の通信デバイスとをリング状に接続し、複数のコンテナを有するシリアル信号の通信フレームを伝送可能である通信路と、を備え、上記キャッシュデバイスは、第1通信フレームを、上記通信路を介して、上記ホストコントローラから受信する第1受信回路と、受信した上記第1通信フレームが有する複数のコンテナの少なくとも1つに対してデータの挿抜が可能な第1制御回路と、上記第1制御回路の処理結果に基づく第2通信フレームを、上記通信路を介して、上記複数の通信デバイスのうち上記キャッシュデバイスに接続される第1通信デバイスに送信する第1送信回路と、第3通信フレームを、上記通信路を介して、上記複数の通信デバイスのうち上記第1通信デバイスとは異なり上記キャッシュデバイスに接続される第2通信デバイスから受信する第2受信回路と、受信した上記第3通信フレームが有する複数のコンテナの少なくとも1つに対してデータの挿抜が可能な第2制御回路と、上記第2制御回路の処理結果に基づく第4通信フレームを、上記通信路を介して、上記ホストコントローラに送信する第2送信回路と、少なくとも上記第3通信フレームによって上記第2通信デバイスから受信されるデータを記憶するように構成されるメモリと、上記第1制御回路及び上記第2制御回路と接続され、上記メモリを制御するコントローラと、を含む。
【図面の簡単な説明】
【0006】
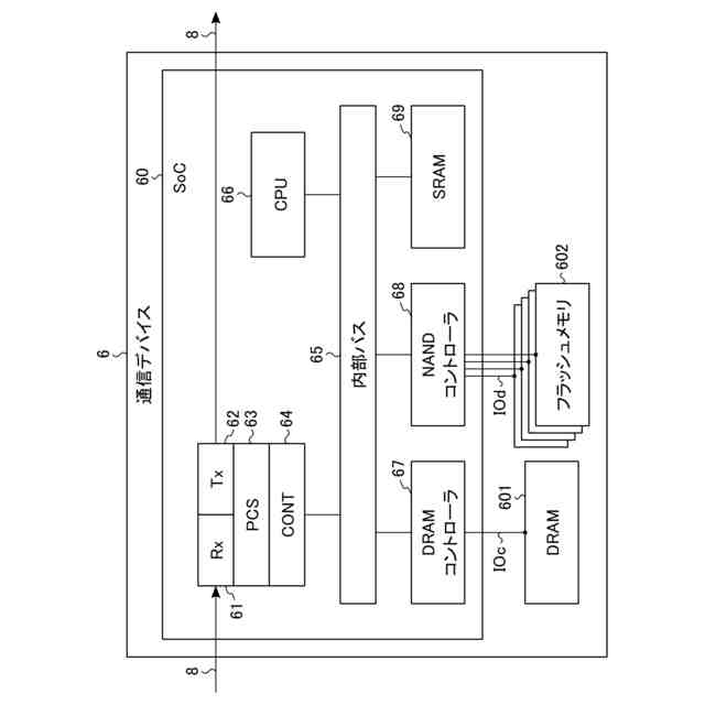
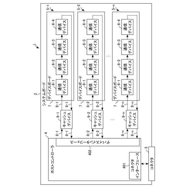
第1実施形態に係る通信システムの全体構成の一例を示すブロック図。
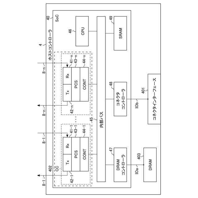
第1実施形態に係る通信システムが備えるホストコントローラの一例を示すブロック図。
第1実施形態に係る通信システムが備える通信デバイスの一例を示すブロック図。
第1実施形態に係る通信システムが備えるキャッシュデバイスの一例を示すブロック図。
第1実施形態に係る通信システムにおけるキャッシュメモリの構成の一例を示す図。
第1実施形態に係る通信システムにおける通信フレームの一例を示す図。
第1実施形態に係る通信システムにおける通信デバイスの動作の一例を説明するフローチャート。
第1実施形態に係る通信システムにおける第1動作例を示す図。
第1実施形態に係る通信システムにおける第2動作例を示す図。
第1実施形態に係る通信システムにおける第3動作例を示す図。
第1実施形態に係る通信システムにおける第3動作例を示す図。
第1実施形態に係る通信システムにおける第4動作例を示す図。
第1実施形態に係る通信システムにおける第5動作例を示す図。
第1実施形態に係る通信システムにおける第6動作例を示す図。
第1実施形態に係る通信システムにおける第6動作例を示す図。
第1実施形態に係る通信システムにおける第7動作例を示す図。
第1実施形態に係る通信システムにおける第8動作例を示す図。
第1実施形態の変形例に係る通信システムが備えるキャッシュデバイスの一例を示すブロック図。
第2実施形態に係る通信システムの全体構成を示すブロック図。
第2実施形態に係る通信システムが備えるホストコントローラの一例を示すブロック図。
第2実施形態に係る通信システムにおける第1動作例を示す図。
第2実施形態に係る通信システムにおける第2動作例を示す図。
第2実施形態に係る通信システムにおける第3動作例を示す図。
第2実施形態に係る通信システムにおける第4動作例を示す図。
【発明を実施するための形態】
【0007】
以下、図面を参照して、実施形態が説明される。なお、以下の説明において、同一の機能及び構成を有する構成要素については、共通する参照符号を付す。また、共通する参照符号を有する複数の構成要素を区別する場合、当該共通する参照符号に添え字を付して区別する。なお、複数の構成要素について特に区別を要さない場合、当該複数の構成要素には、共通する参照符号のみが付され、添え字は付さない。添え字は、例えば、参照符号の末尾に付される小文字のアルファベット、及び配列を意味するインデックス等を含む。
【0008】
1 第1実施形態
以下に、第1実施形態に係る通信システムについて説明する。
【0009】
1.1 構成
第1実施形態に係る通信システムの構成について説明する。
【0010】
1.1.1 通信システムの構成
通信システムの構成の一例について、図1を用いて説明する。図1は、第1実施形態に係る通信システムの全体構成の一例を示すブロック図である。
(【0011】以降は省略されています)
この特許をJ-PlatPat(特許庁公式サイト)で参照する
関連特許
キオクシア株式会社
記憶装置
1日前
キオクシア株式会社
記憶装置
1日前
キオクシア株式会社
記憶装置
7日前
キオクシア株式会社
記憶装置
3日前
キオクシア株式会社
半導体装置
今日
キオクシア株式会社
半導体装置
7日前
キオクシア株式会社
半導体装置
1日前
キオクシア株式会社
半導体装置
今日
キオクシア株式会社
磁気記憶装置
1日前
キオクシア株式会社
磁気記憶装置
1日前
キオクシア株式会社
基板ユニット
3日前
キオクシア株式会社
通信システム
1日前
キオクシア株式会社
磁気記憶装置
3日前
キオクシア株式会社
磁気記憶装置
今日
キオクシア株式会社
磁気記憶装置
3日前
キオクシア株式会社
半導体記憶装置
3日前
キオクシア株式会社
半導体記憶装置
3日前
キオクシア株式会社
半導体記憶装置
3日前
キオクシア株式会社
半導体記憶装置
3日前
キオクシア株式会社
メモリデバイス
6日前
キオクシア株式会社
半導体記憶装置
13日前
キオクシア株式会社
半導体記憶装置
13日前
キオクシア株式会社
半導体記憶装置
1日前
キオクシア株式会社
メモリデバイス
1日前
キオクシア株式会社
半導体記憶装置
今日
キオクシア株式会社
半導体記憶装置
1日前
キオクシア株式会社
メモリシステム
今日
キオクシア株式会社
半導体記憶装置
1日前
キオクシア株式会社
半導体記憶装置
今日
キオクシア株式会社
半導体基板試験装置
今日
キオクシア株式会社
ストレージドライブ
3日前
キオクシア株式会社
半導体装置の製造方法
1日前
キオクシア株式会社
情報処理装置及びコネクタ
1日前
キオクシア株式会社
半導体記憶装置の製造方法
3日前
キオクシア株式会社
半導体装置及び半導体記憶装置
今日
キオクシア株式会社
半導体装置及びメモリシステム
3日前
続きを見る
他の特許を見る