TOP
|
特許
|
意匠
|
商標
特許ウォッチ
Twitter
他の特許を見る
10個以上の画像は省略されています。
公開番号
2025143027
公報種別
公開特許公報(A)
公開日
2025-10-01
出願番号
2024042705
出願日
2024-03-18
発明の名称
メモリデバイス
出願人
キオクシア株式会社
代理人
弁理士法人鈴榮特許綜合事務所
主分類
H10B
43/50 20230101AFI20250924BHJP()
要約
【課題】メモリデバイスの製造コストを抑制する。
【解決手段】実施形態のメモリデバイスは、基板W1と、複数の導電体層22と、複数のピラーMPと、複数の第1コンタクトCCとを含む。複数の導電体層は、基板の上方で第1方向に並んでいる。複数のピラーの各々は、第1方向に延伸して設けられる。複数のピラーの各々と複数の導電体層とが交差する部分は、メモリセルとして機能する。複数の第1コンタクトは、複数の導電体層のうちの対応する導電体層にそれぞれ電気的に接続される。複数の第1コンタクトの各々は、第1方向に延伸して設けられ、且つ基板の表面と平行な断面において、対応する導電体層に囲まれつつ局所的な部分BPで対応する導電体層と電気的に接続された第1導電部材50を有する。
【選択図】図10
特許請求の範囲
【請求項1】
基板と、
前記基板の上方で第1方向に並んだ複数の導電体層と、
各々が前記第1方向に延伸して設けられ、前記複数の導電体層と交差する部分がメモリセルとして機能する複数のピラーと、
前記複数の導電体層のうちの対応する導電体層にそれぞれ電気的に接続された複数の第1コンタクトと、を備え、
前記複数の第1コンタクトの各々は、前記第1方向に延伸して設けられ、且つ前記対応する導電体層を含む前記基板の表面と平行な断面において、外縁が前記対応する導電体層に囲まれつつ前記対応する導電体層と前記外縁の局所的な部分で電気的に接続された第1導電部材を有する、
メモリデバイス。
続きを表示(約 530 文字)
【請求項2】
前記複数の第1コンタクトの各々は、前記部分を除いて前記第1導電部材の側面を覆う第1絶縁膜をさらに有する、
請求項1に記載のメモリデバイス。
【請求項3】
基板と、
前記基板の上方で第1方向に並んだ複数の導電体層と、
各々が前記第1方向に延伸して設けられ、前記複数の導電体層と交差する部分がメモリセルとして機能する複数のピラーと、
各々が前記第1方向に延伸し、且つ前記複数の導電体層を貫通して設けられ、前記複数の導電体層のうちの対応する導電体層にそれぞれ電気的に接続された複数の第1コンタクトと、を備える、
メモリデバイス。
【請求項4】
前記複数の第1コンタクトの各々は、前記第1方向に延伸して設けられ、前記対応する導電体層と電気的に接続された第1導電部材と、前記第1導電部材と前記対応する導電体層との接続部分を除いて前記第1導電部材の側面を覆う第1絶縁膜とを有する、
請求項3に記載のメモリデバイス。
【請求項5】
前記複数の第1コンタクトは、互いに同じ層数の前記複数の導電体層を貫通して設けられる、
請求項3に記載のメモリデバイス。
発明の詳細な説明
【技術分野】
【0001】
実施形態は、メモリデバイスに関する。
続きを表示(約 3,100 文字)
【背景技術】
【0002】
データを不揮発に記憶することが可能なNAND型フラッシュメモリが知られている。
【先行技術文献】
【特許文献】
【0003】
特開2010-192646号公報
特開2015-056452号公報
特開2021-150408号公報
【発明の概要】
【発明が解決しようとする課題】
【0004】
メモリデバイスの製造コストを抑制する。
【課題を解決するための手段】
【0005】
実施形態のメモリデバイスは、基板と、複数の導電体層と、複数のピラーと、複数の第1コンタクトとを含む。複数の導電体層は、基板の上方で第1方向に並んでいる。複数のピラーの各々は、第1方向に延伸して設けられる。複数のピラーの各々と複数の導電体層とが交差する部分は、メモリセルとして機能する。複数の第1コンタクトは、前記複数の導電体層のうちの対応する導電体層にそれぞれ電気的に接続される。複数の第1コンタクトの各々は、第1方向に延伸して設けられ、且つ前記対応する導電体層を含む基板の表面と平行な断面において、外縁が対応する導電体層に囲まれつつ対応する導電体層と外縁の局所的な部分で電気的に接続された第1導電部材を有する。
【図面の簡単な説明】
【0006】
実施形態に係るメモリデバイスを備えるメモリシステムの全体構成の一例を示すブロック図。
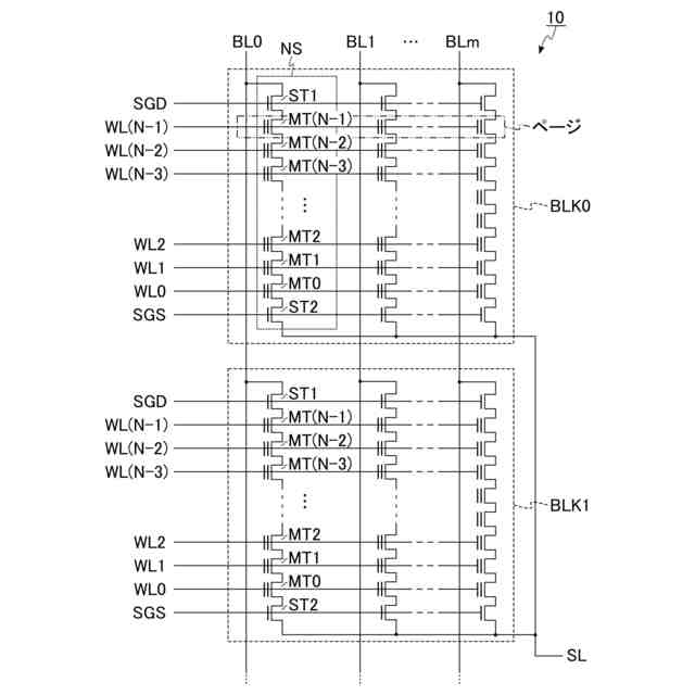
実施形態に係るメモリデバイスが備えるメモリセルアレイの回路構成の一例を示す回路図。
実施形態に係るメモリデバイスの外観の一例を示す斜視図。
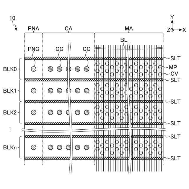
実施形態に係るメモリデバイスが備えるメモリセルアレイの平面レイアウトの一例を示す平面図。
実施形態に係るメモリデバイスが備えるメモリセルアレイのメモリ領域における断面構造の一例を示す断面図。
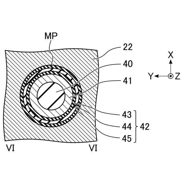
実施形態に係るメモリデバイスが備えるメモリピラーの断面構造の一例を示す、図5のVI-VI線に沿った断面図。
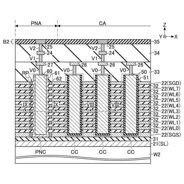
実施形態に係るメモリデバイスが備えるメモリセルアレイのコンタクト領域及びPNコンタクト領域における断面構造の一例を示す断面図。
実施形態に係るメモリデバイスが備える導通前のコンタクトの断面構造の一例を示す、図7のVIII-VIII線に沿った断面図。
実施形態に係るメモリデバイスが備えるPNコンタクトの断面構造の一例を示す、図7のIX-IX線に沿った断面図。
実施形態に係るメモリデバイスの断面構造の一例を示す断面図。
実施形態に係るメモリデバイスが備える導通後のコンタクトの断面構造の一例を示す、図10のXI-XI線に沿った断面図。
実施形態に係るメモリデバイスが備えるメモリセルアレイの製造過程における断面構造の一例を示す断面図。
実施形態に係るメモリデバイスが備えるメモリセルアレイの製造過程における断面構造の一例を示す断面図。
実施形態に係るメモリデバイスが備えるメモリセルアレイの製造過程における断面構造の一例を示す断面図。
実施形態に係るメモリデバイスが備えるメモリセルアレイの製造過程における断面構造の一例を示す断面図。
実施形態に係るメモリデバイスが備えるメモリセルアレイの製造過程における断面構造の一例を示す断面図。
実施形態に係るメモリデバイスが備えるメモリセルアレイの製造過程における断面構造の一例を示す断面図。
実施形態に係るメモリデバイスが備えるメモリセルアレイの製造過程における断面構造の一例を示す断面図。
実施形態に係るメモリデバイスが備えるメモリセルアレイの製造過程における断面構造の一例を示す断面図。
実施形態に係るメモリデバイスが備える積層配線とコンタクトとの導通方法の一例を示すフローチャート。
実施形態に係るメモリデバイスが備える積層配線とコンタクトとの導通処理の具体例を示す模式図。
実施形態に係るメモリデバイスが備える積層配線とコンタクトとの導通処理の具体例を示す模式図。
実施形態に係るメモリデバイスが備える積層配線とコンタクトとの導通処理の具体例を示す模式図。
実施形態に係るメモリデバイスの読み出し動作において積層配線とコンタクトとPNコンタクトとに印加される電圧の一例を示す模式図。
第1変形例に係るメモリセルアレイのコンタクト領域における断面構造の一例を示す断面図。
第2変形例に係るメモリセルアレイのコンタクト領域及びPNコンタクト領域における断面構造の一例を示す断面図。
第3変形例に係るメモリデバイスの断面構造の一例を示す断面図。
第4変形例に係るメモリデバイスの断面構造の一例を示す断面図。
第5変形例に係るメモリデバイスの断面構造の一例を示す断面図。
第5変形例に係るメモリデバイスが備える2つの階層の境界部分におけるメモリピラーの詳細な断面構造の一例を示す断面図。
実施形態に係るメモリデバイスにおいて対向配置される2つの接合パッドの近傍の詳細な断面構造の一例を示す断面図。
【発明を実施するための形態】
【0007】
以下に、実施形態について図面を参照して説明する。実施形態は、発明の技術的思想を具体化するための装置や方法を例示している。図面は、模式的又は概念的なものである。各図面の寸法や比率などは、必ずしも現実のものと同一とは限らない。構成の図示は、適宜省略されている。平面図に付加されたハッチングは、構成要素の素材や特性とは必ずしも関連していない。本明細書において、略同一の機能及び構成を有する構成要素には、同一の符号が付加されている。参照符号に付加された数字や文字などは、同じ参照符号により参照され、且つ類似した要素同士を区別するために使用される。
【0008】
<1>構成
まず、実施形態に係るメモリデバイス1の構成について説明する。
【0009】
<1-1>メモリデバイス1の全体構成
図1は、実施形態に係るメモリデバイス1を備えるメモリシステムの全体構成の一例を示すブロック図である。図1に示すように、メモリデバイス1は、外部のメモリコントローラ2によって制御される。メモリデバイス1は、例えば、データを不揮発に記憶することが可能なNAND型フラッシュメモリである。メモリデバイス1は、例えば、メモリセルアレイ10、入出力回路11、ロジックコントローラ12、レジスタ回路13、シーケンサ14、ドライバ回路15、ロウデコーダモジュール16、及びセンスアンプモジュール17を含む。
【0010】
メモリセルアレイ10は、複数のブロックBLK0~BLKn(“n”は、1以上の整数)を含む。ブロックBLKは、複数のメモリセルの集合である。ブロックBLKは、例えば、データの消去の単位に対応する。ブロックBLKは、複数のページを含む。ページは、データの読み出し及び書き込みが実行される単位に対応する。図示が省略されているが、メモリセルアレイ10には、複数のビット線BL0~BLm(“m”は1以上の整数)と、複数のワード線WLとが設けられる。各メモリセルは、例えば、1つのビット線BLと1つのワード線WLとに関連付けられる。
(【0011】以降は省略されています)
この特許をJ-PlatPat(特許庁公式サイト)で参照する
関連特許
富士電機株式会社
半導体装置
21日前
富士電機株式会社
半導体装置
3日前
三菱電機株式会社
半導体装置
1か月前
AGC株式会社
太陽電池モジュール
6日前
株式会社半導体エネルギー研究所
半導体装置
1か月前
株式会社半導体エネルギー研究所
半導体装置
1か月前
日亜化学工業株式会社
発光素子
1日前
日亜化学工業株式会社
発光装置
21日前
株式会社半導体エネルギー研究所
半導体装置
22日前
キヤノン株式会社
有機発光素子
13日前
住友電気工業株式会社
半導体装置
13日前
株式会社東芝
熱電変換装置
1日前
ローム株式会社
TVSダイオード
1日前
ローム株式会社
TVSダイオード
1日前
ローム株式会社
半導体装置
1日前
住友電気工業株式会社
半導体装置
13日前
株式会社半導体エネルギー研究所
発光デバイス
1か月前
ローム株式会社
窒化物半導体装置
27日前
ローム株式会社
窒化物半導体装置
21日前
三菱電機株式会社
半導体装置
7日前
日亜化学工業株式会社
発光素子
24日前
個人
半導体装置
23日前
株式会社カネカ
太陽光発電システム
22日前
株式会社カネカ
太陽電池モジュール
1日前
国立大学法人東京科学大学
半導体装置
22日前
キオクシア株式会社
半導体装置
7日前
東芝ライテック株式会社
発光モジュール
3日前
株式会社東芝
電子回路及び計算装置
15日前
日亜化学工業株式会社
光源及び基板
13日前
ローム株式会社
タイマ
7日前
日本電気株式会社
量子回路装置と制御方法
3日前
日本電気株式会社
量子回路装置と制御方法
3日前
ローム株式会社
半導体装置
1か月前
ローム株式会社
半導体装置
1か月前
住友電気工業株式会社
半導体装置
3日前
日亜化学工業株式会社
窒化物半導体発光素子
3日前
続きを見る
他の特許を見る