TOP
|
特許
|
意匠
|
商標
特許ウォッチ
Twitter
他の特許を見る
公開番号
2025140694
公報種別
公開特許公報(A)
公開日
2025-09-29
出願番号
2024040239
出願日
2024-03-14
発明の名称
窒化物半導体発光素子
出願人
日亜化学工業株式会社
代理人
個人
,
個人
主分類
H10H
20/819 20250101AFI20250919BHJP()
要約
【課題】低電流での駆動及び順方向電圧の低減が可能な窒化物半導体発光素子を提供する。
【解決手段】 n型不純物を含む第1n型半導体層と、第1n型半導体層上に配置され、p型不純物を含む第1p型半導体層と、第1p型半導体層上に配置され、孔部を有する活性層と、活性層上に配置され、実質的にn型不純物を含まない半導体からなる中間層と、中間層上に配置され、n型不純物を含む第2n型半導体層と、第1n型半導体層と電気的に接続された第1電極と、第2n型半導体層と電気的に接続された第2電極と、を含み、中間層は、少なくとも前記孔部の内側面を覆っている。
特許請求の範囲
【請求項1】
n型不純物を含む第1n型半導体層と、
前記第1n型半導体層上に配置され、p型不純物を含む第1p型半導体層と、
前記第1p型半導体層上に配置され、孔部を有する活性層と、
前記活性層上に配置され、実質的にn型不純物を含まない半導体からなる中間層と、
前記中間層上に配置され、n型不純物を含む第2n型半導体層と、
前記第1n型半導体層と電気的に接続された第1電極と、
前記第2n型半導体層と電気的に接続された第2電極と、
を含み、
前記中間層は、少なくとも前記孔部の内側面を覆う、窒化物半導体発光素子。
続きを表示(約 640 文字)
【請求項2】
前記中間層は、前記孔部の内側面全体を覆う請求項1記載の窒化物半導体発光素子。
【請求項3】
前記中間層は、p型不純物を含む請求項1記載の窒化物半導体発光素子。
【請求項4】
前記第1p型半導体層と前記活性層との間に配置され、p型不純物を含む超格子層を含み、
前記孔部は、前記超格子層を貫通する請求項1記載の窒化物半導体発光素子。
【請求項5】
前記第1p型半導体層と前記活性層との間に配置され、p型不純物を含む超格子層を含み、
前記孔部の底部は、前記超格子層に位置する請求項1記載の窒化物半導体発光素子。
【請求項6】
前記第2n型半導体層は、第3n型半導体層と第4n型半導体層とを含み、
前記第2電極は、前記第4n型半導体層上に配置される請求項1に記載の窒化物半導体発光素子。
【請求項7】
前記第4n型半導体層の上面の表面粗さは、前記第3n型半導体層の上面の表面粗さより小さい請求項6に記載の窒化物半導体発光素子。
【請求項8】
前記第4n型半導体層のn型不純物濃度は、前記第3n型半導体層のn型不純物濃度より大きい請求項6又は7に記載の窒化物半導体発光素子。
【請求項9】
前記第1p型半導体層と前記超格子層との間に配置され、実質的にn型不純物を含まない第2中間層を含む請求項4又は5に記載の窒化物半導体発光素子。
発明の詳細な説明
【技術分野】
【0001】
本開示は、窒化物半導体発光素子に関する。
続きを表示(約 2,000 文字)
【背景技術】
【0002】
窒化物半導体発光素子は、その用途が拡大するにつれて発光効率の向上が求められ、特許文献1に開示された発光素子は低電流で駆動させることができるとされている。
【先行技術文献】
【特許文献】
【0003】
特表2020-501345号公報
【発明の概要】
【発明が解決しようとする課題】
【0004】
しかしながら、窒化物半導体発光素子は、低電流での駆動とともに順方向電圧の低減が求められている。
【0005】
そこで、本開示は、低電流での駆動及び順方向電圧の低減が可能な窒化物半導体発光素子を提供することを目的とする。
【課題を解決するための手段】
【0006】
以上の目的を達成するために、本開示に係る窒化物半導体発光素子は、
n型不純物を含む第1n型半導体層と、
前記第1n型半導体層上に配置され、p型不純物を含む第1p型半導体層と、
前記第1p型半導体層上に配置され、孔部を有する活性層と、
前記活性層上に配置され、実質的にn型不純物を含まない半導体からなる中間層と、
前記中間層上に配置され、n型不純物を含む第2n型半導体層と、
前記第1n型半導体層と電気的に接続された第1電極と、
前記第2n型半導体層と電気的に接続された第2電極と、
を含み、
前記中間層は、少なくとも前記孔部の内側面を覆っている。
【発明の効果】
【0007】
以上のように構成された本開示に係る窒化物半導体発光素子によれば、低電流での駆動及び順方向電圧の低減が可能な窒化物半導体発光素子を提供することができる。
【図面の簡単な説明】
【0008】
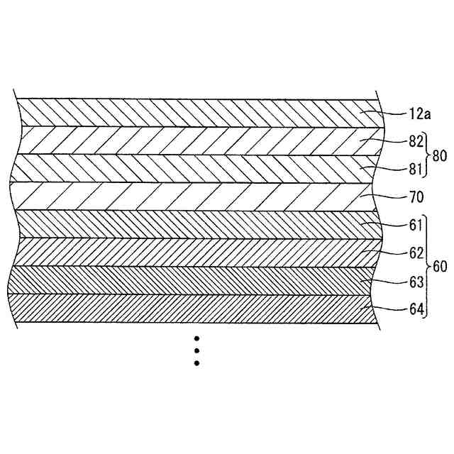
実施形態1の窒化物半導体発光素子の断面図である。
図1の一部を拡大して示す断面図である。
図1の他の一部を拡大して示す断面図である。
実施形態2の窒化物半導体発光素子の断面図である。
【発明を実施するための形態】
【0009】
以下、図面を参照しながら、本開示を実施するための実施形態や実施例を説明する。なお、以下に説明する窒化物半導体発光素子及び窒化物半導体発光素子の製造方法は、本開示の技術思想を具体化するためのものであって、特定的な記載がない限り、本開示を以下のものに限定するものではない。
各図面中、同一の機能を有する部材には、同一符号を付している場合がある。要点の説明または理解の容易性を考慮して、便宜上実施形態や実施例に分けて示す場合があるが、異なる実施形態や実施例で示した構成の部分的な置換または組み合わせは可能である。後述の実施形態や実施例では、前述と共通の事柄についての記述を省略し、異なる点についてのみ説明する場合がある。特に、同様の構成による同様の作用効果については、実施形態や実施例ごとには逐次言及しない場合がある。各図面が示す部材の大きさや位置関係等は、説明を明確にするため、誇張して示している場合もある。
【0010】
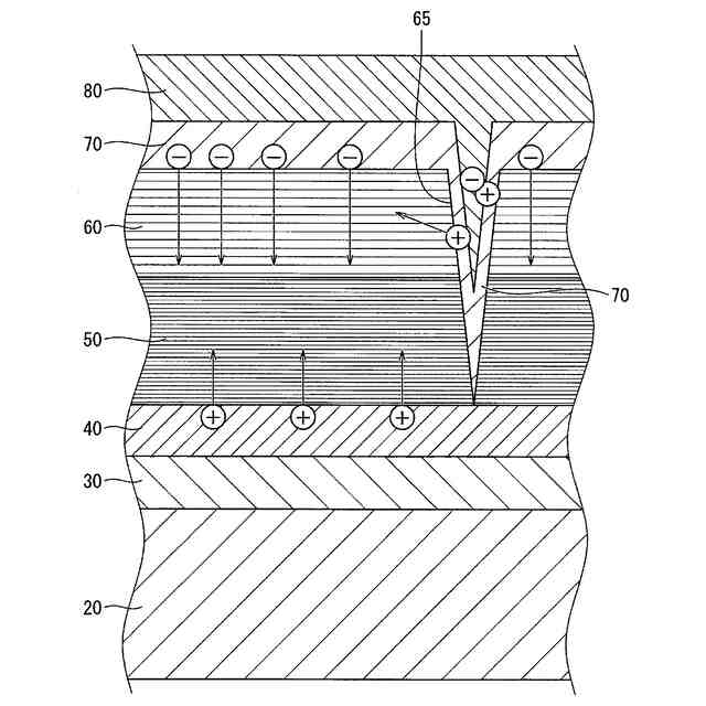
本開示に係る実施形態の窒化物半導体発光素子は、図1等に示すように、
n型不純物を含む第1n型半導体層20と、
第1n型半導体層20上に配置され、p型不純物を含む第1p型半導体層30と、
第1p型半導体層30上に配置され、孔部65を有する活性層60と、
活性層60上に配置され、実質的にn型不純物を含まない半導体からなる中間層70と、
中間層70上に配置され、n型不純物を含む第2n型半導体層80と、
第1n型半導体層20と電気的に接続された第1電極11と、
第2n型半導体層80と電気的に接続された第2電極12と、
を含む。
そして中間層70は、図3に示すように少なくとも孔部65の内側面を覆っている。
以上のように構成された窒化物半導体発光素子は、実質的にn型不純物を含まない半導体からなる中間層70が孔部65の内側面を覆うことにより、低電流で駆動させることが可能になりかつ順方向電圧を低減することができる。
ここで、本明細書における窒化物半導体とは、アルミニウム(Al)、ガリウム(Ga)およびインジウム(In)の少なくともいずれか1つと窒素(N)とを含む2元~4元の半導体をいい、In
x
Al
y
Ga
1-x-y
N(0≦x≦1,0≦y≦1,x+y≦1)からなる化学式において組成比x及びyをそれぞれの範囲内で変化させた全ての組成の半導体を含み得る。
以下、本開示に係る実施形態の窒化物半導体発光素子について詳細に説明する。
(【0011】以降は省略されています)
この特許をJ-PlatPat(特許庁公式サイト)で参照する
関連特許
日亜化学工業株式会社
発光装置
2日前
日亜化学工業株式会社
発光素子
3日前
日亜化学工業株式会社
配置部材、及び、発光装置
2日前
日亜化学工業株式会社
発光装置、および面状光源
3日前
日亜化学工業株式会社
半導体素子およびその製造方法
3日前
日亜化学工業株式会社
発光装置の製造方法及び発光装置
3日前
日亜化学工業株式会社
光源装置およびそれらを有する加熱システム
4日前
日亜化学工業株式会社
セラミックス基板の製造方法及び発光装置の製造方法
2日前
個人
半導体装置
4日前
エイブリック株式会社
半導体装置
10日前
東レ株式会社
太陽電池モジュール
4日前
富士電機株式会社
半導体装置
13日前
富士電機株式会社
半導体装置
1か月前
ローム株式会社
半導体装置
5日前
富士通株式会社
半導体装置
3日前
三菱電機株式会社
半導体装置
3日前
AGC株式会社
太陽電池モジュール
16日前
TDK株式会社
圧電素子
3日前
日亜化学工業株式会社
発光装置
1か月前
日亜化学工業株式会社
発光素子
3日前
キヤノン株式会社
有機発光素子
23日前
日亜化学工業株式会社
発光素子
11日前
株式会社半導体エネルギー研究所
半導体装置
1か月前
ミツミ電機株式会社
半導体装置
10日前
日亜化学工業株式会社
発光装置
2日前
TDK株式会社
光検知装置
10日前
住友電気工業株式会社
半導体装置
23日前
株式会社東芝
熱電変換装置
11日前
サンケン電気株式会社
半導体装置
9日前
住友電気工業株式会社
半導体装置
23日前
ローム株式会社
TVSダイオード
11日前
デクセリアルズ株式会社
受光装置
9日前
ローム株式会社
窒化物半導体装置
1か月前
ローム株式会社
TVSダイオード
11日前
ローム株式会社
窒化物半導体装置
1か月前
ローム株式会社
半導体装置
11日前
続きを見る
他の特許を見る