TOP
|
特許
|
意匠
|
商標
特許ウォッチ
Twitter
他の特許を見る
公開番号
2025149251
公報種別
公開特許公報(A)
公開日
2025-10-08
出願番号
2024049782
出願日
2024-03-26
発明の名称
光源装置およびそれらを有する加熱システム
出願人
日亜化学工業株式会社
代理人
個人
主分類
H01S
5/0225 20210101AFI20251001BHJP(基本的電気素子)
要約
【課題】レーザ光をより均一に照射できる光源装置を提供する。
【解決手段】照射対象の第1の面から第1の方向に離れた距離に配置された第1および第2のレーザー光源と、第1のレーザー光源から第1の面に沿った第2の方向に離れた位置に配置され、第1の面の第1の部分に向けて第1のレーザー光源からの第1の光を反射する第1の反射面と、第2のレーザー光源から第2の方向に離れた位置に配置され、第1の面の第1の部分から逆方向に離れた第2の部分に向けて第2のレーザー光源からの第2の光を反射する第2の反射面と、第1の光と第2の光とが入射する第1の拡散板とを有する光源装置を提供する。
【選択図】図2
特許請求の範囲
【請求項1】
照射対象の第1の面から第1の方向に離れた第1の距離に配置された第1のレーザー光源と、
前記第1の面から前記第1の方向に、前記第1の距離より短い第2の距離に配置された第2のレーザー光源と、
前記第1のレーザー光源から前記第1の面に沿った第2の方向に離れた第1の位置に配置され、前記第1の面の第1の部分に向けて前記第1のレーザー光源からの第1の光を反射する第1の反射面と、
前記第2のレーザー光源から前記第2の方向に前記第1の位置よりも離れた第2の位置に配置され、前記第1の面の前記第1の部分から前記第2の方向に、前記第1の位置に対する前記第2の位置とは逆方向に離れた第2の部分に向けて前記第2のレーザー光源からの第2の光を反射する第2の反射面と、
前記第1の光と前記第2の光が入射する第1の拡散板と、を有する、光源装置。
続きを表示(約 1,700 文字)
【請求項2】
請求項1において、
前記第2の反射面の反射角は、反射後の前記第2の光の光軸が前記第1の光の光軸と交差するように設定されており、
前記第1の方向において、
前記第1の拡散板は前記第1の面に対して距離Ldだけ離れており、
前記第2の光の光軸が前記第1の光の光軸と交差する位置は前記第1の面に対して距離Lcだけ離れており、
前記距離Ld、前記距離Lc、および前記第2の距離L2は以下の条件を満たす、光源装置。
L2>Ld≧Lc
【請求項3】
請求項1において、
前記第1の反射面を含む第1の光学素子と、
前記第2の反射面を含み、前記第2の反射面の角度を前記第1の反射面の角度とは独立して設定可能な第2の光学素子とを有する、光源装置。
【請求項4】
請求項1において、
前記第1の面から前記第1の方向に、前記第2の距離より短い第3の距離に配置された第3のレーザー光源と、
前記第3のレーザー光源から前記第2の方向に前記第2の位置よりも離れた第3の位置に配置され、前記第1の面の前記第1の部分から前記第2の方向に、前記第1の位置に対する前記第3の位置とは同じ方向に離れた第3の部分に向けて前記第3のレーザー光源からの第3の光を反射する第3の反射面と、
前記第3の光が通過する第2の拡散板であって、前記第1の拡散板とは分離された第2の拡散板と、を有する光源装置。
【請求項5】
請求項1において、
前記第1のレーザー光源および前記第2のレーザー光源を支持する第1の支持面を含む放熱基板を有する、光源装置。
【請求項6】
請求項5において、
前記放熱基板の前記第1の支持面と反対側の第2の支持面に配置された第4のレーザー光源と、
前記第1の面の前記第1の部分および前記第2の部分とは異なる第4の部分に向けて前記第4のレーザー光源からの第4の光を反射する第4の反射面と、
前記第4の光が通過する第3の拡散板であって、前記第1の拡散板とは分離された第3の拡散板と、を有する光源装置。
【請求項7】
請求項5において、
前記放熱基板の前記第1の支持面と反対側の第2の支持面の前記第1のレーザー光源の反対側に配置された第5のレーザー光源と、
前記第2の支持面の前記第2のレーザー光源の反対側に配置された第6のレーザー光源と、
前記第1のレーザー光源および前記第2のレーザー光源の配置に対する、前記第5のレーザー光源および前記第6のレーザー光源の配置が面対称となる第1の基準面に対し、前記第1の反射面と対称な位置および向きに配置された第5の反射面と、
前記第1の基準面に対し、前記第2の反射面と対称な位置および向きに配置された第6の反射面と、
前記第5のレーザー光源から出射され前記第5の反射面で反射された第5の光、および前記第6のレーザー光源から出射され前記第6の反射面で反射された第6の光に共通の第4の拡散板であって、前記第1の拡散板と分離された第4の拡散板とを有する光源装置。
【請求項8】
請求項7において、
前記第4の拡散板は、前記第1の基準面に対し、前記第1の拡散板と対称な位置に配置されている、光源装置。
【請求項9】
請求項8において、
前記第2の反射面は、前記第5の光の向いた第5の部分と、前記第6の光が向いた第6の部分との間に前記第2の部分が配置される向きに前記第2の光を反射するように設定されている、光源装置。
【請求項10】
請求項5において、
前記放熱基板の前記第1の面を向いた第3の支持面に配置された第7のレーザー光源であって、前記第1の面に向けて第7の光を照射する第7のレーザー光源と、
前記第7の光が通過する第5の拡散板であって、前記第1の拡散板とは分離された第5の拡散板と、を有する光源装置。
(【請求項11】以降は省略されています)
発明の詳細な説明
【技術分野】
【0001】
本発明は、光源装置およびそれらを有する加熱システムに関するものである。
続きを表示(約 2,200 文字)
【背景技術】
【0002】
特許文献1には、投射面に光が均一に照射されるとともに、透過拡散板で照射光学系への照射密度が低減される照明装置が開示されている。この照明装置は、光を出射する発光部と、発光部から出射された光を集光する集光部と、集光部により集光された光を拡散させる第1拡散部と、照度分布を均一化して出射する均一化光学系と、均一化光学系から出射した光を拡散する第2拡散部とを備える。
【先行技術文献】
【特許文献】
【0003】
特開2017-134992号公報
【発明の概要】
【発明が解決しようとする課題】
【0004】
半導体レーザーは、照明のみならず、加熱、乾燥、加工などの様々なプロセスに用いられるようになっている。照明用およびプロセス用などの、半導体レーザーを用いたシステムにおいては、レーザー光をより均一に照射できる光源装置が求められている。
【課題を解決するための手段】
【0005】
本発明の一態様は、照射対象の第1の面から第1の方向に離れた第1の距離に配置された第1のレーザー光源と、第1の面から第1の方向に、第1の距離より短い第2の距離に配置された第2のレーザー光源と、第1のレーザー光源から第1の面に沿った第2の方向に離れた第1の位置に配置された第1の反射面と、第2のレーザー光源から第2の方向に第1の位置よりも離れた第2の位置に配置された第2の反射面とを有する光源装置である。第1の反射面は、第1の面の第1の部分に向けて第1のレーザー光源からの第1の光を反射し、第2の反射面は、第1の面の第1の部分から第2の方向に、第1の位置に対する第2の位置とは逆方向に離れた第2の部分に向けて第2のレーザー光源からの第2の光を反射し、光源装置は、さらに、これら第1の光と第2の光が入射する第1の拡散板を有する。
【0006】
本発明の他の態様の1つは、第1の支持面を有する放熱基板と、第1の支持面に平行な第1の方向に延びた第1の仮想軸に沿って配置された第1のレーザー光源および第2のレーザー光源と、第1の支持面に直交する第2の方向に第1の仮想軸から離れた第1の位置で、第1のレーザー光源からの第1の光を、第1の方向に、第1の仮想軸に対して第1の角度をなすように反射する第1の反射面と、第2の方向に第1の仮想軸から第1の位置よりも離れた第2の位置で、第2のレーザー光源からの第2の光を、第1の方向に、第1の仮想軸に対して第1の角度よりも大きな第2の角度をなすように反射し、第1の光の光軸と第2の光の光軸とを交差させる第2の反射面と、第1の光と第2の光とに共通の第1の拡散板とを有する光源装置である。
【発明の効果】
【0007】
本開示の一態様によれば、レーザー光をより均一に照射できる光源装置を提供することができる。
【図面の簡単な説明】
【0008】
加熱システムの概要を示す図。
光源装置の概要を示す図。
レーザーダイオード(LD)チップパッケージの一例を示す図。
光源装置の異なる例の概要を示す図。
光源装置のさらに異なる例の概要を示す図。
放熱基板を上方から見た様子を示す図。
光源装置を背面から見た様子を示す図。
光源装置のさらに異なる例の概要を示す図。
照射面における照度分布の例を示す図。
照射面における照度分布の他の例を示す図。
照射面における照度分布の他の例を示す図。
【発明を実施するための形態】
【0009】
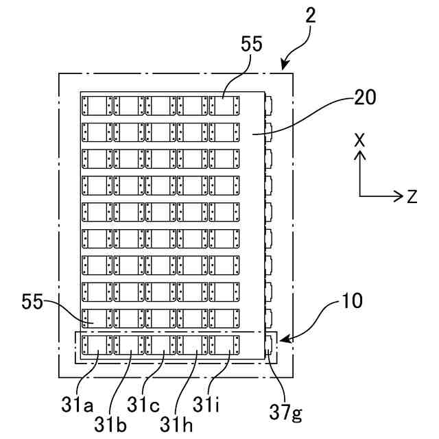
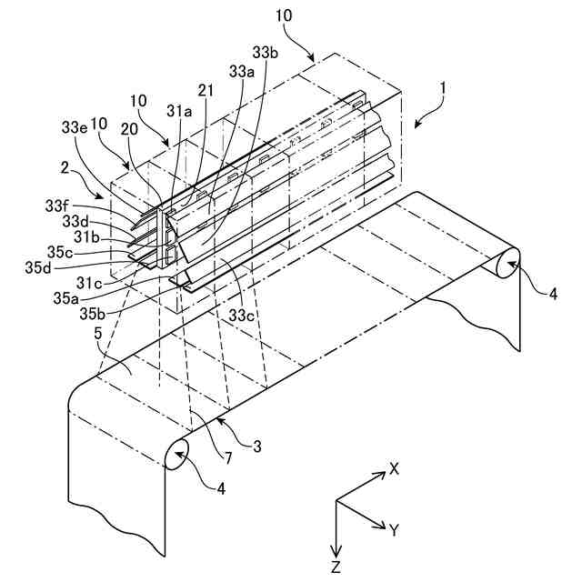
図1に、複数のレーザー光を照射するプロセス装置の一例として、対象物、例えば、二次電池の電極材などを加熱する加熱システムの概要を示している。この加熱システム1は、X方向に加熱対象物3を搬送する搬送装置4と、加熱対象物3の表面(すなわち、照射対象の領域、照射対象の第1の面5)に向けて加熱用のレーザー光7を照射する加熱装置2とを有する。加熱装置2は、複数の光源装置10を含み、それぞれの光源装置10は搬送方向であるX方向に短く、それに直交するY方向に広く、さらに、加熱対象の第1の面5に対して直交するZ方向(すなわち、第1の方向)に延びた仮想軸8に沿って複数のレーザー光源31a~31cが並び、長くなるように配置されている。
【0010】
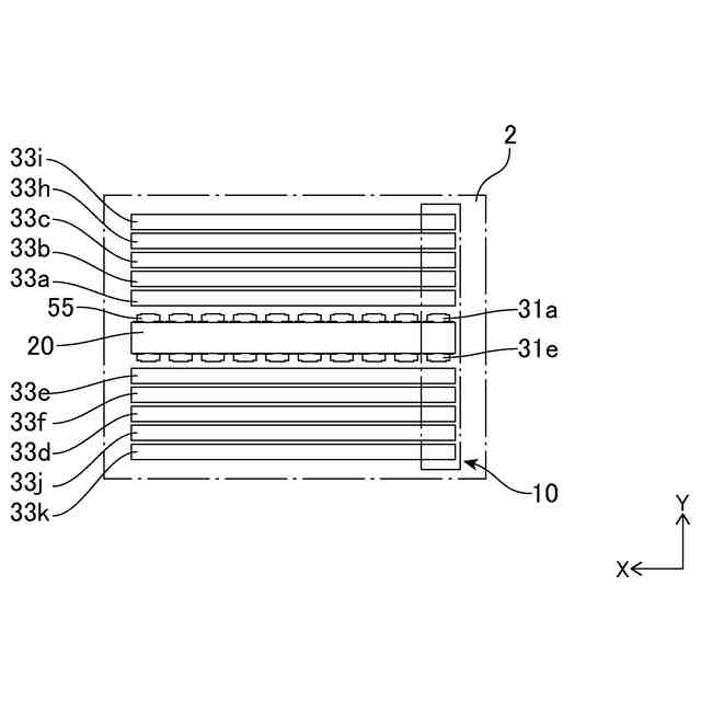
図2に、それぞれの光源装置10の側方(X方向)から見た構成を示している。それぞれの光源装置10は、仮想軸8に沿ってZ方向に延びた放熱基板20と、その一方の支持面(すなわち、第1の支持面)21に、Z方向に仮想軸8に沿って配置された第1のレーザー光源31a、第2のレーザー光源31b、および第3のレーザー光源31cと、反対側の支持面(すなわち、第2の支持面)22に、Z方向に仮想軸8に沿って配置された第4のレーザー光源31d、第5のレーザー光源31e、および第6のレーザー光源31fとを含む。光源装置10は、さらに、Y方向(すなわち、第2の方向)に、第1の支持面21に面して配置された第1反射板33a、第2反射板33b、および第3の反射板33cと、第2の支持面22に面して配置された第4反射板33d、第5反射板33e、および第6の反射板33fとを有する。
(【0011】以降は省略されています)
この特許をJ-PlatPat(特許庁公式サイト)で参照する
関連特許
日亜化学工業株式会社
発光装置
28日前
日亜化学工業株式会社
面状光源
6日前
日亜化学工業株式会社
発光装置
1か月前
日亜化学工業株式会社
発光素子
26日前
日亜化学工業株式会社
発光装置
29日前
日亜化学工業株式会社
発光素子
26日前
日亜化学工業株式会社
光学薄膜の製造方法
5日前
日亜化学工業株式会社
垂直共振器面発光レーザ素子
26日前
日亜化学工業株式会社
軟磁性材料およびその製造方法
29日前
日亜化学工業株式会社
発光装置の製造方法及び発光装置
1か月前
日亜化学工業株式会社
発光モジュール及びモバイルデバイス
26日前
日亜化学工業株式会社
照射装置、発光装置、及び紫外光の照射方法
26日前
日亜化学工業株式会社
透光性部材の製造方法、透光性部材、及び発光装置
13日前
日亜化学工業株式会社
発光装置
今日
日亜化学工業株式会社
発光装置
1か月前
日亜化学工業株式会社
セラミックス基板及び発光装置、並びに、それらの製造方法
26日前
日亜化学工業株式会社
波長変換部材、光源モジュール、及び、波長変換部材の製造方法
今日
日亜化学工業株式会社
発光モジュール
19日前
日亜化学工業株式会社
正極活物質及び非水電解質二次電池用正極
28日前
日亜化学工業株式会社
面発光装置、レンズ積層体及びその製造方法、面発光装置の製造方法、レンズ集合体の製造方法
28日前
日亜化学工業株式会社
波長ビーム結合装置、ダイレクトダイオードレーザ装置、およびレーザ加工機
13日前
東ソー株式会社
絶縁電線
1か月前
APB株式会社
蓄電セル
1か月前
個人
フレキシブル電気化学素子
1か月前
株式会社東芝
端子台
1か月前
マクセル株式会社
電源装置
1か月前
株式会社ユーシン
操作装置
1か月前
ローム株式会社
半導体装置
1か月前
日新イオン機器株式会社
イオン源
1か月前
株式会社GSユアサ
蓄電設備
1か月前
株式会社GSユアサ
蓄電設備
1か月前
株式会社GSユアサ
蓄電装置
1か月前
株式会社GSユアサ
蓄電装置
1か月前
株式会社ホロン
冷陰極電子源
1か月前
富士電機株式会社
電磁接触器
13日前
株式会社GSユアサ
蓄電装置
27日前
続きを見る
他の特許を見る