TOP
|
特許
|
意匠
|
商標
特許ウォッチ
Twitter
他の特許を見る
公開番号
2025140454
公報種別
公開特許公報(A)
公開日
2025-09-29
出願番号
2024039866
出願日
2024-03-14
発明の名称
発光モジュール
出願人
東芝ライテック株式会社
代理人
個人
,
個人
主分類
H10H
20/85 20250101AFI20250919BHJP()
要約
【課題】簡易な方法で情報を格納することができ、且つ、格納された情報を長期間保持することができる発光モジュールを提供することである。
【解決手段】実施形態に係る発光モジュールは、基板と;前記基板に設けられた発光素子と;前記基板に設けられ、複数の孔の配置により情報を格納する情報格納部と;を具備している。
【選択図】図2
特許請求の範囲
【請求項1】
基板と;
前記基板に設けられた発光素子と;
前記基板に設けられ、複数の孔の配置により情報を格納する情報格納部と;
を具備した発光モジュール。
続きを表示(約 300 文字)
【請求項2】
前記情報格納部は、前記基板の面に設けられた膜状体と、前記膜状体に設けられた前記複数の孔と、を有する請求項1記載の発光モジュール。
【請求項3】
前記情報格納部は、前記基板の面に直接設けられた前記複数の孔を有する請求項1記載の発光モジュール。
【請求項4】
前記基板は、無機材料を含み、
前記膜状体は、ガラス材料を含んでいる請求項2記載の発光モジュール。
【請求項5】
前記基板に設けられた配線パターンと;
前記配線パターンを覆い、前記ガラス材料を含む被覆部と;
をさらに具備した請求項4記載の発光モジュール。
発明の詳細な説明
【技術分野】
【0001】
本発明の実施形態は、発光モジュールに関する。
続きを表示(約 1,200 文字)
【背景技術】
【0002】
省エネルギー化や長寿命化などの観点から、フィラメントを有するランプに代えて、発光ダイオードなどの発光素子を備えた発光モジュールの普及が進んでいる。この様な発光モジュールは、例えば、基板と、基板に設けられた発光素子と、を備えている。
【0003】
また、発光素子の種類は、発光モジュールの用途に応じて適宜選択される。例えば、発光モジュールが照明装置に用いられる場合には、可視光領域の光を照射する発光素子とすることができる。また、例えば、発光モジュールが、表面改質、紫外線硬化樹脂の硬化、光触媒の励起、殺菌などに用いられる場合には、紫外線領域の光を照射する発光素子とすることができる。また、例えば、発光モジュールがセンサなどに用いられる場合には、赤外線領域の光を照射する発光素子、可視光領域の光を照射する発光素子、および紫外線領域の光を照射する発光素子のいずれかとすることができる。
【0004】
この様に、発光素子を備えた発光モジュールは、幅広い技術分野において様々な用途に用いられる。
そのため、品質管理などの観点から、発光モジュールの種類、製造ロット、品番などの情報を管理する必要がある。この場合、この様な情報が、発光モジュール毎に設けられていれば、当該情報を読み取ることでロットトレースを行ったり、メンテナンスを行ったりすることができる。
【0005】
例えば、インクなどを用いて、発光モジュールに設けられた基板などに、この様な情報を印字することができる。しかしながら、インクなどを用いて、この様な情報を印字すると、経時的に情報が消えたり、経時的に情報の読み取りが困難となったりするおそれがある。
【0006】
そこで、簡易な方法で情報を格納することができ、且つ、格納された情報を長期間保持することができる発光モジュールの開発が望まれていた。
【先行技術文献】
【特許文献】
【0007】
特開2022-024123号公報
【発明の概要】
【発明が解決しようとする課題】
【0008】
本発明が解決しようとする課題は、簡易な方法で情報を格納することができ、且つ、格納された情報を長期間保持することができる発光モジュールを提供することである。
【課題を解決するための手段】
【0009】
実施形態に係る発光モジュールは、基板と;前記基板に設けられた発光素子と;前記基板に設けられ、複数の孔の配置により情報を格納する情報格納部と;を具備している。
【発明の効果】
【0010】
本発明の実施形態によれば、簡易な方法で情報を格納することができ、且つ、格納された情報を長期間保持することができる発光モジュールを提供することができる。
【図面の簡単な説明】
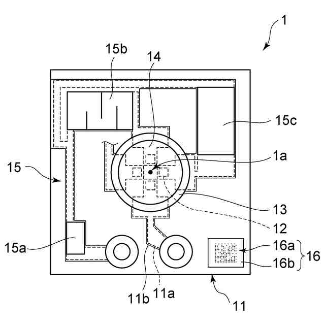
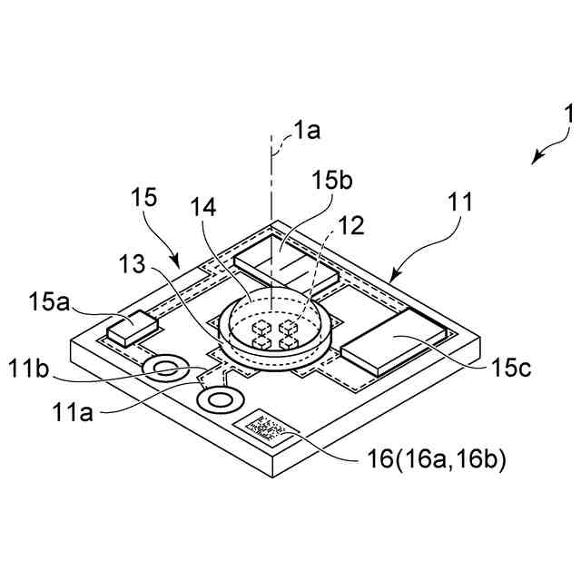
(【0011】以降は省略されています)
この特許をJ-PlatPat(特許庁公式サイト)で参照する
関連特許
エイブリック株式会社
半導体装置
5日前
富士電機株式会社
半導体装置
8日前
富士電機株式会社
半導体装置
26日前
ローム株式会社
半導体装置
今日
AGC株式会社
太陽電池モジュール
11日前
日亜化学工業株式会社
発光装置
26日前
株式会社半導体エネルギー研究所
半導体装置
27日前
日亜化学工業株式会社
発光素子
6日前
キヤノン株式会社
有機発光素子
18日前
ミツミ電機株式会社
半導体装置
5日前
住友電気工業株式会社
半導体装置
18日前
住友電気工業株式会社
半導体装置
18日前
ローム株式会社
TVSダイオード
6日前
TDK株式会社
光検知装置
5日前
ローム株式会社
窒化物半導体装置
1か月前
ローム株式会社
半導体装置
6日前
ローム株式会社
TVSダイオード
6日前
デクセリアルズ株式会社
受光装置
4日前
サンケン電気株式会社
半導体装置
4日前
ローム株式会社
窒化物半導体装置
26日前
株式会社東芝
熱電変換装置
6日前
個人
半導体装置
28日前
キオクシア株式会社
記憶装置
4日前
三菱電機株式会社
半導体装置
12日前
株式会社カネカ
太陽電池モジュール
6日前
日亜化学工業株式会社
発光素子
29日前
株式会社カネカ
太陽光発電システム
27日前
内山工業株式会社
太陽電池
4日前
キオクシア株式会社
半導体装置
12日前
国立大学法人東京科学大学
半導体装置
27日前
日亜化学工業株式会社
光源及び基板
18日前
株式会社東芝
電子回路及び計算装置
20日前
東芝ライテック株式会社
発光モジュール
8日前
住友電気工業株式会社
半導体装置
8日前
日本電気株式会社
量子回路装置と制御方法
8日前
ローム株式会社
タイマ
12日前
続きを見る
他の特許を見る