TOP
|
特許
|
意匠
|
商標
特許ウォッチ
Twitter
他の特許を見る
10個以上の画像は省略されています。
公開番号
2025132880
公報種別
公開特許公報(A)
公開日
2025-09-10
出願番号
2024030734
出願日
2024-02-29
発明の名称
半導体装置
出願人
国立大学法人東京科学大学
代理人
個人
,
個人
主分類
H10B
12/00 20230101AFI20250903BHJP()
要約
【課題】メモリセルに接続されるビット線のレイアウトピッチが小さい場合にもセンスアンプのレイアウトピッチを緩和することでレイアウトの容易性を向上する。
【解決手段】半導体装置は、第1方向と交差する第2方向に延在する複数のワード線と、第1方向に延在する複数の第1ビット線と、複数のメモリセルとをそれぞれ有し、第2方向に沿って配置される第1セルアレーおよび第2セルアレーと、平面視で第1セルアレーと第2セルアレーとの対向部分に第1方向に沿って配置される複数のセンスアンプと、第2方向に延在し、第1セルアレーの第1ビット線をセンスアンプに接続する第2ビット線と、第2方向に延在し、第2セルアレーの第1ビット線をセンスアンプに接続する第3ビット線と、を有する。
【選択図】図3
特許請求の範囲
【請求項1】
第1方向に間隔を置いて配置され、前記第1方向と交差する第2方向に延在する複数のワード線と、前記第2方向に間隔を置いて配置され、前記第1方向に延在する複数の第1ビット線と、前記ワード線と前記第1ビット線との交差部にそれぞれ配置される複数のメモリセルとをそれぞれ有し、前記第2方向に沿って配置される第1セルアレーおよび第2セルアレーと、
平面視で前記第1セルアレーと前記第2セルアレーとの対向部分に前記第1方向に沿って配置される複数のセンスアンプと、
前記第1方向に間隔を置いて配置され、前記第2方向に延在し、前記第1セルアレーの前記複数の第1ビット線のいずれかを前記複数のセンスアンプのいずれかに接続する複数の第2ビット線と、
前記第1方向に間隔を置いて配置され、前記第2方向に延在し、前記第2セルアレーの前記複数の第1ビット線のいずれかを前記複数のセンスアンプのいずれかに接続する複数の第3ビット線と、を有すること
を特徴とする半導体装置。
続きを表示(約 1,600 文字)
【請求項2】
前記複数のメモリセルの各々は、データを記憶するセルキャパシタと、前記セルキャパシタと前記第1ビット線との間に配置され、ゲートが前記ワード線に接続されたトランスファトランジスタとを有し、
前記セルキャパシタは、前記第2方向の長さに比べて前記第1方向の長さが長い形状を有し、平面視で前記第1方向に隣接する一対の前記ワード線の間に配置されること
を特徴とする請求項1に記載の半導体装置。
【請求項3】
前記第1セルアレーおよび前記第2セルアレーを含む第1階層と、
前記センスアンプ、前記第2ビット線および前記第3ビット線を含み、前記第1階層に対向して配置される第2階層と、
前記第1セルアレーの前記第1ビット線と前記第2ビット線とを相互に接続する第1ビアと、
前記第2セルアレーの前記第1ビット線と前記第3ビット線とを相互に接続する第2ビアと、
を特徴とする請求項1に記載の半導体装置。
【請求項4】
前記第1階層を含む第1半導体基板と、
前記第2階層を含む第2半導体基板と、を有し、
前記第1ビアの一端および他端は、バンプを介することなく前記第1セルアレーの前記第1ビット線および前記第2ビット線に接続され、
前記第2ビアの一端および他端は、バンプを介することなく前記第2セルアレーの前記第1ビット線および前記第3ビット線に接続されること
を特徴とする請求項3に記載の半導体装置。
【請求項5】
前記第1方向に沿って配置される前記複数のセンスアンプは、前記第2方向にずれて配置され、
前記複数の第2ビット線の各々は、一端が前記センスアンプに接続され、他端が前記第1セルアレーの前記第1ビット線に接続され、
前記複数の第3ビット線の各々は、一端が前記センスアンプに接続され、他端が前記第2セルアレーの前記第1ビット線に接続され、
前記第2ビット線と前記第3ビット線の長さは、互いに等しいこと
を特徴とする請求項4に記載の半導体装置。
【請求項6】
データ入出力回路を含む第3半導体基板と、
前記データ入出力回路を前記センスアンプに接続する第3ビアとを有すること
を特徴とする請求項4に記載の半導体装置。
【請求項7】
前記第3ビアの一端および他端は、バンプを介することなく前記データ入出力回路および前記センスアンプにそれぞれ接続されること
を特徴とする請求項6に記載の半導体装置。
【請求項8】
前記第1半導体基板は、駆動する前記ワード線をアドレス信号に基づいて選択するロウデコーダを有し、
前記ロウデコーダは、平面視で前記第2半導体基板の前記センスアンプに対向する領域に配置されること
を特徴とする請求項4に記載の半導体装置。
【請求項9】
前記第1セルアレー、前記第2セルアレー、前記複数の第2ビット線および前記複数の第3ビット線を含む第1半導体基板と、
前記センスアンプを含み、前記第1半導体基板に対向して配置される第2半導体基板と、
前記複数の第2ビット線および前記複数の第3ビット線を前記複数のセンスアンプにそれぞれ接続するビアと、を有すること
を特徴とする請求項1に記載の半導体装置。
【請求項10】
前記第1セルアレー、前記第2セルアレー、前記複数のセンスアンプ、前記複数の第2ビット線および前記複数の第3ビット線を含む第1半導体基板と、
データ入出力回路を含む第2半導体基板と、
前記データ入出力回路を前記センスアンプに接続するビアとを有すること
を特徴とする請求項1に記載の半導体装置。
(【請求項11】以降は省略されています)
発明の詳細な説明
【技術分野】
【0001】
本発明は、半導体装置に関する。
続きを表示(約 2,700 文字)
【背景技術】
【0002】
基板上に複数のDRAM(Dynamic Random Access Memory)を積層することで3次元メモリを含むウェハーを形成し、周辺回路が形成されたウェハーと接合することで複数の半導体装置を含む半導体ウェハーを製造する手法が知られている。そして、半導体ウェハーに含まれる複数の半導体装置が個片化されることで、ビット密度の高いメモリが形成される。例えば、3次元メモリウェハーと周辺回路ウェハーとは、バンプレスのTSV(Through Silicon Via)により相互に接続される。
【0003】
例えば、DRAMが積層された3D-DRAMのメモリセルにおいて、データを保持するセルキャパシタは、ウェハーの面方向に沿って水平方向に延在して形成され、トランスファトランジスタを介して、ウェハーの垂直方向または水平方向に延在するビット線に接続される。セルキャパシタは、必要なメモリセル容量を確保するために水平方向に細長い形状に形成される。セルキャパシタを垂直方向に延ばすとワード線の負荷容量が増し、トランジスタの周囲に無駄な面積が生じるからである。その結果、ビット線のピッチが小さくなり、相対的にワード線のピッチは非常に緩くなる。ここに本発明が解決したい問題の原点がある。トランスファトランジスタのゲートに接続されるワード線は、ビット線が垂直方向に延在する場合、水平方向に延在し、ビット線が水平方向に延在する場合、垂直方向に延在する。
【先行技術文献】
【特許文献】
【0004】
米国特許出願公開第2021/0225810号明細書
【非特許文献】
【0005】
J.W. Han et al., "Ongoing Evolution of DRAM Scaling via Third Dimension - Vertically Stacked DRAM -", 2023 Symposium on VLSI Technology and Circuits Digest of Technical Papers, TFS1-1
Mayu Aoki, Kazuyuki Hozawa, and kenichi Takeda, "Wafer-Level Hybrid Bonding Technology with Copper/Polymer Co-planarization", Proceedings of 3D System Integration Conference, 2012.
【発明の概要】
【発明が解決しようとする課題】
【0006】
セルキャパシタからビット線に読み出されたデータは、ビット線に接続されたセンスアンプにより増幅される。細長い形状のセルキャパシタを含むメモリセルをマトリックス状に配置する場合、各ビット線に接続されるトランスファトランジスタのレイアウトピッチはセルキャパシタの長さよりも大きくなる。このため、ワード線のレイアウトピッチは、トランスファトランジスタのレイアウトピッチに合わせて緩和される。しかしながら、緩和されたワード線のレイアウトピッチを利用してセンスアンプのレイアウトピッチを緩和する手法は提案されていない。
【0007】
そこで、本発明は、メモリセルに接続されるビット線のレイアウトピッチが小さい場合にもセンスアンプのレイアウトピッチを緩和することでレイアウトの容易性を向上することを目的とする。
【課題を解決するための手段】
【0008】
本発明の一形態の半導体装置は、第1方向に間隔を置いて配置され、前記第1方向と交差する第2方向に延在する複数のワード線と、前記第2方向に間隔を置いて配置され、前記第1方向に延在する複数の第1ビット線と、前記ワード線と前記第1ビット線との交差部にそれぞれ配置される複数のメモリセルとをそれぞれ有し、前記第2方向に沿って配置される第1セルアレーおよび第2セルアレーと、平面視で前記第1セルアレーと前記第2セルアレーとの対向部分に前記第1方向に沿って配置される複数のセンスアンプと、前記第1方向に間隔を置いて配置され、前記第2方向に延在し、前記第1セルアレーの前記複数の第1ビット線のいずれかを前記複数のセンスアンプのいずれかに接続する複数の第2ビット線と、前記第1方向に間隔を置いて配置され、前記第2方向に延在し、前記第2セルアレーの前記複数の第1ビット線のいずれかを前記複数のセンスアンプのいずれかに接続する複数の第3ビット線と、を有することを特徴とする。
【発明の効果】
【0009】
本発明によれば、メモリセルに接続されるビット線のレイアウトピッチが小さい場合にもセンスアンプのレイアウトピッチを緩和することでレイアウトの容易性を向上することができる。
【図面の簡単な説明】
【0010】
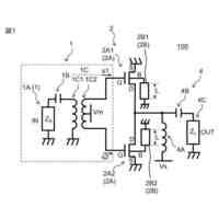
DRAMのメモリセルMCのレイアウトの一例を示す平面図である。
DRAM等の半導体装置のレイアウトの一例を示すブロック図である。
本発明の第1の実施形態に係る半導体装置のレイアウトの一例を示すブロック図である。
本発明の第2の実施形態に係る半導体装置のレイアウトの一例を示す分解斜視図である。
図4の領域Aの拡大を示す斜視図である。
図4の半導体基板SS1に形成される3D-DRAMの概要を示す部分斜視図である。
図4の半導体装置の製造方法の一例を示すフロー図である。
本発明の第3の実施形態に係る半導体装置のレイアウトの一例を示す平面図である。
図8の半導体装置を示す分解斜視図である。
図8の半導体基板SS2の回路レイアウトの一例を示す平面図である。
本発明の第4の実施形態に係る半導体装置のレイアウトの一例を示す図である。
図11の半導体基板SS2の回路レイアウトの一例を示す平面図である。
本発明の第5の実施形態に係る半導体装置のレイアウトの一例を示す分解斜視図である。
本発明の第6の実施形態に係る半導体装置のレイアウトの一例を示す分解斜視図である。
本発明の第7の実施形態に係る半導体装置のレイアウトの一例を示す分解斜視図である。
図15の半導体基板SS1の回路レイアウトの一例を示す平面図である。
【発明を実施するための形態】
(【0011】以降は省略されています)
この特許をJ-PlatPat(特許庁公式サイト)で参照する
関連特許
国立大学法人東京科学大学
通信装置
1か月前
国立大学法人東京科学大学
バラン回路
1か月前
国立大学法人東京科学大学
非線形回路
1か月前
国立大学法人東京科学大学
光化学センサ装置
2か月前
国立大学法人東京科学大学
チューニング装置
1か月前
国立大学法人東京科学大学
引張試験装置、及び試験片
1か月前
NTT株式会社
光デバイス
2か月前
国立大学法人東京科学大学
情報処理方法及びプログラム
1か月前
国立大学法人東京科学大学
複合酸化物パターンの形成方法
2か月前
国立大学法人東京科学大学
受光装置および光給電システム
1か月前
国立大学法人東京科学大学
押込試験装置、及び押込試験方法
1か月前
国立大学法人東京科学大学
燃料デブリの固化方法および固化体
1か月前
国立大学法人東京科学大学
振動センサ及び振動数検出システム
1か月前
学校法人早稲田大学
太陽光発電モジュール
1か月前
国立大学法人東京科学大学
ガラスアクチュエータ素子及びその製造方法
2か月前
国立大学法人東京科学大学
ジアセチル計測方法及びジアセチル計測装置
10日前
国立大学法人東京科学大学
計測装置、計測方法、及び、制御プログラム
10日前
トヨタ自動車株式会社
フッ化物イオン電池
1か月前
AGC株式会社
調光デバイスおよび調光方法
23日前
日清紡ホールディングス株式会社
燃料電池用電解質膜
1か月前
日清紡ホールディングス株式会社
燃料電池用バインダー
1か月前
鉄建建設株式会社
ガス化方法及び半炭化燃料材の製造方法
2日前
住友化学株式会社
磁気トンネル接合素子及び磁気デバイス
29日前
株式会社Synspective
パッシブアンテナパネル
2か月前
国立大学法人東京科学大学
面発光レーザ
1か月前
国立大学法人東京科学大学
修飾ヘテロ核酸
1か月前
国立大学法人東京科学大学
積層体、積層体の製造方法、及び超伝導転移温度を上昇させる方法
1か月前
三菱マテリアル株式会社
光機能材料、および、光機能材料付き基板
2か月前
NTT株式会社
通信品質予測装置、通信品質予測方法、及びプログラム
1か月前
パナソニックインダストリー株式会社
コンデンサ及びコンデンサの製造方法
1か月前
つばめBHB株式会社
触媒成形体及び該触媒を用いるアンモニアの合成方法
1か月前
NTT株式会社
植物の開花時期制御方法および開花時期が制御された植物の作出方法
8日前
三井化学株式会社
レーザ描画用光硬化性樹脂組成物、立体造形物、および立体造形物の製造方法
1か月前
三井化学株式会社
レーザ描画用光硬化性樹脂組成物、立体造形物、および立体造形物の製造方法
1か月前
一般財団法人ファインセラミックスセンター
微粒子及びその製造方法
26日前
国立研究開発法人量子科学技術研究開発機構
ディスペンサシステム、検査キット、および当該ディスペンサシステムを用いた試薬添加方法
23日前
続きを見る
他の特許を見る