TOP
|
特許
|
意匠
|
商標
特許ウォッチ
Twitter
他の特許を見る
公開番号
2025140230
公報種別
公開特許公報(A)
公開日
2025-09-29
出願番号
2024039460
出願日
2024-03-13
発明の名称
非線形回路
出願人
国立大学法人東京科学大学
代理人
弁理士法人エピファニー特許事務所
主分類
H03B
19/14 20060101AFI20250919BHJP(基本電子回路)
要約
【課題】非線形回路では、生成する信号の周波数帯が高周波になると出力が低下する、という課題がある。
【解決手段】非線形素子部を備える非線形回路であって、前記非線形素子部は、トランジスタと、伝送路とを有し、前記トランジスタのバックゲートは、前記伝送路に接続され、前記伝送路は、グランドに接続され、且つ、前記非線形回路に伝送される伝送信号の波長λに基づく全長を有し、前記全長は、0.8×λ/4以上、1.2×λ/4以下である、非線形回路が提供される。
【選択図】図1
特許請求の範囲
【請求項1】
非線形素子部を備える非線形回路であって、
前記非線形素子部は、トランジスタと、伝送路とを有し、
前記トランジスタのバックゲートは、前記伝送路に接続され、
前記伝送路は、グランドに接続され、且つ、前記非線形回路における伝送信号の波長λに基づく全長を有し、
前記全長は、0.8×λ/4以上、1.2×λ/4以下である、非線形回路。
続きを表示(約 540 文字)
【請求項2】
請求項1に記載の非線形回路であって、
バンドパスフィルタ部を更に備え、
前記バンドパスフィルタ部は、前記非線形回路の出力側に接続されている、非線形回路。
【請求項3】
請求項1又は請求項2に記載の非線形回路であって、
前記伝送信号は、10GHz以上である、非線形回路。
【請求項4】
請求項1又は請求項2に記載の非線形回路であって、
前記トランジスタは、第1トランジスタと、第2トランジスタとを有し、
前記伝送路は、第1伝送路と、前記第1伝送路とは別体の第2伝送路とを有し、
前記第1伝送路及び前記第2伝送路のそれぞれは、前記グランドに接続され、且つ、前記全長を有し、
前記第1トランジスタの前記バックゲートは、前記第1伝送路に接続され、
前記第2トランジスタの前記バックゲートは、前記第2伝送路に接続されている、非線形回路。
【請求項5】
請求項4に記載の非線形回路であって、
前記第1トランジスタ及び前記第2トランジスタのそれぞれは、ソース接地型のNMOSトランジスタであり、且つ、ドレインが互いに接続されている、非線形回路。
発明の詳細な説明
【技術分野】
【0001】
本発明は、非線形回路に関する。
続きを表示(約 1,300 文字)
【背景技術】
【0002】
例えば、アナログ通信やデジタル通信におけるクロック信号の正弦波は、発振回路から生成することができるが、発振回路から安定的により高い周波数の出力信号を取り出すために逓倍回路等の非線形回路が用いられることがある。ここで、特許文献1には、トランジスタといった非線形素子を有する逓倍回路(非線形回路)が開示されている。
【先行技術文献】
【特許文献】
【0003】
特開2016-149708号公報
【発明の概要】
【発明が解決しようとする課題】
【0004】
特許文献1等のような非線形回路では、生成する信号の周波数帯が高周波になると出力が低下する、という課題がある。
【0005】
本発明は、高出力な非線形回路を提供することを目的としている。
【課題を解決するための手段】
【0006】
本発明によれば、非線形素子部を備える非線形回路であって、前記非線形素子部は、トランジスタと、伝送路とを有し、前記トランジスタのバックゲートは、前記伝送路に接続され、前記伝送路は、グランドに接続され、且つ、前記非線形回路に伝送される伝送信号の波長λに基づく全長を有し、前記全長は、0.8×λ/4以上、1.2×λ/4以下である、非線形回路が提供される。
【0007】
本発明によれば、非線形回路のトランジスタのバックゲートは、全長が0.8×λ/4以上、1.2×λ/4以下となっている伝送路に接続されており(λは伝送信号の波長)、インピーダンス整合が適切に図られ、非線形回路の出力を高めることが可能である。
【図面の簡単な説明】
【0008】
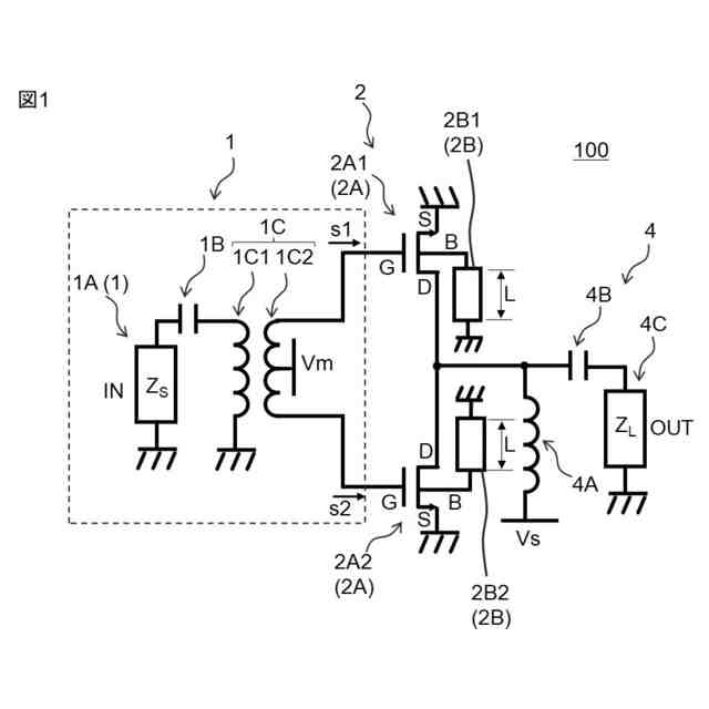
図1は、実施形態に係る非線形回路100の回路構成の一例を示す回路図である。
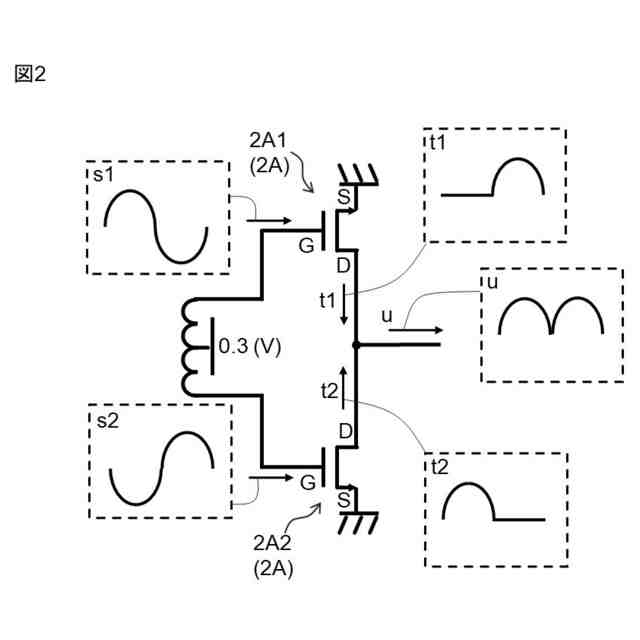
図2は、図1に示す非線形回路100の非線形素子(トランジスタ2A)において、正弦波信号s1から周波数が2倍の信号uを生成することを模式的に示した説明図である。
図3は、入力電力及び出力電力の関係を、従来の非線形回路と実施形態に係る非線形回路のそれぞれについて評価した結果を示すグラフである。
【発明を実施するための形態】
【0009】
以下、図面を用いて本発明の実施形態について説明する。以下に示す実施形態中で示した各種特徴事項は、互いに組み合わせ可能である。また、各特徴事項について独立して発明が成立する。
【0010】
1.実施形態の構成の説明
実施形態では、非線形回路100が周波数の逓倍回路(逓倍器)である場合を一例として説明する。逓倍回路には、各種の構成が存在しているが、実施形態では、非線形回路の非線形回路素子が、ソース接地型のNMОSのトランジスタである場合を一例として説明する。なお、非線形回路の回路構成は、図1の内容に限定されるものではなく、例えば、ミキサー回路に適用することもでき、MОSトランジスタを有するその他の非線形回路に対して適用することが可能である。
(【0011】以降は省略されています)
この特許をJ-PlatPat(特許庁公式サイト)で参照する
関連特許
国立大学法人東京科学大学
通信装置
7日前
国立大学法人東京科学大学
半導体装置
26日前
国立大学法人東京科学大学
電波吸収体
1か月前
国立大学法人東京科学大学
電波吸収体
1か月前
国立大学法人東京科学大学
半導体装置
2か月前
国立大学法人東京科学大学
非線形回路
7日前
国立大学法人東京科学大学
バラン回路
7日前
国立大学法人東京科学大学
制御システム
1か月前
国立大学法人東京科学大学
チューニング装置
7日前
国立大学法人東京科学大学
光化学センサ装置
25日前
国立大学法人東京科学大学
情報処理方法及びプログラム
7日前
NTT株式会社
光デバイス
25日前
国立大学法人東京科学大学
複合酸化物パターンの形成方法
19日前
国立大学法人東京科学大学
振動センサ及び振動数検出システム
7日前
国立大学法人東京科学大学
燃料デブリの固化方法および固化体
7日前
国立大学法人東京科学大学
電波反射特性推定装置及びプログラム
2か月前
国立大学法人東京科学大学
強磁性材料、薄膜及び強磁性材料の製造方法
1か月前
トヨタ自動車株式会社
フッ化物イオン電池
3日前
国立大学法人東京科学大学
ガラスアクチュエータ素子及びその製造方法
17日前
株式会社フジタ
二酸化炭素分離回収供給装置
26日前
株式会社フジタ
二酸化炭素分離回収供給装置
26日前
株式会社フジタ
被覆シートおよび二酸化炭素供給方法
26日前
株式会社Synspective
パッシブアンテナパネル
17日前
国立大学法人東京科学大学
シミュレータの開発方法、情報処理システム及びプログラム
1か月前
国立大学法人東京科学大学
アニーリング処理装置、アニーリング処理方法及びプログラム
1か月前
日産自動車株式会社
覚醒状態判別方法及び覚醒状態判別装置
2か月前
三菱マテリアル株式会社
光機能材料、および、光機能材料付き基板
18日前
NTT株式会社
修辞構造解析装置、修辞構造解析方法及びプログラム
1か月前
NTT株式会社
通信品質予測装置、通信品質予測方法、及びプログラム
10日前
国立大学法人東京科学大学
筋疾患治療用医薬組成物
1か月前
マクセル株式会社
バンドパスフィルタ、およびこれを備えた積層回路基板
1か月前
つばめBHB株式会社
触媒成形体及び該触媒を用いるアンモニアの合成方法
7日前
国立大学法人東京科学大学
位相差測定方法、原子波干渉計、角速度測定方法、原子波干渉計型ジャイロスコープ
1か月前
国立大学法人神戸大学
サーマルサーキットシステム
26日前
国立大学法人東京科学大学
面状アクチュエータ、これを用いた搬送装置、移動装置及び褥瘡予防装置、並びに製造方法
1か月前
aiwell株式会社
情報処理システムおよびプログラム
2か月前
続きを見る
他の特許を見る