TOP
|
特許
|
意匠
|
商標
特許ウォッチ
Twitter
他の特許を見る
公開番号
2025140222
公報種別
公開特許公報(A)
公開日
2025-09-29
出願番号
2024039451
出願日
2024-03-13
発明の名称
チューニング装置
出願人
国立大学法人東京科学大学
代理人
弁理士法人エピファニー特許事務所
主分類
H01P
5/08 20060101AFI20250919BHJP(基本的電気素子)
要約
【課題】通信装置で通信可能となる周波数の適用性を高めることができるチューニング装置を提供することを目的としている。
【解決手段】マイクロアクチュエータを用いてICチップの特性をチューニングするチューニング装置であって、前記マイクロアクチュエータとしての誘電体部材及び駆動部を備え、前記誘電体部材は、誘電体で構成され、前記駆動部は、前記誘電体部材と前記ICチップとの間の距離を変更するように構成されている、チューニング装置が提供される。
【選択図】図1
特許請求の範囲
【請求項1】
マイクロアクチュエータを用いてICチップの特性をチューニングするチューニング装置であって、
前記マイクロアクチュエータとしての誘電体部材及び駆動部を備え、
前記誘電体部材は、誘電体で構成され、
前記駆動部は、前記誘電体部材と前記ICチップとの間の距離を変更するように構成されている、チューニング装置。
続きを表示(約 730 文字)
【請求項2】
請求項1に記載のチューニング装置であって、
前記誘電体部材及び前記駆動部は、一体的に構成され、
前記駆動部は、前記誘電体部材を移動させて、前記誘電体部材と前記ICチップとの間の前記距離を変更するように構成されている、チューニング装置。
【請求項3】
請求項2に記載のチューニング装置であって、
前記駆動部は、前記誘電体部材を予め定められた最小幅で移動可能であり、
前記最小幅は、1μm以上、100μm以下である、チューニング装置。
【請求項4】
請求項1又は請求項2に記載のチューニング装置であって、
前記駆動部は、前記ICチップが動作している状態において、前記誘電体部材と前記ICチップとの間の前記距離を0μm以上、30μm以下としている、チューニング装置。
【請求項5】
請求項1又は請求項2に記載のチューニング装置であって、
前記誘電体部材の前記誘電体の比誘電率は、4以上である、チューニング装置。
【請求項6】
請求項1又は請求項2に記載のチューニング装置であって、
前記誘電体部材及び前記ICチップの相対移動方向に直交する方向における前記誘電体部材の断面積は、10000μm
2
以上、255mm
2
以下である、チューニング装置。
【請求項7】
請求項1又は請求項2に記載のチューニング装置であって、
複数の前記誘電体部材を備え、
前記複数の誘電体部材は、前記駆動部により、前記ICチップとの間の前記距離が変更される、チューニング装置。
発明の詳細な説明
【技術分野】
【0001】
本発明は、マイクロアクチュエータを用いたICチップの特性をチューニングするチューニング装置に関する。
続きを表示(約 2,000 文字)
【背景技術】
【0002】
電波を送受信する装置としては、同軸コネクタ・ケーブルがあるが、電波の伝送損失が大きくなるために比較的低い周波数での使用が主流であることから、特許文献1のような通信装置(導波管変換装置)が活用されている。導波管変換装置の基板(基板部材)には、高周波信号の送受信をするためのICチップ(半導体チップ)が実装されており、ICチップと導波管との間で信号(電波)のやりとりがなされることになる。
【先行技術文献】
【特許文献】
【0003】
特開2006-261767号公報
【発明の概要】
【発明が解決しようとする課題】
【0004】
例えば導波管を有する通信装置には、導波管の延長上に位置するバックショート構造を有するものがある。バックショート構造には電波の反射面が設けられ、電波が電気回路のアンテナ部に適切に伝送されるように構成されている。ここで、反射面とアンテナ部との距離に応じて、電波の伝送効率や電波の送受信可能な周波数帯が変動し得る。通信装置で用いる電波の周波数(波長)が状況に応じて変わった場合、その周波数に応じた別のバックショート構造を有する通信装置を準備する必要が生じる、という懸念がある。
【0005】
本発明は、通信装置で通信可能となる周波数の適用性を高めることができるチューニング装置を提供することを目的としている。
【課題を解決するための手段】
【0006】
本発明によれば、マイクロアクチュエータを用いたICチップの特性をチューニングするチューニング装置であって、前記マイクロアクチュエータとしての誘電体部材及び駆動部を備え、前記誘電体部材は、誘電体で構成され、前記駆動部は、前記誘電体部材と前記ICチップとの間の距離を変更するように構成されている、チューニング装置が提供される。
【0007】
本発明によれば、駆動部が、誘電体部材とICチップとの間の距離を変更するように構成されている。このため、本発明は、通信装置で用いる電波の周波数(波長)が状況に応じて変わったとしても、当該距離が変更されることで、電波の伝送効率等が都度適切化され、通信装置で通信可能となる周波数の適用性を高めることができる。
【図面の簡単な説明】
【0008】
図1は、実施形態に係る通信装置4を有する導波管変換装置100の機能ブロック図を示している。
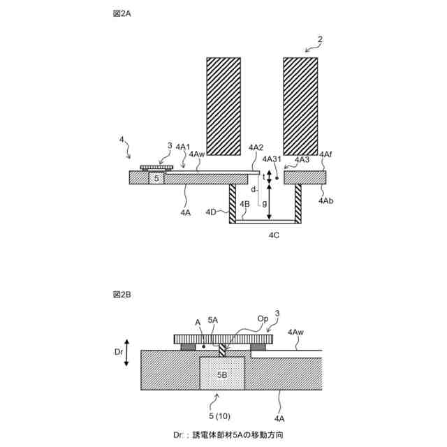
図2Aは、図1に示す導波管変換装置100の導波管2、ICチップ3、通信装置4、アクチュエータ5といった構成を模式的に示した説明図である。図2Bは、ICチップ3及びアクチュエータ5等を拡大した状態を模式的に示した説明図である。なお、図2Bにおいて、方向Drは、誘電体部材5Aの移動方向(ICチップ3に近接するときに移動する方向)である。
図3Aは、ICチップ3と誘電体部材5Aの先端との間の距離pを0,5,10μmと変化させたときにおける透過損失の変化を示したグラフである。図3Bは、ICチップ3と誘電体部材5Aの先端との間の距離pを0,5,10μmと変化させたときにおける信号の振幅変化を示したグラフである。
【発明を実施するための形態】
【0009】
以下、図面を用いて本発明の実施形態について説明する。以下に示す実施形態中で示した各種特徴事項は、互いに組み合わせ可能である。また、各特徴事項について独立して発明が成立する。
【0010】
1.実施形態の構成の説明
図1に示すように、導波管変換装置100は、アンテナ1と、導波管2と、ICチップ3と、通信装置4と、アクチュエータ5(マイクロアクチュエータの一例)と、駆動制御部(図示省略)とを備えている。実施形態に係るアクチュエータ5は、導波管変換装置100における高周波通信用のICチップ3に設けられるものとして説明する。
ここで、実施形態において、導波管変換装置100は、マイクロアクチュエータを用いたICチップ3の特性をチューニングするチューニング装置10を備えている。チューニング装置10は、実施形態では、例えば、アクチュエータ5と、アクチュエータ5を制御する駆動制御部(図示省略)とを有する。また、チューニング装置10はICチップ3の一部又は全体を含む構成であってもよい。
なお、実施形態では、ICチップ3と、通信装置4と、アクチュエータ5と、駆動制御部とを切り分けた構成(概念)として説明しているが、これに限定されるものではない。例えば、通信装置4が、ICチップ3と、アクチュエータ5と、駆動制御部とを含むものであってもよい。
(【0011】以降は省略されています)
この特許をJ-PlatPat(特許庁公式サイト)で参照する
関連特許
国立大学法人東京科学大学
クリーム
4か月前
国立大学法人東京科学大学
通信装置
1か月前
国立大学法人東京科学大学
電波吸収体
2か月前
国立大学法人東京科学大学
半導体装置
2か月前
国立大学法人東京科学大学
半導体装置
3か月前
国立大学法人東京科学大学
バラン回路
1か月前
国立大学法人東京科学大学
非線形回路
1か月前
国立大学法人東京科学大学
電波吸収体
2か月前
国立大学法人東京科学大学
制御システム
2か月前
国立大学法人東京科学大学
光化学センサ装置
2か月前
国立大学法人東京科学大学
チューニング装置
1か月前
国立大学法人東京科学大学
引張試験装置、及び試験片
1か月前
国立大学法人東京科学大学
積層造形樹脂部品嵌合接合体
4か月前
NTT株式会社
光デバイス
2か月前
国立大学法人東京科学大学
情報処理方法及びプログラム
1か月前
国立大学法人東京科学大学
食品に曵糸性を付与する乳酸菌
5か月前
国立大学法人東京科学大学
受光装置および光給電システム
1か月前
国立大学法人東京科学大学
複合酸化物パターンの形成方法
2か月前
国立大学法人東京科学大学
歯科医療用部材とその製造方法
5か月前
国立大学法人東京科学大学
歩行改善装置および歩行改善方法
5か月前
国立大学法人東京科学大学
押込試験装置、及び押込試験方法
1か月前
国立大学法人東京科学大学
燃料デブリの固化方法および固化体
1か月前
国立大学法人東京科学大学
振動センサ及び振動数検出システム
1か月前
国立大学法人東京科学大学
メタン製造方法及びメタン製造装置
4か月前
国立大学法人東京科学大学
電波反射特性推定装置及びプログラム
3か月前
国立大学法人東京科学大学
蛍光繊維体及び蛍光繊維体の製造方法
5か月前
国立大学法人東京科学大学
シミュレーション装置及びプログラム
3か月前
国立大学法人東京科学大学
受信アンテナ装置、及び送信アンテナ装置
4か月前
スタンレー電気株式会社
有機半導体装置
5か月前
国立大学法人東京科学大学
ガラスアクチュエータ素子及びその製造方法
2か月前
国立大学法人東京科学大学
強磁性材料、薄膜及び強磁性材料の製造方法
3か月前
トヨタ自動車株式会社
フッ化物イオン電池
1か月前
国立大学法人東京科学大学
ジアセチル計測方法及びジアセチル計測装置
10日前
国立大学法人東京科学大学
計測装置、計測方法、及び、制御プログラム
10日前
学校法人早稲田大学
太陽光発電モジュール
1か月前
AGC株式会社
調光デバイスおよび調光方法
23日前
続きを見る
他の特許を見る