TOP
|
特許
|
意匠
|
商標
特許ウォッチ
Twitter
他の特許を見る
公開番号
2025140228
公報種別
公開特許公報(A)
公開日
2025-09-29
出願番号
2024039458
出願日
2024-03-13
発明の名称
バラン回路
出願人
国立大学法人東京科学大学
代理人
弁理士法人エピファニー特許事務所
主分類
H01P
5/10 20060101AFI20250919BHJP(基本的電気素子)
要約
【課題】回路面積を抑制しやすいバラン回路を提供することを目的としている。
【解決手段】前記伝送線路は、非環状に構成され、前記第1端子及び前記第2端子のうちの一方は、前記バラン回路の入力部として機能し、前記第1端子及び前記第2端子のうちの他方は、前記バラン回路の出力部として機能し、各前記第2端子は、前記伝送線路に接続され、且つ、前記2×n本の第2端子は、前記伝送線路の延伸方向において、予め定められた間隔をあけて並ぶように配置され、且つ、前記2×n本の第2端子には、前記伝送線路の前記延伸方向の中央寄りに位置する一対の中央端子が含まれ、前記第1端子は、前記一対の中央端子の間に配置されている、バラン回路が提供される。
【選択図】図1
特許請求の範囲
【請求項1】
電力分配及び電力結合のうちの少なくとも一方を行うバラン回路であって、
伝送線路と、第1端子と、2×n(nは2以上の整数)本の第2端子と、を備え、
前記伝送線路は、非環状に構成され、
前記第1端子及び前記第2端子のうちの一方は、前記バラン回路の入力部として機能し、前記第1端子及び前記第2端子のうちの他方は、前記バラン回路の出力部として機能し、
各前記第2端子は、前記伝送線路に接続され、且つ、前記2×n本の第2端子は、前記伝送線路の延伸方向において、予め定められた間隔をあけて並ぶように配置され、且つ、前記2×n本の第2端子には、前記伝送線路の前記延伸方向の中央寄りに位置する一対の中央端子が含まれ、
前記第1端子は、前記一対の中央端子の間に配置されている、バラン回路。
続きを表示(約 740 文字)
【請求項2】
請求項1に記載のバラン回路であって、
前記伝送線路は、前記入力部に伝送される伝送信号の波長λに基づく全長を有し、
前記全長は、0.8×λ×m(mは3以上の奇数)以上、1.2×λ×m以下である、バラン回路。
【請求項3】
請求項1又は請求項2に記載のバラン回路であって、
前記第1端子は、前記一対の中央端子のうちの一方の前記中央端子に対して、前記延伸方向において、前記入力部に伝送される伝送信号の波長λに基づく間隔をあけて配置され、
前記間隔は、0.8×λ/4以上、1.2×λ/4以下である、バラン回路。
【請求項4】
請求項3に記載のバラン回路であって、
2本の前記第1端子を備え、
一方の前記第1端子は、前記一方の前記中央端子に対して前記間隔をあけて配置され、
他方の前記第1端子は、他方の前記中央端子に対して前記間隔をあけて配置されている、バラン回路。
【請求項5】
請求項1又は請求項2に記載のバラン回路であって、
前記2×n(nは2以上の整数)本の前記第2端子の長さが同じである、バラン回路。
【請求項6】
請求項1又は請求項2に記載のバラン回路であって、
前記伝送線路は、一方の端部から他方の端部にかけて直線状に延びている、バラン回路。
【請求項7】
請求項1又は請求項2に記載のバラン回路であって、
前記伝送線路を境界として一方側の領域を第1領域とし、他方側を第2領域としたとき、
前記第1端子は、前記第1領域に配置され、前記第2端子は、前記第2領域に配置されている、バラン回路。
発明の詳細な説明
【技術分野】
【0001】
本発明は、バラン回路に関する。
続きを表示(約 1,300 文字)
【背景技術】
【0002】
ミリ波やマイクロ波を用いる携帯端末やIoT端末や基地局等において、平衡回路と不平衡回路の接続点におけるノイズ発生を防ぐため、バラン回路(平衡-不平衡変換器)が用いられる場合がある(例えば、特許文献1参照)。特許文献1のバラン回路は、環状構造を有しており、ラットレースバラン回路とも呼ばれる。
【先行技術文献】
【特許文献】
【0003】
特開2022-98516号公報
【発明の概要】
【発明が解決しようとする課題】
【0004】
環状構造を有するバラン回路(ラットレースバラン回路)は、環状構造の内側部分が回路におけるデッドスペースとなってしまい、回路面積が増大してしまう懸念がある。
【0005】
本発明は、回路面積を抑制しやすいバラン回路を提供することを目的としている。
【課題を解決するための手段】
【0006】
本発明によれば、電力分配及び電力結合のうちの少なくとも一方を行うバラン回路であって、伝送線路と、第1端子と、2×n(nは2以上の整数)本の第2端子と、を備え、前記伝送線路は、非環状に構成され、前記第1端子及び前記第2端子のうちの一方は、前記バラン回路の入力部として機能し、前記第1端子及び前記第2端子のうちの他方は、前記バラン回路の出力部として機能し、各前記第2端子は、前記伝送線路に接続され、且つ、前記2×n本の第2端子は、前記伝送線路の延伸方向において、予め定められた間隔をあけて並ぶように配置され、且つ、前記2×n本の第2端子には、前記伝送線路の前記延伸方向の中央寄りに位置する一対の中央端子が含まれ、前記第1端子は、前記一対の中央端子の間に配置されている、バラン回路が提供される。
【0007】
本発明によれば、伝送線路が、非環状に構成されており、従来のラットレースバラン回路の環状構造の内側部分のようなデッドスペースが形成されることを回避しやすくなっており、回路面積を抑制しやすくなっている。
【図面の簡単な説明】
【0008】
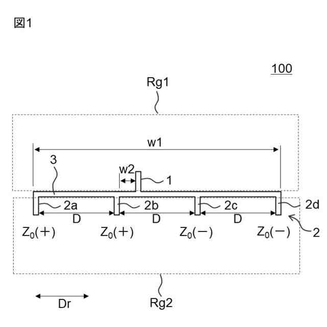
図1は、実施形態に係るバラン回路100の回路構成の一例を示ししている。
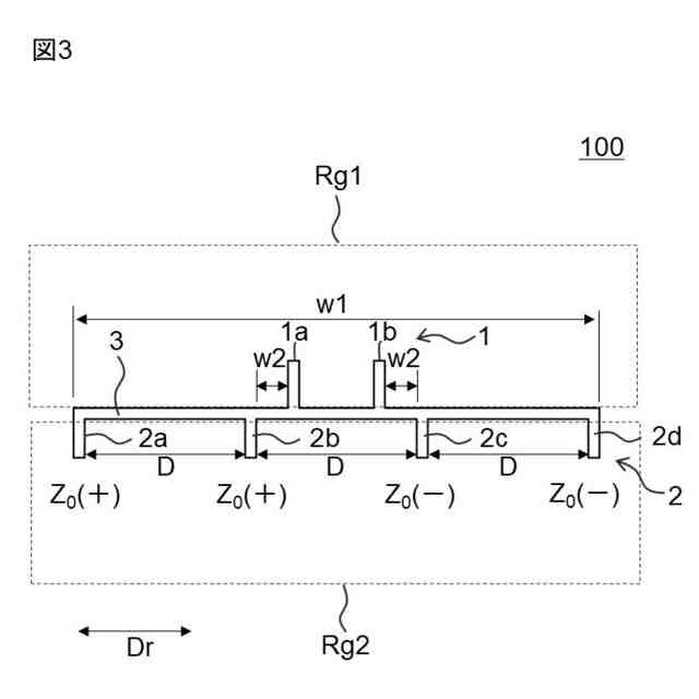
図2は、従来のラットレースバラン回路の透過損失及び実施形態に係るバラン回路100の透過損失の比較評価結果を示すグラフである。
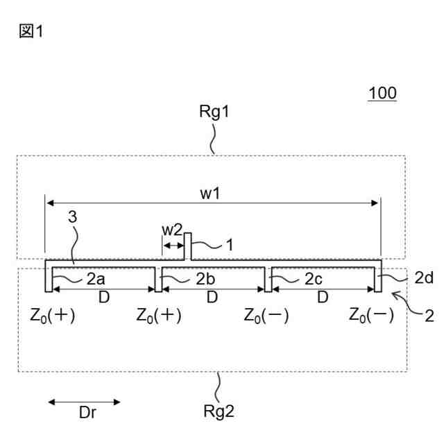
図3は、変形例に係るバラン回路100の回路構成の一例を示している。
【発明を実施するための形態】
【0009】
以下、図面を用いて本発明の実施形態について説明する。以下に示す実施形態中で示した各種特徴事項は、互いに組み合わせ可能である。また、各特徴事項について独立して発明が成立する。
【0010】
1.実施形態の構成の説明
実施形態に係るバラン回路100は、電力分配及び電力結合のうちの少なくとも一方を行うことが可能に構成されている。なお、後述するように、バラン回路100は、電力分配及び電力結合の両方が可能である。バラン回路100は、例えば、変調送信機等の通信装置の回路に適用することができる。
(【0011】以降は省略されています)
この特許をJ-PlatPat(特許庁公式サイト)で参照する
関連特許
国立大学法人東京科学大学
通信装置
1か月前
国立大学法人東京科学大学
バラン回路
1か月前
国立大学法人東京科学大学
非線形回路
1か月前
国立大学法人東京科学大学
電波吸収体
2か月前
国立大学法人東京科学大学
電波吸収体
2か月前
国立大学法人東京科学大学
半導体装置
2か月前
国立大学法人東京科学大学
制御システム
2か月前
国立大学法人東京科学大学
チューニング装置
1か月前
国立大学法人東京科学大学
光化学センサ装置
2か月前
国立大学法人東京科学大学
引張試験装置、及び試験片
1か月前
NTT株式会社
光デバイス
2か月前
国立大学法人東京科学大学
情報処理方法及びプログラム
1か月前
国立大学法人東京科学大学
複合酸化物パターンの形成方法
2か月前
国立大学法人東京科学大学
受光装置および光給電システム
1か月前
国立大学法人東京科学大学
押込試験装置、及び押込試験方法
1か月前
国立大学法人東京科学大学
振動センサ及び振動数検出システム
1か月前
国立大学法人東京科学大学
燃料デブリの固化方法および固化体
1か月前
国立大学法人東京科学大学
強磁性材料、薄膜及び強磁性材料の製造方法
3か月前
国立大学法人東京科学大学
ガラスアクチュエータ素子及びその製造方法
2か月前
国立大学法人東京科学大学
ジアセチル計測方法及びジアセチル計測装置
10日前
トヨタ自動車株式会社
フッ化物イオン電池
1か月前
国立大学法人東京科学大学
計測装置、計測方法、及び、制御プログラム
10日前
学校法人早稲田大学
太陽光発電モジュール
1か月前
AGC株式会社
調光デバイスおよび調光方法
23日前
株式会社フジタ
二酸化炭素分離回収供給装置
2か月前
株式会社フジタ
二酸化炭素分離回収供給装置
2か月前
株式会社フジタ
被覆シートおよび二酸化炭素供給方法
2か月前
日清紡ホールディングス株式会社
燃料電池用電解質膜
1か月前
日清紡ホールディングス株式会社
燃料電池用バインダー
1か月前
国立大学法人東京科学大学
シミュレータの開発方法、情報処理システム及びプログラム
3か月前
株式会社Synspective
パッシブアンテナパネル
2か月前
鉄建建設株式会社
ガス化方法及び半炭化燃料材の製造方法
2日前
住友化学株式会社
磁気トンネル接合素子及び磁気デバイス
29日前
国立大学法人東京科学大学
面発光レーザ
1か月前
国立大学法人東京科学大学
アニーリング処理装置、アニーリング処理方法及びプログラム
3か月前
国立大学法人東京科学大学
修飾ヘテロ核酸
1か月前
続きを見る
他の特許を見る