TOP
|
特許
|
意匠
|
商標
特許ウォッチ
Twitter
他の特許を見る
10個以上の画像は省略されています。
公開番号
2025160414
公報種別
公開特許公報(A)
公開日
2025-10-22
出願番号
2025128232,2021098802
出願日
2025-07-31,2021-06-14
発明の名称
面発光レーザ
出願人
国立大学法人東京科学大学
代理人
個人
,
個人
,
個人
,
個人
主分類
H01S
5/18 20210101AFI20251015BHJP(基本的電気素子)
要約
【課題】変調帯域幅を改善した面発光レーザを提供する。
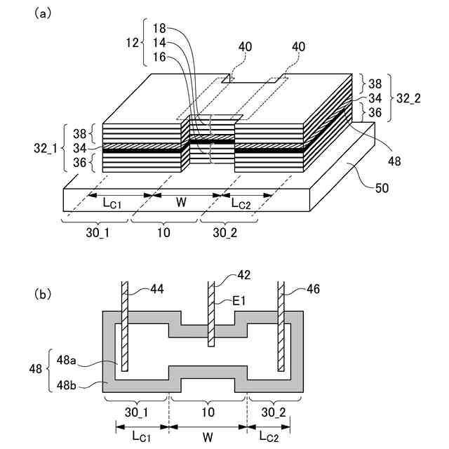
【解決手段】面発光レーザ1は、メイン共振器10と複数の外部共振器30を備える。メイン共振器10は、VCSEL構造12を有し、変調用電極およびレーザビームの出射窓を有する。各外部共振器30は、メイン共振器10と活性層同士が連続するVCSEL構造を有し、メイン共振器10に対して横方向に結合される。
【選択図】図1
特許請求の範囲
【請求項1】
VCSEL構造を有し、レーザビームの出射窓を有するメイン共振器と、
前記メイン共振器と酸化層が連続するVCSEL構造を有し、前記メイン共振器に対して横方向に結合される外部共振器と、を備え、
前記VCSEL構造は連続する電流狭窄層を有し、
前記メイン共振器は非狭窄領域に対応し、前記外部共振器は狭窄領域に設けられる面発光レーザ。
続きを表示(約 360 文字)
【請求項2】
前記メイン共振器と隣接する領域に形成される電極をさらに備え、
前記外部共振器は複数であり、複数の前記外部共振器は、前記電極の境界における反射を利用して構成される、請求項1に記載の面発光レーザ。
【請求項3】
前記外部共振器と前記メイン共振器は、縦方向の共振波長が異なる、請求項1または2に記載の面発光レーザ。
【請求項4】
前記外部共振器のVCSEL構造は位相調整層を含む、請求項3に記載の面発光レーザ。
【請求項5】
前記外部共振器は、前記メイン共振器との結合係数が互いに異なる、請求項1から3のいずれかに記載の面発光レーザ。
【請求項6】
前記メイン共振器と前記外部共振器とは、活性層が連続している、請求項1に記載の面発光レーザ。
発明の詳細な説明
【技術分野】
【0001】
本発明は、面発光型半導体レーザに関し、特にその高速化あるいは高出力化に関する。
続きを表示(約 1,300 文字)
【背景技術】
【0002】
従来、面発光レーザの単一波長出力は、mWレベルに制限されてきた。ワット級高出力動作が可能になれば、光断層像(OCT:Optical Coherence Tomography)用の波長掃引用光源、中長距離光通信用光源、自動車、ドローン、ロボットなどに搭載されるレーザレーダー(LIDAR)用光源、監視システム、製造現場での自動検査装置、プリンタのレーザ乾燥器など様々な応用展開が可能になる。
【0003】
特許文献1には、横方向に結合されたメイン共振器と外部共振器を備える垂直共振器面発光レーザ(VCSEL: Vertical-Cavity Surface-Emitting Laser Diode)が開示される。この技術において、メイン共振器と外部共振器は、同一の断面構造を有しており、したがってそれらの共振器長、すなわち共振波長は等しい。
【0004】
特許文献1のVCSELによれば、外部共振器からメイン共振器へと光をフィードバックすることにより、高速変調が可能となる。
【先行技術文献】
【特許文献】
【0005】
特許第6240429号公報
【発明の概要】
【発明が解決しようとする課題】
【0006】
本発明者らは、特許文献1に記載のVCSELについて検討した結果、以下の課題を認識するに至った。
【0007】
特許文献1のVCSELは、外部共振器が無い場合に比べて帯域を広げることができ、高速変調が可能となるが、メイン共振器と外部共振器の共振波長が実質的に等しく(具体的には波長差Δλが1nm程度)であることから、単一モード発振が不安定であり、また雑音レベルに改善の余地があった。さらに、単一モード発振のためには、酸化狭窄の開口を数μm程度まで微小化する必要があり、電流密度が大きくなることで信頼性に大きな問題があった。
【0008】
本発明はかかる状況においてなされたものであり、そのある態様の例示的な目的のひとつは、変調帯域幅を改善した面発光レーザの提供にあり、また例示的な目的の別のひとつは、比較的な大きな酸化狭窄の開口に対してもマルチモード発振を抑制して単一モードを実現し、および/または、雑音特性が改善された面発光レーザの提供にある。
【課題を解決するための手段】
【0009】
本発明のある態様は面発光レーザに関する。面発光レーザは、VCSEL(垂直共振器面発光レーザ)構造を有し、変調用電極およびレーザビームの出射窓を有するメイン共振器と、メイン共振器と活性層が連続するVCSEL構造を有し、メイン共振器と横方向に結合される複数の外部共振器と、を備える。
【0010】
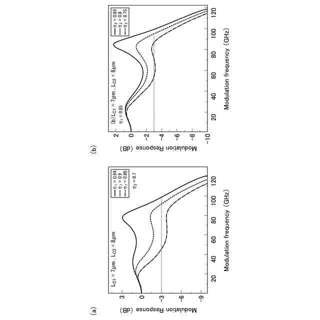
この態様によると、複数の外部共振器を設けることにより、複数の外部共振器からメイン共振器にスローライト光がフィードバックされるため、1個の外部共振器を設けた場合に比べて、変調帯域幅をさらに拡大できる。
(【0011】以降は省略されています)
この特許をJ-PlatPat(特許庁公式サイト)で参照する
関連特許
国立大学法人東京科学大学
通信装置
1か月前
国立大学法人東京科学大学
電波吸収体
2か月前
国立大学法人東京科学大学
半導体装置
2か月前
国立大学法人東京科学大学
半導体装置
3か月前
国立大学法人東京科学大学
バラン回路
1か月前
国立大学法人東京科学大学
非線形回路
1か月前
国立大学法人東京科学大学
電波吸収体
2か月前
国立大学法人東京科学大学
制御システム
2か月前
国立大学法人東京科学大学
光化学センサ装置
2か月前
国立大学法人東京科学大学
チューニング装置
1か月前
国立大学法人東京科学大学
引張試験装置、及び試験片
1か月前
NTT株式会社
光デバイス
2か月前
国立大学法人東京科学大学
情報処理方法及びプログラム
1か月前
国立大学法人東京科学大学
積層造形樹脂部品嵌合接合体
4か月前
国立大学法人東京科学大学
複合酸化物パターンの形成方法
2か月前
国立大学法人東京科学大学
受光装置および光給電システム
1か月前
国立大学法人東京科学大学
押込試験装置、及び押込試験方法
1か月前
国立大学法人東京科学大学
燃料デブリの固化方法および固化体
1か月前
国立大学法人東京科学大学
振動センサ及び振動数検出システム
1か月前
国立大学法人東京科学大学
シミュレーション装置及びプログラム
3か月前
国立大学法人東京科学大学
電波反射特性推定装置及びプログラム
3か月前
国立大学法人東京科学大学
受信アンテナ装置、及び送信アンテナ装置
4か月前
国立大学法人東京科学大学
強磁性材料、薄膜及び強磁性材料の製造方法
3か月前
国立大学法人東京科学大学
ジアセチル計測方法及びジアセチル計測装置
11日前
国立大学法人東京科学大学
計測装置、計測方法、及び、制御プログラム
11日前
国立大学法人東京科学大学
ガラスアクチュエータ素子及びその製造方法
2か月前
トヨタ自動車株式会社
フッ化物イオン電池
1か月前
学校法人早稲田大学
太陽光発電モジュール
1か月前
AGC株式会社
調光デバイスおよび調光方法
24日前
株式会社フジタ
二酸化炭素分離回収供給装置
2か月前
株式会社フジタ
二酸化炭素分離回収供給装置
2か月前
株式会社フジタ
被覆シートおよび二酸化炭素供給方法
2か月前
日清紡ホールディングス株式会社
燃料電池用電解質膜
1か月前
日清紡ホールディングス株式会社
燃料電池用バインダー
1か月前
国立大学法人東京科学大学
シミュレータの開発方法、情報処理システム及びプログラム
3か月前
鉄建建設株式会社
ガス化方法及び半炭化燃料材の製造方法
3日前
続きを見る
他の特許を見る