TOP
|
特許
|
意匠
|
商標
特許ウォッチ
Twitter
他の特許を見る
10個以上の画像は省略されています。
公開番号
2025127970
公報種別
公開特許公報(A)
公開日
2025-09-02
出願番号
2024025006
出願日
2024-02-21
発明の名称
電波吸収体
出願人
国立大学法人東京科学大学
代理人
弁理士法人エピファニー特許事務所
主分類
H05K
9/00 20060101AFI20250826BHJP(他に分類されない電気技術)
要約
【課題】利便性に優れた電波吸収体を提供することを目的としている。
【解決手段】積層体を有する電波吸収体であって、前記積層体は、第1反射層と、第1接着層と、第1誘電体層と、抵抗層と、第2誘電体層と、第2接着層と、第2反射層を有し、これらの層が前記積層体の積層方向においてこの順番で配置され、前記第1反射層は、前記第1誘電体層から引き剥がし可能なように前記第1接着層を介して前記第1誘電体層に接着しており、前記第2反射層は、前記第2誘電体層から引き剥がし可能なように前記第2接着層を介して前記第2誘電体層に接着している、電波吸収体が提供される。
【選択図】図1
特許請求の範囲
【請求項1】
積層体を有する電波吸収体であって、
前記積層体は、第1反射層と、第1接着層と、第1誘電体層と、抵抗層と、第2誘電体層と、第2接着層と、第2反射層を有し、これらの層が前記積層体の積層方向においてこの順番で配置され、
前記第1反射層は、前記第1誘電体層から引き剥がし可能なように前記第1接着層を介して前記第1誘電体層に接着しており、
前記第2反射層は、前記第2誘電体層から引き剥がし可能なように前記第2接着層を介して前記第2誘電体層に接着している、電波吸収体。
続きを表示(約 980 文字)
【請求項2】
請求項1に記載の電波吸収体であって、
前記第1反射層が前記第1誘電体層から引き剥がされて前記第1誘電体層が電波入射側となる場合の前記電波吸収体の電波吸収特性を第1特性とし、
前記第2反射層が前記第2誘電体層から引き剥がされて前記第2誘電体層が前記電波入射側となる場合の前記電波吸収体の前記電波吸収特性を第2特性としたときにおいて、
前記第1特性及び前記第2特性は、電波の周波数と、吸収率との関係を表す特性であり、
前記第1特性と前記第2特性とは、異なっている、電波吸収体。
【請求項3】
請求項2に記載の電波吸収体であって、
前記第1特性及び前記第2特性は、電波の吸収率が50(GHz)~300(GHz)の周波数範囲において吸収ピークを有する特性となっている、電波吸収体。
【請求項4】
請求項3に記載の電波吸収体であって、
前記吸収ピークは、前記吸収率が90%以上のピークである、電波吸収体。
【請求項5】
請求項3に記載の電波吸収体であって、
前記第1特性の前記吸収ピークの周波数と、前記第2特性の前記吸収ピークの周波数とが異なっている、電波吸収体。
【請求項6】
請求項1~請求項5の何れか1つに記載の電波吸収体であって、
前記積層体は、第3誘電体層を更に有し、前記抵抗層は、第1抵抗層と第2抵抗層とを有し、
前記積層体は、前記第1反射層と、前記第1接着層と、前記第1誘電体層と、前記第1抵抗層と、前記第3誘電体層と、前記第2抵抗層と、前記第2誘電体層と、前記第2接着層と、前記第2反射層とが前記積層方向においてこの順番で配置されている、電波吸収体。
【請求項7】
請求項6に記載の電波吸収体であって、
前記第1抵抗層は、周期性構造を有し、
前記周期性構造は、予め定められた範囲の周波数の電波が通過するように、前記第1抵抗層の面内において周期性を有するように形成されている、電波吸収体。
【請求項8】
請求項1~請求項5の何れか1つに記載の電波吸収体であって、
前記積層体は、全体として可撓性を有するシート状に形成されている、電波吸収体。
発明の詳細な説明
【技術分野】
【0001】
本発明は、電波吸収体に関する。
続きを表示(約 2,700 文字)
【背景技術】
【0002】
例えば、電気回路等から外部へと放出される漏洩電波や、不所望に反射した電波の影響を回避するために、電波を吸収する電波吸収体が用いられている。近年は、携帯電話等の移動体通信や無線LAN、料金自動収受システム(ETC)などで、数ギガヘルツ(GHz)の周波数帯域を持つセンチメートル波、さらには、30ギガヘルツから100ギガヘルツの周波数を有するミリ波帯、ミリ波帯域を超えた高い周波数帯域の電波として100GHz以上の帯域の周波数を有する電波を利用する技術の研究も進んでいる。
【0003】
ここで、特許文献1には、不要な電波の反射を抑えて吸収する電波吸収体が提案されている。特許文献1の電波吸収体において、誘電体層の電波入射側の表面には抵抗層が設けられ、反対側の裏面には電波を反射する反射層が設けられている。この電波吸収体は、抵抗層で反射する電波と、反射層で反射する電波とを干渉させて打ち消し合わせることで、電波を吸収する電波干渉型の電波吸収体である。
【先行技術文献】
【特許文献】
【0004】
特開2023-133310号公報
【発明の概要】
【発明が解決しようとする課題】
【0005】
電波吸収体は、ある特定の周波数の全ての範囲において高い吸収特性を有するとは限らず、周波数帯に応じて使い分けが必要になる場合があり、その場合、別々の電波吸収体を準備する必要があるため、利便性が損なわれる懸念がある。
【0006】
本発明は、利便性に優れた電波吸収体を提供することを目的としている。
【課題を解決するための手段】
【0007】
本発明によれば、積層体を有する電波吸収体であって、前記積層体は、第1反射層と、第1接着層と、第1誘電体層と、抵抗層と、第2誘電体層と、第2接着層と、第2反射層を有し、これらの層が前記積層体の積層方向においてこの順番で配置され、前記第1反射層は、前記第1誘電体層から引き剥がし可能なように前記第1接着層を介して前記第1誘電体層に接着しており、前記第2反射層は、前記第2誘電体層から引き剥がし可能なように前記第2接着層を介して前記第2誘電体層に接着している、電波吸収体が提供される。
【0008】
本発明によれば、第1反射層及び第2反射層のいずれも引き剥がし可能になっており、誘電体層や抵抗層の層構成を工夫して両面で異なる吸収特性をもたせたときに、第1反射層を引き剥がして使う場合と第2反射層を引き剥がして使う場合とを状況に応じて使い分けることができ、利便性に優れている。
【図面の簡単な説明】
【0009】
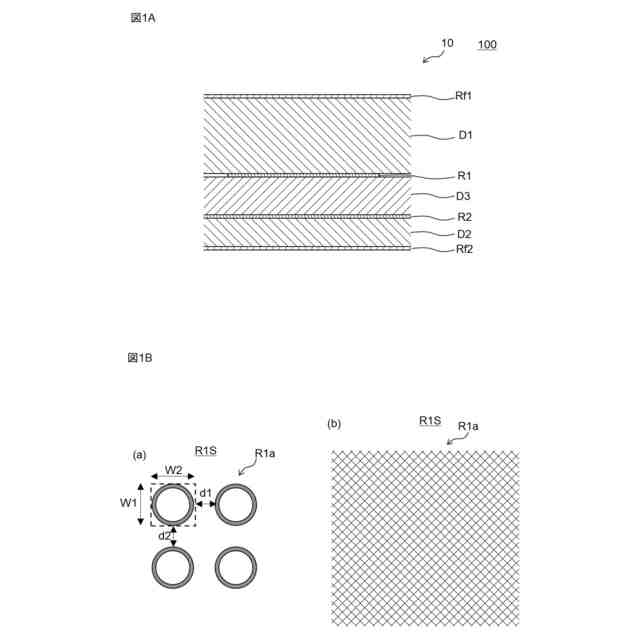
図1Aは、実施形態にかかる電波吸収体100の積層体10を模式的に示す断面図である。図1Bは、(a)が第1抵抗層の面状構造の一例を示し、(b)が(a)とは異なる第1抵抗層の面状構造の一例である。
図2Aは、図1Aに示す電波吸収体100の第1反射層Rf1を引き剥がして使う場合を模式的に示し、図2Bは、図1Aに示す電波吸収体100の第2反射層Rf2を引き剥がして使う場合を模式的に示している。
図3A及び図3Bは、第1反射層側から電波が入射したときの吸収特性を示している。図3Aは、第1抵抗層の抵抗値を20Ω/sqから60Ω/sqまで変化させたときの電波の吸収特性を示すグラフである。図3Bは、第1抵抗層の抵抗値を70Ω/sqから110Ω/sqまで変化させたときの電波の吸収特性を示すグラフである。
図4A及び図4Bは、第1反射層側から電波が入射したときの吸収特性を示している。図4Aは、第1抵抗層の抵抗値を120Ω/sqから160Ω/sqまで変化させたときの電波の吸収特性を示すグラフである。図4Bは、第1抵抗層の抵抗値を170Ω/sqから200Ω/sqまで変化させたときの電波の吸収特性を示すグラフである。
図5A及び図5Bは、第1反射層側から電波が入射したときの吸収特性を示している。図5Aは、第2抵抗層の抵抗値を20Ω/sqから60Ω/sqまで変化させたときの電波の吸収特性を示すグラフである。図5Bは、第2抵抗層の抵抗値を70Ω/sqから110Ω/sqまで変化させたときの電波の吸収特性を示すグラフである。
図6A及び図6Bは、第1反射層側から電波が入射したときの吸収特性を示している。図6Aは、第2抵抗層の抵抗値を120Ω/sqから160Ω/sqまで変化させたときの電波の吸収特性を示すグラフである。図6Bは、第2抵抗層の抵抗値を170Ω/sqから200Ω/sqまで変化させたときの電波の吸収特性を示すグラフである。
図7A及び図7Bは、第2反射層側から電波が入射したときの吸収特性を示している。図7Aは、第1抵抗層の抵抗値を20Ω/sqから60Ω/sqまで変化させたときの電波の吸収特性を示すグラフである。図7Bは、第1抵抗層の抵抗値を70Ω/sqから110Ω/sqまで変化させたときの電波の吸収特性を示すグラフである。
図8A及び図8Bは、第2反射層側から電波が入射したときの吸収特性を示している。図8Aは、第1抵抗層の抵抗値を120Ω/sqから160Ω/sqまで変化させたときの電波の吸収特性を示すグラフである。図8Bは、第1抵抗層の抵抗値を170Ω/sqから200Ω/sqまで変化させたときの電波の吸収特性を示すグラフである。
図9A及び図9Bは、第2反射層側から電波が入射したときの吸収特性を示している。図9Aは、第2抵抗層の抵抗値を20Ω/sqから60Ω/sqまで変化させたときの電波の吸収特性を示すグラフである。図9Bは、第2抵抗層の抵抗値を70Ω/sqから110Ω/sqまで変化させたときの電波の吸収特性を示すグラフである。
図10A及び図10Bは、第2反射層側から電波が入射したときの吸収特性を示している。図10Aは、第2抵抗層の抵抗値を120Ω/sqから160Ω/sqまで変化させたときの電波の吸収特性を示すグラフである。図10Bは、第2抵抗層の抵抗値を170Ω/sqから200Ω/sqまで変化させたときの電波の吸収特性を示すグラフである。
【発明を実施するための形態】
【0010】
以下、図面を用いて本発明の実施形態について説明する。以下に示す実施形態中で示した各種特徴事項は、互いに組み合わせ可能である。また、各特徴事項について独立して発明が成立する。
(【0011】以降は省略されています)
この特許をJ-PlatPat(特許庁公式サイト)で参照する
関連特許
国立大学法人東京科学大学
引張試験装置、及び試験片
1か月前
国立大学法人東京科学大学
受光装置および光給電システム
1か月前
国立大学法人東京科学大学
押込試験装置、及び押込試験方法
1か月前
学校法人早稲田大学
太陽光発電モジュール
1か月前
国立大学法人東京科学大学
ジアセチル計測方法及びジアセチル計測装置
10日前
国立大学法人東京科学大学
計測装置、計測方法、及び、制御プログラム
10日前
AGC株式会社
調光デバイスおよび調光方法
23日前
日清紡ホールディングス株式会社
燃料電池用電解質膜
1か月前
日清紡ホールディングス株式会社
燃料電池用バインダー
1か月前
住友化学株式会社
磁気トンネル接合素子及び磁気デバイス
29日前
鉄建建設株式会社
ガス化方法及び半炭化燃料材の製造方法
2日前
国立大学法人東京科学大学
面発光レーザ
1か月前
国立大学法人東京科学大学
修飾ヘテロ核酸
1か月前
国立大学法人東京科学大学
積層体、積層体の製造方法、及び超伝導転移温度を上昇させる方法
1か月前
NTT株式会社
植物の開花時期制御方法および開花時期が制御された植物の作出方法
8日前
三井化学株式会社
レーザ描画用光硬化性樹脂組成物、立体造形物、および立体造形物の製造方法
1か月前
三井化学株式会社
レーザ描画用光硬化性樹脂組成物、立体造形物、および立体造形物の製造方法
1か月前
一般財団法人ファインセラミックスセンター
微粒子及びその製造方法
26日前
国立研究開発法人量子科学技術研究開発機構
ディスペンサシステム、検査キット、および当該ディスペンサシステムを用いた試薬添加方法
23日前
NTT株式会社
植物の光合成応答を調節する方法、光合成応答が迅速化した植物の作出方法、および光合成応答が迅速化した植物の栽培のためのシステム
8日前
ローレルバンクマシン株式会社
ワイヤレス給電システム及び方法並びにワイヤレス送電システム
10日前
個人
電子部品の実装方法
1か月前
個人
電気式バーナー
1か月前
個人
非衝突型ガウス加速器
3か月前
愛知電機株式会社
装柱金具
1か月前
日本精機株式会社
回路基板
2か月前
日星電気株式会社
面状ヒータ
8日前
アイホン株式会社
電気機器
2か月前
キヤノン株式会社
電子機器
2か月前
日本放送協会
基板固定装置
2か月前
イビデン株式会社
配線基板
1か月前
アイホン株式会社
電気機器
3か月前
個人
節電材料
3か月前
メクテック株式会社
配線基板
2か月前
東レ株式会社
霧化状活性液体供給装置
2か月前
マクセル株式会社
配列用マスク
4か月前
続きを見る
他の特許を見る