TOP
|
特許
|
意匠
|
商標
特許ウォッチ
Twitter
他の特許を見る
公開番号
2025140219
公報種別
公開特許公報(A)
公開日
2025-09-29
出願番号
2024039448
出願日
2024-03-13
発明の名称
通信装置
出願人
国立大学法人東京科学大学
代理人
弁理士法人エピファニー特許事務所
主分類
H01P
5/107 20060101AFI20250919BHJP(基本的電気素子)
要約
【課題】通信で用いられる電波の周波数の適用性が高められた通信装置を提供することを目的としている。
【解決手段】基板部材と、金属部材と、駆動部とを備え、前記基板部材は、導波管変換回路部と、アンテナ部と、配置空間部とを有し、前記導波管変換回路部は、前記アンテナ部に電気的に接続され、前記アンテナ部は、電波を送信又は受信する機能を有し、前記配置空間部には、前記基板部材のおもて面からうら面にかけて延びる空間部が形成され、且つ、前記配置空間部は、前記基板部材の前記おもて面側において導波管が配置される部分であり、前記配置空間部の前記空間部には、前記アンテナ部が配置されており、前記金属部材は、前記基板部材の前記うら面側に配置され、前記駆動部は、前記金属部材と前記基板部材との間の距離を変更するように構成されている、通信装置が提供される。
【選択図】図1
特許請求の範囲
【請求項1】
基板部材と、金属部材と、駆動部とを備え、
前記基板部材は、導波管変換回路部と、アンテナ部と、配置空間部とを有し、
前記導波管変換回路部は、前記アンテナ部に電気的に接続され、
前記アンテナ部は、電波を送信又は受信する機能を有し、
前記配置空間部には、前記基板部材のおもて面からうら面にかけて延びる空間部が形成され、且つ、前記配置空間部は、前記基板部材の前記おもて面側において導波管が配置される部分であり、
前記配置空間部の前記空間部には、前記アンテナ部が配置されており、
前記金属部材は、前記基板部材の前記うら面側に配置され、
前記駆動部は、前記金属部材と前記基板部材との間の距離を変更するように構成されている、通信装置。
続きを表示(約 400 文字)
【請求項2】
請求項1に記載の通信装置であって、
前記金属部材は、前記基板部材のグランド電位に接続されている、通信装置。
【請求項3】
請求項1又は請求項2に記載の通信装置であって、
前記駆動部は、前記金属部材を予め定められた最小幅で移動可能であり、
前記最小幅は、電波の波長をλとしたときにλ/4以下である、通信装置。
【請求項4】
請求項1又は請求項2に記載の通信装置であって、
駆動制御部を更に備え、
前記導波管を伝搬する電波の波長をλとし、
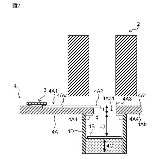
前記配置空間部における前記基板部材の厚みtと、前記基板部材の前記うら面と前記金属部材との間の距離gとを合わせた長さをdとしたとき、
前記駆動制御部は、長さdが、0.9×λ/4から1.1×λ/4までの範囲になるように前記駆動部を制御する、通信装置。
発明の詳細な説明
【技術分野】
【0001】
本発明は、通信装置に関する。
続きを表示(約 1,600 文字)
【背景技術】
【0002】
電波を送受信する装置としては、同軸コネクタ・ケーブルがあるが、電波の伝送損失が大きくなるため、比較的低い周波数での使用が主流である。このため、特許文献1のように、導波管を有する通信装置が各種提案されている。
【先行技術文献】
【特許文献】
【0003】
特開2006-261767号公報
【発明の概要】
【発明が解決しようとする課題】
【0004】
導波管を有する通信装置には、導波管の延長上に位置するバックショート構造を有するものがある。バックショート構造には電波の反射面が設けられ、電波が電気回路のアンテナ部に適切に伝送されるようになっている。ここで、反射面とアンテナ部との距離に応じて、電波の伝送効率や電波の送受信可能な周波数帯が変動し得るが、通信装置で用いる電波の周波数(波長)が状況に応じて変わる場合、その周波数に応じた専用の通信装置を複数準備する必要が生じる、という懸念がある。
【0005】
本発明は、通信で用いられる電波の周波数の適用性が高められた通信装置を提供することを目的としている。
【課題を解決するための手段】
【0006】
本発明によれば、基板部材と、金属部材と、駆動部とを備え、前記基板部材は、導波管変換回路部と、アンテナ部と、配置空間部とを有し、前記導波管変換回路部は、前記アンテナ部に電気的に接続され、前記アンテナ部は、電波を送信又は受信する機能を有し、前記配置空間部には、前記基板部材のおもて面からうら面にかけて延びる空間部が形成され、且つ、前記配置空間部は、前記基板部材の前記おもて面側において導波管が配置される部分であり、前記配置空間部の前記空間部には、前記アンテナ部が配置されており、前記金属部材は、前記基板部材の前記うら面側に配置され、前記駆動部は、前記金属部材と前記基板部材との間の距離を変更するように構成されている、通信装置が提供される。
【0007】
本発明によれば、駆動部が、金属部材と基板部材との間の距離を変更するように構成されている。このため、本発明は、通信装置で用いる電波の周波数(波長)が状況に応じて変わったとしても、当該距離が変更されることで、電波の伝送効率等が都度適切化され、通信可能な周波数の適用性が高められている。
【図面の簡単な説明】
【0008】
図1は、実施形態に係る通信装置4を有する導波管変換装置100の機能ブロック図を示している。
図2は、図1に示す導波管変換装置100の導波管2、チップ3及び通信装置4といった構成を模式的に示した説明図である。
図3は、距離gを135μmから15μmまで変動させていったときの電波の減衰特性の変化を示したグラフである。
【発明を実施するための形態】
【0009】
以下、図面を用いて本発明の実施形態について説明する。以下に示す実施形態中で示した各種特徴事項は、互いに組み合わせ可能である。また、各特徴事項について独立して発明が成立する。
【0010】
1.実施形態の構成の説明
図1に示すように、導波管変換装置100は、アンテナ1と、導波管2と、チップ3と、通信装置4とを備えている。導波管変換装置100は、高周波モジュールであり、通信装置4が、後述する駆動部4C等の構成を有することで、各種の電波の送受信が可能に構成されている。本実施形態に係る導波管変換装置100は、ギガヘルツ波、テラヘルツ波などの高周波を用いたレーダー、センサー、無線通信システムに好適な高周波モジュールである。また、導波管変換装置100は、送信機及び受信機のいずれか一方として機能するものであってもよいし、送信機及び受信機の両方の機能を有していてもよい。
(【0011】以降は省略されています)
この特許をJ-PlatPat(特許庁公式サイト)で参照する
関連特許
国立大学法人東京科学大学
通信装置
29日前
国立大学法人東京科学大学
バラン回路
29日前
国立大学法人東京科学大学
非線形回路
29日前
国立大学法人東京科学大学
電波吸収体
1か月前
国立大学法人東京科学大学
半導体装置
1か月前
国立大学法人東京科学大学
電波吸収体
1か月前
国立大学法人東京科学大学
制御システム
1か月前
国立大学法人東京科学大学
光化学センサ装置
1か月前
国立大学法人東京科学大学
チューニング装置
29日前
国立大学法人東京科学大学
引張試験装置、及び試験片
18日前
NTT株式会社
光デバイス
1か月前
国立大学法人東京科学大学
情報処理方法及びプログラム
29日前
国立大学法人東京科学大学
複合酸化物パターンの形成方法
1か月前
国立大学法人東京科学大学
受光装置および光給電システム
19日前
国立大学法人東京科学大学
押込試験装置、及び押込試験方法
18日前
国立大学法人東京科学大学
燃料デブリの固化方法および固化体
29日前
国立大学法人東京科学大学
振動センサ及び振動数検出システム
29日前
トヨタ自動車株式会社
フッ化物イオン電池
25日前
学校法人早稲田大学
太陽光発電モジュール
20日前
国立大学法人東京科学大学
ガラスアクチュエータ素子及びその製造方法
1か月前
国立大学法人東京科学大学
強磁性材料、薄膜及び強磁性材料の製造方法
2か月前
株式会社フジタ
二酸化炭素分離回収供給装置
1か月前
株式会社フジタ
二酸化炭素分離回収供給装置
1か月前
日清紡ホールディングス株式会社
燃料電池用電解質膜
5日前
株式会社フジタ
被覆シートおよび二酸化炭素供給方法
1か月前
日清紡ホールディングス株式会社
燃料電池用バインダー
5日前
国立大学法人東京科学大学
シミュレータの開発方法、情報処理システム及びプログラム
2か月前
住友化学株式会社
磁気トンネル接合素子及び磁気デバイス
4日前
株式会社Synspective
パッシブアンテナパネル
1か月前
国立大学法人東京科学大学
面発光レーザ
6日前
国立大学法人東京科学大学
修飾ヘテロ核酸
14日前
国立大学法人東京科学大学
積層体、積層体の製造方法、及び超伝導転移温度を上昇させる方法
18日前
三菱マテリアル株式会社
光機能材料、および、光機能材料付き基板
1か月前
NTT株式会社
修辞構造解析装置、修辞構造解析方法及びプログラム
2か月前
NTT株式会社
通信品質予測装置、通信品質予測方法、及びプログラム
1か月前
国立大学法人東京科学大学
筋疾患治療用医薬組成物
2か月前
続きを見る
他の特許を見る