TOP
|
特許
|
意匠
|
商標
特許ウォッチ
Twitter
他の特許を見る
10個以上の画像は省略されています。
公開番号
2025109597
公報種別
公開特許公報(A)
公開日
2025-07-25
出願番号
2024003582
出願日
2024-01-12
発明の名称
受信アンテナ装置、及び送信アンテナ装置
出願人
国立大学法人東京科学大学
代理人
個人
,
個人
,
個人
,
個人
,
個人
,
個人
主分類
H04B
7/08 20060101AFI20250717BHJP(電気通信技術)
要約
【課題】通信信号の通信状態の影響を低減することができる受信アンテナ装置、及び送信アンテナ装置を提供する。
【解決手段】指向性が異なるn個の通信信号を受信する複数のアンテナユニット3が設けられたアンテナ部2と、前記アンテナ部に接続された時分割部11と、前記時分割部に接続され、受信した前記通信信号からn個の受信信号を復調する、n個の各前記受信信号に対応して設けられたn個の信号受信部12と、を備え、前記時分割部は、受信時において、n個の各前記受信信号のシンボルの周期に比して短いサンプリング周期において時分割し、前記受信信号の通信状態に応じて、前記アンテナ部とn個の前記信号受信部との接続の切替えを任意の接続タイミングにおいて行って前記指向性毎にn個の前記受信信号をサンプリングする受信アンテナ装置1である。
【選択図】図1
特許請求の範囲
【請求項1】
指向性が異なるn個の通信信号を受信する複数のアンテナユニットが設けられたアンテナ部と、
前記アンテナ部に接続された時分割部と、
前記時分割部に接続され、受信した前記通信信号からn個の受信信号を復調する、n個の各前記受信信号に対応して設けられたn個の信号受信部と、を備え、
前記時分割部は、受信時において、n個の各前記受信信号のシンボルの周期に比して短いサンプリング周期において時分割し、前記受信信号の通信状態に応じて、前記アンテナ部とn個の前記信号受信部との接続の切替えを任意の接続タイミングにおいて行って前記指向性毎にn個の前記受信信号をサンプリングし、
前記アンテナ部は、前記サンプリング周期において前記指向性に対応する前記通信信号が分割された分割受信信号を前記接続タイミングにおいて受信し、
各前記信号受信部は、前記時分割部と接続する前記接続タイミングにおいて自体の前記指向性に対応する前記分割受信信号を取得し、自体の前記指向性に対応する前記受信信号を個別に復調する、
受信アンテナ装置。
続きを表示(約 1,200 文字)
【請求項2】
前記時分割部は、前記サンプリング周期においてランダムに順位付けされた前記接続タイミングに基づいて前記分割受信信号をサンプリングする、
請求項1に記載の受信アンテナ装置。
【請求項3】
前記時分割部は、
前記受信信号の前記通信状態に応じて前記接続タイミングの順位を調整する、
請求項1に記載の受信アンテナ装置。
【請求項4】
前記時分割部は、
前記受信信号に対する妨害波の受信状態に応じて、前記接続タイミングにおける前記サンプリング周期の長さを調整する、
請求項1に記載の受信アンテナ装置。
【請求項5】
前記時分割部は、
前記受信信号に対する妨害波の受信状態に応じて、前記受信信号をサンプリングする際の前記サンプリング周期を調整し、前記分割受信信号の受信レベルを調整する、
請求項3に記載の受信アンテナ装置。
【請求項6】
前記時分割部は、
前記受信信号に対する妨害波の受信状態に応じて、前記シンボルの周期において前記分割受信信号をサンプリングする第1サンプリング周波数に比して高い第2サンプリング周波数に変更し、
前記第2サンプリング周波数に基づいて、前記分割受信信号をサンプリングする、
請求項1に記載の受信アンテナ装置。
【請求項7】
各前記アンテナユニットには、前記時分割部の前記接続タイミングに同期して、前記分割受信信号を受信するタイミングの位相調整を個別に行う位相調整部が設けられ、
各前記位相調整部は、前記時分割部の前記接続タイミングに同期して前記分割受信信号を受信する受信タイミングの位相調整を行い、前記アンテナ部の前記指向性を切り替えるスイッチ回路部を備える、
請求項2に記載の受信アンテナ装置。
【請求項8】
各前記位相調整部は、前記時分割部の前記接続タイミングに応じて書き換え可能なテーブルに基づいて、順位が変更されたランダムな前記接続タイミングに基づいて前記受信タイミングの位相調整を行う、
請求項7に記載の受信アンテナ装置。
【請求項9】
前記位相調整部は、
前記分割受信信号から分割された直交する位相を有する2つの直交信号を入力し、各前記直交信号に対して前記指向性に応じて重み付けし、重み付けされた2つの前記分割受信信号を加算することにより前記分割受信信号に位相差を与えて出力する複数のスイッチ回路を備える、
請求項7に記載の受信アンテナ装置。
【請求項10】
前記時分割部は、
ランダムに順位付けされた前記接続タイミングに基づいてサンプリングする前記分割受信信号の振幅の変動分を調整する振幅補償を行う、
請求項7に記載の受信アンテナ装置。
(【請求項11】以降は省略されています)
発明の詳細な説明
【技術分野】
【0001】
本発明は、受信アンテナ装置、及び送信アンテナ装置に関する。
続きを表示(約 2,100 文字)
【背景技術】
【0002】
近年、高速大容量通信を実現する第5世代(5G)通信の研究が進められている。これまで、高速大容量通信を可能とするMIMO(Multiple Input Multiple Output)通信を更に進化させたMassive MIMO通信が実現されている。Massive MIMO通信によれば、無線基地局は、多数のアンテナを用いてビームフォーミングすることにより、多数の移動局と同時に無線通信することが可能となる。
【0003】
ミリ波帯の信号を遠方に送信するためには、多数のアンテナを用いたフェーズドアレイアンテナにより指向性を有するビームフォーミングをする必要がある。Massive MIMO通信をミリ波帯におけるフェーズドアレイアンテナにより実現しようとすると、1つのアンテナに対してMIMOストリーム数分の回路を構成する必要がある(非特許文献1、図15参照)。そうすると、Massive MIMO通信においてアンテナの数が多数となるフェーズドアレイアンテナでは、各アンテナに対して通信対象のストリーム数に応じた回路を構成する必要があり、アンテナ数の増加に伴って回路構成が膨大となると共に、消費電力やコストが著しく増大する虞がある。発明者らは、回路構成を簡略化しつつ、多数の移動局と信号を送受信することができる無線通信装置を提案している(例えば、特許文献1参照)。
【先行技術文献】
【特許文献】
【0004】
国際公開第2022/260097号
【発明の概要】
【発明が解決しようとする課題】
【0005】
無線通信において送受信される通信信号は、送受信レベルや妨害波等の通信状態の影響を受け、品質が劣化する場合がある。特許文献1では、通信信号の通信状態の影響を低減することに関する技術についてはまだ提案されていなかった。発明者らは、無線通信技術に関して鋭意研究を続けた結果、通信状態の影響を低減する手法を見出した。
【0006】
本発明は、通信信号の通信状態の影響を低減することができる受信アンテナ装置、及び送信アンテナ装置を提供することを目的とする。
【課題を解決するための手段】
【0007】
本発明は、指向性が異なるn個の通信信号を受信する複数のアンテナユニットが設けられたアンテナ部と、前記アンテナ部に接続された時分割部と、前記時分割部に接続され、受信した前記通信信号からn個の受信信号を復調する、n個の各前記受信信号に対応して設けられたn個の信号受信部と、を備え、前記時分割部は、受信時において、n個の各前記受信信号のシンボルの周期に比して短いサンプリング周期において時分割し、前記受信信号の通信状態に応じて、前記アンテナ部とn個の前記信号受信部との接続の切替えを任意の接続タイミングにおいて行って前記指向性毎にn個の前記受信信号をサンプリングし、前記アンテナ部は、前記サンプリング周期において前記指向性に対応する前記通信信号が分割された分割受信信号を前記接続タイミングにおいて受信し、各前記信号受信部は、前記時分割部と接続する前記接続タイミングにおいて自体の前記指向性に対応する前記分割受信信号を取得し、自体の前記指向性に対応する前記受信信号を個別に復調する、受信アンテナ装置である。
【発明の効果】
【0008】
本発明によれば、通信信号の通信状態の影響を低減することができる。
【図面の簡単な説明】
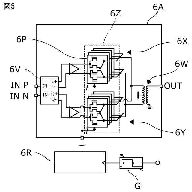
【0009】
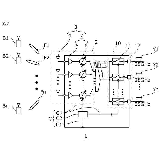
無線通信システムの構成を示す図である。
受信アンテナ装置の概略的な構成を示す図である。
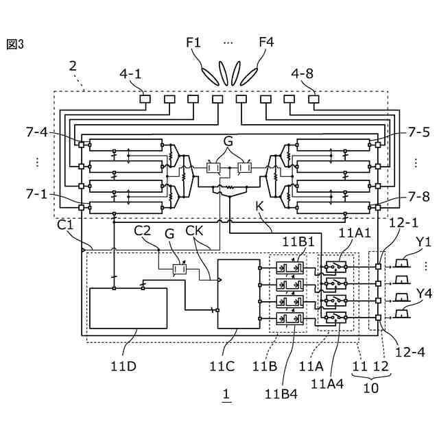
受信アンテナ装置の具体的な回路構成を示すブロック図である。
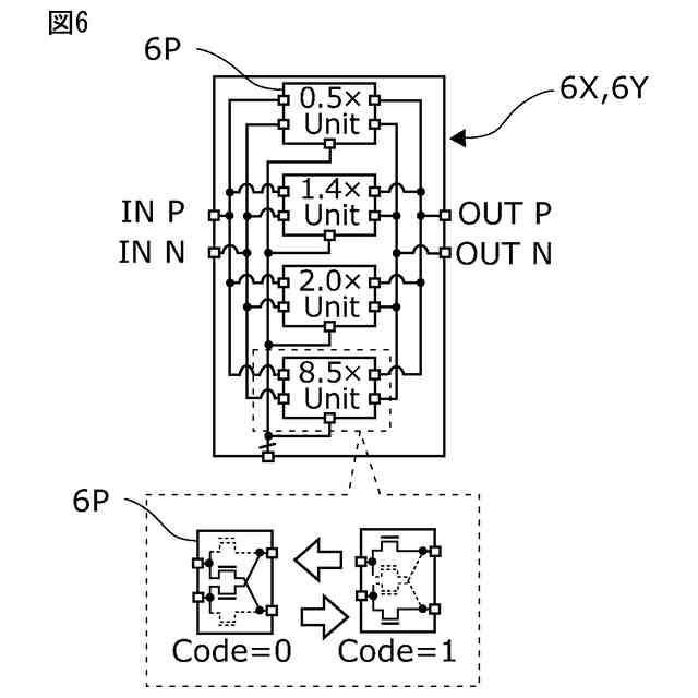
RF移相器の回路構成を示す図である。
位相調整回路の回路構成を示す図である。
位相調整を実現する複数のスイッチ回路の構成を示す図である。
受信信号のサンプリングの一例を説明する図である。
受信信号のサンプリングの一例を説明する図である。
受信信号のサンプリングの一例を説明する図である。
受信アンテナ装置の構成を示すブロック図である。
無線通信方法の処理の流れを示すフローチャートである。
送信アンテナ装置の概略的な構成を示す図である。
【発明を実施するための形態】
【0010】
図1に示されるように、無線通信システムSは、受信アンテナ装置1と、複数の移動局Bとにより構成されている。無線通信システムSは、受信アンテナ装置1と、複数の移動局Bn(nは自然数)との同時通信を可能とするものである。受信アンテナ装置1は、フェーズドアレイアンテナを用いて複数の移動局Bnから到来する指向性を有する複数の通信信号Fnを個別に受信する。受信アンテナ装置1は、受信した通信信号Fnに基づいて受信信号を復調する。
(【0011】以降は省略されています)
特許ウォッチbot のツイートを見る
この特許をJ-PlatPat(特許庁公式サイト)で参照する
関連特許
国立大学法人東京科学大学
引張試験装置、及び試験片
1か月前
国立大学法人東京科学大学
ジアセチル計測方法及びジアセチル計測装置
11日前
国立大学法人東京科学大学
計測装置、計測方法、及び、制御プログラム
11日前
AGC株式会社
調光デバイスおよび調光方法
24日前
日清紡ホールディングス株式会社
燃料電池用電解質膜
1か月前
日清紡ホールディングス株式会社
燃料電池用バインダー
1か月前
鉄建建設株式会社
ガス化方法及び半炭化燃料材の製造方法
3日前
住友化学株式会社
磁気トンネル接合素子及び磁気デバイス
1か月前
国立大学法人東京科学大学
面発光レーザ
1か月前
国立大学法人東京科学大学
修飾ヘテロ核酸
1か月前
NTT株式会社
植物の開花時期制御方法および開花時期が制御された植物の作出方法
9日前
一般財団法人ファインセラミックスセンター
微粒子及びその製造方法
27日前
国立研究開発法人量子科学技術研究開発機構
ディスペンサシステム、検査キット、および当該ディスペンサシステムを用いた試薬添加方法
24日前
NTT株式会社
植物の光合成応答を調節する方法、光合成応答が迅速化した植物の作出方法、および光合成応答が迅速化した植物の栽培のためのシステム
9日前
ローレルバンクマシン株式会社
ワイヤレス給電システム及び方法並びにワイヤレス送電システム
11日前
個人
イヤーピース
16日前
個人
イヤーマフ
1か月前
個人
監視カメラシステム
1か月前
キーコム株式会社
光伝送線路
1か月前
個人
スイッチシステム
24日前
WHISMR合同会社
収音装置
2か月前
サクサ株式会社
中継装置
1か月前
個人
スキャン式車載用撮像装置
1か月前
サクサ株式会社
中継装置
1か月前
アイホン株式会社
電気機器
2か月前
株式会社リコー
画像形成装置
1か月前
キヤノン電子株式会社
画像読取装置
2か月前
ヤマハ株式会社
放音制御装置
24日前
キヤノン電子株式会社
画像読取装置
1か月前
キヤノン電子株式会社
画像読取装置
24日前
キヤノン電子株式会社
画像読取装置
16日前
サクサ株式会社
無線通信装置
1か月前
サクサ株式会社
無線システム
1か月前
個人
映像表示装置、及びARグラス
25日前
株式会社リコー
画像形成装置
2か月前
個人
ワイヤレスイヤホン対応耳掛け
2か月前
続きを見る
他の特許を見る