TOP
|
特許
|
意匠
|
商標
特許ウォッチ
Twitter
他の特許を見る
公開番号
2025128702
公報種別
公開特許公報(A)
公開日
2025-09-03
出願番号
2024025515
出願日
2024-02-22
発明の名称
制御システム
出願人
国立大学法人東京科学大学
,
株式会社トレスバイオ研究所
代理人
個人
,
個人
,
個人
主分類
H04Q
9/00 20060101AFI20250827BHJP(電気通信技術)
要約
【課題】制御対象の機器が配備された現場において、外部と結ばれたグリッドや有線の通信回線に頼ることなく、現場管理者の人件費等の余計なコストをかけずに機器を遠隔制御することができる制御システムを提供する。
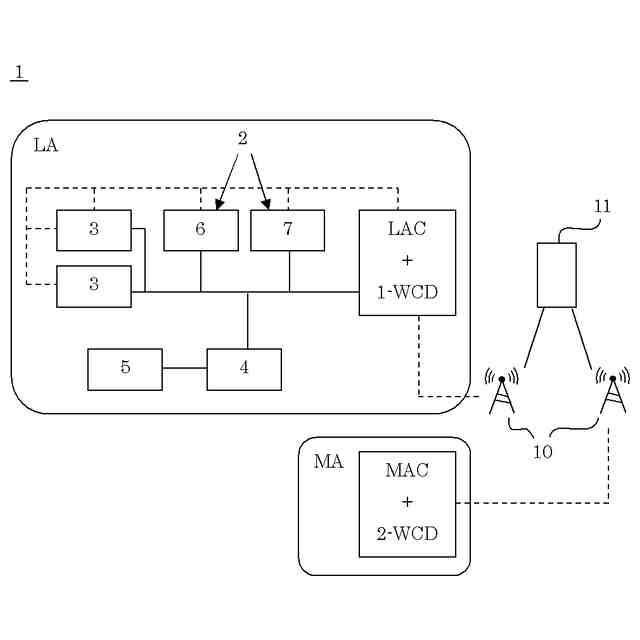
【解決手段】ローカルエリア(LA)において、センサ、センシングデータを処理するローカルエリアコンピュータ(LAC)、LAC制御の機器、処理データを発信する第1無線通信装置(1-WCD)、センサ等に電気を供給する蓄電池と、該蓄電池に電気を貯める太陽光発電装置が配備されており、LAとは異なる管理エリア(MA)において、発信された処理データを受信する第2無線通信装置(2-WCD)、該2-WCDからの処理データを処理する管理エリアコンピュータ(MAC)が配備されており、機器は、2-WCD、1-WCD、LACを介して、MACからの指令で無人のLA内での遠隔制御が可能なものである制御システム。
【選択図】図1
特許請求の範囲
【請求項1】
ローカルエリア内に配備された機器の制御システムであって、
前記ローカルエリアにおいて、
センサと、
該センサにより取得されたデータを処理するローカルエリアコンピュータと、
該ローカルエリアコンピュータにより制御可能な前記機器と、
前記ローカルエリアコンピュータからの処理データを発信可能な第1無線通信装置と、
前記センサ、前記ローカルエリアコンピュータ、前記機器、および前記第1無線通信装置に電気を供給する蓄電池と、
該蓄電池に電気を貯める太陽光発電装置と、が配備されており、
前記ローカルエリアとは異なる地域の管理エリアにおいて、
前記第1無線通信装置から発信された前記処理データを受信可能な第2無線通信装置と、
該第2無線通信装置からの前記処理データを処理する管理エリアコンピュータと、が配備されており、
前記機器は、前記第2無線通信装置、前記第1無線通信装置、および前記ローカルエリアコンピュータを介して、前記管理エリアコンピュータからの指令により、無人の前記ローカルエリア内での遠隔制御が可能なものであることを特徴とする制御システム。
続きを表示(約 950 文字)
【請求項2】
前記ローカルエリアコンピュータは、前記処理データの前記管理エリアコンピュータへの通信の調整を行うイベントトリガー機能及び予測制御機能の両者あるいは一方を有するものであることを特徴とする請求項1に記載の制御システム。
【請求項3】
前記制御システムは、さらに通信衛星を有しており、
前記第1無線通信装置と前記第2無線通信装置との間での通信は、前記通信衛星を介するものであることを特徴とする請求項1に記載の制御システム。
【請求項4】
前記制御システムは、さらに基地局および交換局を有しており、
前記第1無線通信装置と前記第2無線通信装置との間での通信は、前記基地局および交換局を介するものであることを特徴とする請求項1に記載の制御システム。
【請求項5】
前記機器は、アクチュエータであることを特徴とする請求項1に記載の制御システム。
【請求項6】
前記アクチュエータは、作業用機械、ドローン、および自動販売機のうちのいずれか1つ以上であることを特徴とする請求項5に記載の制御システム。
【請求項7】
前記機器は、警報装置であることを特徴とする請求項1に記載の制御システム。
【請求項8】
前記センサは、カメラ、温度計、湿度計、日照計、雨量計、風量計、集音マイク、土壌センサ、およびレーザーセンサのうちのいずれか1つ以上であることを特徴とする請求項1に記載の制御システム。
【請求項9】
前記センサ、前記ローカルエリアコンピュータ、前記第1無線通信装置、前記蓄電池、および前記太陽光発電装置は、複数の前記ローカルエリアの各エリアごとに配備されており、
前記管理エリアの前記第2無線通信装置は、前記各エリアごとの前記第1無線通信装置との間で通信可能なものであることを特徴とする請求項1に記載の制御システム。
【請求項10】
前記管理エリアコンピュータは、前記ローカルエリアコンピュータからの前記処理データに基づくシミュレーション機能を有するものであることを特徴とする請求項1に記載の制御システム。
(【請求項11】以降は省略されています)
発明の詳細な説明
【技術分野】
【0001】
本発明はローカルエリア内に配備された機器の制御システムに関する。
続きを表示(約 2,600 文字)
【背景技術】
【0002】
例えば、日本国内においては少子高齢化に伴う農業の後継者不足が指摘されている。また、やはり同様の理由により、農業に限らず様々な分野や地域において人手不足が問題視されている。それらの解決策として、広大な土地(現場)に配備された機器を用いた遠隔制御システムの導入が求められている。
【先行技術文献】
【特許文献】
【0003】
米国特許出願公開公報第US2015/0237217号
【発明の概要】
【発明が解決しようとする課題】
【0004】
上記のようなシステムが既に導入されているケースも見られる。しかし、実際のところ、そのシステムの現場においては、機器のためのエネルギーの供給(電気の供給)が自立(自律)できておらず、電力会社の送電網(グリッド)による外部からの供給に頼っている。また、遠隔制御のための通信網に関しても、外部との通信は実質的に通信ケーブル(有線)に頼っている状況である。
このような場合、例えば地震や火災、悪天候などの自然災害などによってそのグリッドや通信ケーブルに切断や損傷が生じると、そのシステムの稼働が困難になる。
【0005】
また、地方の農村部や、さらには僻地など人里から離れた地域においてはグリッドや有線のバックホール回線の配設が不十分である。そのため、そのような地域に上記システムを導入しようとすると、まずそれらのグリッドや有線のバックホール回線を整備しなければならない場合もある。
【0006】
ところで通信手段として、例えば人が背負うバックパック収納型の移動無線通信機が挙げられる(特許文献1)。該通信機には、通信のための電力を供給する簡易なソーラーパネル等が備えられていることも記載されている。
しかしながら、自然災害等が生じて上述の通信ケーブルが損傷し、かつ、現場へ通じる道が遮断されたりすると、その通信機を背負った担当者(現場管理者)が上記システムの現場へ行って通信しようとしても、そもそもその現場へ辿りつくこともできず、システムを再稼働させることができない。一方で現場に担当者が常駐するとなると、そのための宿泊施設や食料品の配達にかかる費用や、人件費などが余計にかかってしまい、コスト面で問題が出てくる。また、その通信機は現場での種々の機器等への電気の供給までをも想定したものではない。
【0007】
本発明は上記の課題に鑑みてなされたものであり、制御対象の機器が配備された現場において、外部と結ばれたグリッドや有線の通信回線に頼ることなく、現場管理者の人件費等の余計なコストをかけずに機器を遠隔制御することができる制御システムを提供することを目的とする。
【課題を解決するための手段】
【0008】
上記目的を達成するために、本発明は、ローカルエリア内に配備された機器の制御システムであって、
前記ローカルエリアにおいて、
センサと、
該センサにより取得されたデータを処理するローカルエリアコンピュータと、
該ローカルエリアコンピュータにより制御可能な前記機器と、
前記ローカルエリアコンピュータからの処理データを発信可能な第1無線通信装置と、
前記センサ、前記ローカルエリアコンピュータ、前記機器、および前記第1無線通信装置に電気を供給する蓄電池と、
該蓄電池に電気を貯める太陽光発電装置と、が配備されており、
前記ローカルエリアとは異なる地域の管理エリアにおいて、
前記第1無線通信装置から発信された前記処理データを受信可能な第2無線通信装置と、
該第2無線通信装置からの前記処理データを処理する管理エリアコンピュータと、が配備されており、
前記機器は、前記第2無線通信装置、前記第1無線通信装置、および前記ローカルエリアコンピュータを介して、前記管理エリアコンピュータからの指令により、無人の前記ローカルエリア内での遠隔制御が可能なものであることを特徴とする制御システムを提供する。
【0009】
このような本発明の遠隔制御可能な制御システムであれば、太陽光発電装置により発電された電気を蓄電池を介して、無人のローカルエリア(現場)内のセンサ、ローカルエリアコンピュータ、機器、第1無線通信装置に供給するものであるため、機器等の稼働に関して、外部からの電力会社のグリッドを必要としないシステムとすることができる。
また少なくとも、無人のローカルエリア(第1無線通信装置)と外部との間、さらには管理エリア(第2無線通信装置)と外部との間の通信(処理データの受発信、管理エリアコンピュータからの指令の受発信)が無線であるため、ローカルエリアと外部間(また管理エリアと外部間)の有線の通信回線(通信ケーブルなど)を必要としないシステムとすることができる。
このように電力面で自給自足が可能であり、また通信回線面でも物理的に独立して(ノーケーブルで)外部と通信可能であり、2つの面でオフグリッドの制御システムである。このため例えば現場付近で自然災害等が生じて現場が物理的に遮断されて孤立したとしても、管理エリアコンピュータからの指令により現場の機器等は稼働し続けることが可能である。
【0010】
またローカルエリアは無人であるため(言い換えると、現場における管理者の存在無しで、機器を遠隔制御できる制御システムであるため)、やはり自然災害等が生じたとしても依然として稼働し続けることができるし、前述したような常駐する現場管理者の人件費等の余分なコストもかけずに済ますことができる。
なお、ここで言う無人とは、制御システムを通常稼働させるために(通常に機器を遠隔制御するために)、現場に管理者が常駐したり、管理者が通常時に訪れたりする必要性がないことを意味する。ローカルエリアでの現場管理者(例えば通信回線面において、前述したような移動無線通信機を背負った現場管理者)が通常時は無用であることを指す。なお、例えば機器等の故障などの突発的なトラブルが生じた場合は、当然、修理業者等が訪れて機器等の回収や修理を行うこともできる。
(【0011】以降は省略されています)
この特許をJ-PlatPat(特許庁公式サイト)で参照する
関連特許
AGC株式会社
調光デバイスおよび調光方法
7日前
一般財団法人ファインセラミックスセンター
微粒子及びその製造方法
10日前
国立研究開発法人量子科学技術研究開発機構
ディスペンサシステム、検査キット、および当該ディスペンサシステムを用いた試薬添加方法
7日前
個人
イヤーマフ
13日前
個人
監視カメラシステム
22日前
キーコム株式会社
光伝送線路
23日前
個人
スイッチシステム
7日前
サクサ株式会社
中継装置
28日前
WHISMR合同会社
収音装置
1か月前
サクサ株式会社
中継装置
29日前
個人
スキャン式車載用撮像装置
22日前
キヤノン株式会社
撮像装置
2か月前
アイホン株式会社
電気機器
1か月前
株式会社リコー
画像形成装置
2か月前
キヤノン電子株式会社
画像読取装置
7日前
サクサ株式会社
無線システム
27日前
ヤマハ株式会社
放音制御装置
7日前
個人
映像表示装置、及びARグラス
8日前
サクサ株式会社
無線通信装置
28日前
サクサ株式会社
無線通信装置
28日前
株式会社リコー
画像形成装置
15日前
株式会社リコー
画像形成装置
2か月前
キヤノン電子株式会社
画像読取装置
1か月前
個人
ワイヤレスイヤホン対応耳掛け
1か月前
キヤノン電子株式会社
画像読取装置
21日前
キヤノン株式会社
画像処理装置
2日前
個人
発信機及び発信方法
27日前
日本電気株式会社
海底分岐装置
23日前
キヤノン株式会社
撮像システム
1か月前
株式会社NTTドコモ
端末
23日前
キヤノン電子株式会社
画像処理システム
21日前
大日本印刷株式会社
写真撮影装置
1か月前
株式会社JVCケンウッド
通信システム
1か月前
有限会社フィデリックス
マイクロフォン
1か月前
株式会社NTTドコモ
端末
22日前
国立大学法人電気通信大学
小型光学装置
2か月前
続きを見る
他の特許を見る