TOP
|
特許
|
意匠
|
商標
特許ウォッチ
Twitter
他の特許を見る
10個以上の画像は省略されています。
公開番号
2025140997
公報種別
公開特許公報(A)
公開日
2025-09-29
出願番号
2024040684
出願日
2024-03-15
発明の名称
燃料デブリの固化方法および固化体
出願人
国立大学法人東京科学大学
,
学校法人加計学園
,
学校法人五島育英会
,
国立大学法人東北大学
代理人
個人
,
個人
,
個人
,
個人
,
個人
,
個人
主分類
G21F
9/30 20060101AFI20250919BHJP(核物理;核工学)
要約
【課題】長期に渡って安全が確保されるよう、燃料デブリを安定な形態に処理することを目的とする。
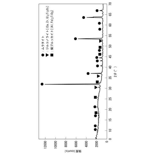
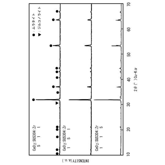
【解決手段】本発明に係る燃料デブリの固化方法は、粉砕された燃料デブリと、Ca,Zr,Ti,FeおよびAlを含む酸化物試薬の粉末を混合する混合工程(S2)と、混合工程で得られた混合物を焼成する焼成工程(S4)を備え、燃料デブリの構成元素を結晶格子の構成元素として含み、蛍石型構造関連構造を有するチタン酸塩鉱物系の固化体を形成する。
【選択図】図1
特許請求の範囲
【請求項1】
粉砕された燃料デブリと、Ca,Zr,Ti,FeおよびAlを含む酸化物試薬の粉末を混合する混合工程と、
前記混合工程で得られた混合物を焼成する焼成工程
を備え、前記燃料デブリの構成元素を結晶格子の構成元素として含み、蛍石型構造関連構造を有するチタン酸塩鉱物系の固化体を形成する燃料デブリの固化方法。
続きを表示(約 1,000 文字)
【請求項2】
前記酸化物試薬は、カルシウム酸化物,ジルコニウム酸化物,チタン酸化物,鉄酸化物およびアルミニウム酸化物の混合粉末であり、
前記酸化物試薬と燃料デブリに含まれるイオン構成比が、Ca:Zr(および前記燃料デブリに含まれる放射性核種):Ti:Fe:Al=14.1:14.2:23.1:33.9:14.7(mol)となるように前記酸化物試薬を配合する請求項1に記載の燃料デブリの固化方法。
【請求項3】
前記酸化物試薬は、カルシウム酸化物,ジルコニウム酸化物,マンガン酸化物,チタン酸化物,鉄酸化物およびアルミニウム酸化物の混合粉末であり、
前記酸化物試薬と燃料デブリに含まれるイオン構成比が、Ca:Zr(および前記燃料デブリに含まれる放射性核種):Mn:Ti:Fe:Al=12.5:10.2:8.2:29.8:24.0:15.3(mol)となるように前記酸化物試薬を配合する請求項1に記載の燃料デブリの固化方法。
【請求項4】
前記焼成工程は、大気雰囲気下、1200℃以上1400℃以下で実施される請求項1に記載の燃料デブリの固化方法。
【請求項5】
前記焼成工程の前に、前記混合物を圧縮成形する成形工程を含む請求項1に記載の燃料デブリの固化方法。
【請求項6】
前記結晶格子の構造が、ジルコノライトおよびムラタイトからなる群から選択される少なくとも1種である請求項1に記載の燃料デブリの固化方法。
【請求項7】
前記混合物は、前記燃料デブリを0重量%超20重量%以下含む請求項1に記載の燃料デブリの固化方法。
【請求項8】
Ca,Zr,Ti,FeおよびAlを含み、
一般式:A
x
B
12
C
4
DO
42
で表され、 式中、前記Aは、Ca,MnおよびZrからなる群から選択される少なくも一種の元素およびUであり、
前記Bは、Ti,Fe,CrおよびNiからなる群から選択される少なくも一種の元素であり、
前記Cは、Ti,Fe,Al,CrおよびNiからなる群から選択される少なくも一種の元素であり、
前記Dは、Al,およびFeからなる群から選択される少なくも一種の元素であり、
前記xは、7.9~10である
蛍石型構造関連構造を有する固化体。
発明の詳細な説明
【技術分野】
【0001】
本発明は、燃料デブリの固化方法および固化体に関するものである。
続きを表示(約 1,100 文字)
【背景技術】
【0002】
原子力発電所において事故が発生し、核燃料の冷却機能が失われた場合、核燃料が溶けて、さらに炉心を構成する部材の一部も溶ける。これらの溶けた物質は、混ざり合って原子炉圧力容器の下に落下(メルトダウン)し、状況によっては圧力容器底部を貫通して原子炉格納容器内に落下(メルトスルー)する。これら溶けた物質が最終的に冷えて固まったものを燃料デブリと呼ぶ。福島第一原子力発電所事故でも燃料デブリが発生しているため、この燃料デブリの処理方法の開発が求められている。
【0003】
燃料デブリは、核燃料物質や核分裂生成物などの放射性物質を含む。そのため、燃料デブリは、数万年~数十万年という長期に渡って安定性が保たれるような廃棄体とした後に、同じく長期に渡って安全が確保されるよう処分することが必要である。例えば、安定な形態(固化体)に処理した後、最終的には地層処分することが考えられる。
【0004】
特許文献1では、燃料デブリをガラス固化体にして、処理する方法を開示している。特許文献1では、燃料デブリをあらかじめフッ化処理した後、フッ化残渣を酸化物に転換してからガラス固化させる。
【0005】
また、長期的観点から、ガラス固化体に替わる安定な代替固化法の研究も必要とされている。その有力な候補の一つにチタン酸塩鉱物が主体のシンロックと呼ばれる人工岩石に固化する方法がある。
【先行技術文献】
【特許文献】
【0006】
特開2023-110249号公報
【発明の概要】
【発明が解決しようとする課題】
【0007】
ガラス固化する方法では、廃棄物とガラス母材とを高温で溶解し冷却固化する必要がある。
【0008】
人工岩石に固化する方法は、これまで、高レベルの放射性廃液の固化技術として報告されている。しかしながら、燃料デブリの処理に利用する技術としては報告されていない。
【0009】
福島第一原子力発電所における燃料デブリには主に核燃料物質、被覆管材料および構造材が含まれる。そのため、被覆管材料および構造材由来のZrおよびFeを豊富に固溶可能なチタン酸塩鉱物結晶が形成されるように、最適な化学組成や固化条件を模索する必要がある。
【0010】
本発明は、このような事情に鑑みてなされたものであって、燃料デブリを安定な形態に処理するための固化方法および固化体を提供することを目的とする。
【課題を解決するための手段】
(【0011】以降は省略されています)
この特許をJ-PlatPat(特許庁公式サイト)で参照する
関連特許
国立大学法人東京科学大学
通信装置
28日前
国立大学法人東京科学大学
バラン回路
28日前
国立大学法人東京科学大学
非線形回路
28日前
国立大学法人東京科学大学
チューニング装置
28日前
国立大学法人東京科学大学
引張試験装置、及び試験片
17日前
国立大学法人東京科学大学
情報処理方法及びプログラム
28日前
国立大学法人東京科学大学
受光装置および光給電システム
18日前
国立大学法人東京科学大学
押込試験装置、及び押込試験方法
17日前
国立大学法人東京科学大学
振動センサ及び振動数検出システム
28日前
国立大学法人東京科学大学
燃料デブリの固化方法および固化体
28日前
国立大学法人東京科学大学
ガラスアクチュエータ素子及びその製造方法
1か月前
トヨタ自動車株式会社
フッ化物イオン電池
24日前
学校法人早稲田大学
太陽光発電モジュール
19日前
日清紡ホールディングス株式会社
燃料電池用電解質膜
4日前
日清紡ホールディングス株式会社
燃料電池用バインダー
4日前
住友化学株式会社
磁気トンネル接合素子及び磁気デバイス
3日前
株式会社Synspective
パッシブアンテナパネル
1か月前
国立大学法人東京科学大学
面発光レーザ
5日前
国立大学法人東京科学大学
修飾ヘテロ核酸
13日前
国立大学法人東京科学大学
積層体、積層体の製造方法、及び超伝導転移温度を上昇させる方法
17日前
NTT株式会社
通信品質予測装置、通信品質予測方法、及びプログラム
1か月前
パナソニックインダストリー株式会社
コンデンサ及びコンデンサの製造方法
20日前
つばめBHB株式会社
触媒成形体及び該触媒を用いるアンモニアの合成方法
28日前
三井化学株式会社
レーザ描画用光硬化性樹脂組成物、立体造形物、および立体造形物の製造方法
17日前
三井化学株式会社
レーザ描画用光硬化性樹脂組成物、立体造形物、および立体造形物の製造方法
17日前
一般財団法人ファインセラミックスセンター
微粒子及びその製造方法
今日
国立大学法人東京科学大学
リン酸カルシウム-炭素原子-酸化ジルコニウム複合体、修復材料、医療機器、リン酸カルシウム-炭素原子-酸化ジルコニウム複合体の製造方法
19日前
個人
原子力プラント
13日前
個人
常温核融合装置
6か月前
個人
常温核融合装置
6か月前
個人
常温核融合装置
6か月前
個人
超音波振動子の利用
13日前
個人
トリチウムの除去装置
6か月前
個人
廃炉方法及び固化材
28日前
個人
元素変換用固体核融合工程
4か月前
個人
安山岩を利用した放射線消去装置
4か月前
続きを見る
他の特許を見る