TOP
|
特許
|
意匠
|
商標
特許ウォッチ
Twitter
他の特許を見る
公開番号
2025127972
公報種別
公開特許公報(A)
公開日
2025-09-02
出願番号
2024025008
出願日
2024-02-21
発明の名称
電波吸収体
出願人
国立大学法人東京科学大学
代理人
弁理士法人エピファニー特許事務所
主分類
H05K
9/00 20060101AFI20250826BHJP(他に分類されない電気技術)
要約
【課題】広範囲の周波数の電波を吸収することができる電波吸収体を提供することを目的としている。
【解決手段】積層体を有する電波吸収体であって、前記積層体は、第1誘電体層と、第1抵抗層と、第2誘電体層と、第2抵抗層と、第3誘電体層と、反射層を有し、これらの層が電波入射側からこの順番で配置され、前記第1抵抗層は、周期性構造を有し、前記周期性構造は、予め定められた範囲の周波数の電波が通過するように、前記第1抵抗層の面内において周期性を有するように形成されている、電波吸収体が提供される。
【選択図】図1
特許請求の範囲
【請求項1】
積層体を有する電波吸収体であって、
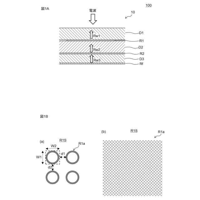
前記積層体は、第1誘電体層と、第1抵抗層と、第2誘電体層と、第2抵抗層と、第3誘電体層と、反射層を有し、これらの層が電波入射側からこの順番で配置され、
前記第1抵抗層は、周期性構造を有し、
前記周期性構造は、予め定められた範囲の周波数の電波が通過するように、前記第1抵抗層の面内において周期性を有するように形成されている、電波吸収体。
続きを表示(約 1,000 文字)
【請求項2】
請求項1に記載の電波吸収体であって、
前記電波吸収体の電波の吸収特性は、電波の吸収率が50(GHz)~300(GHz)の周波数範囲において複数の吸収ピークを有する特性となっている、電波吸収体。
【請求項3】
請求項2に記載の電波吸収体であって、
前記複数の吸収ピークは、前記吸収率が90%以上のピークである、電波吸収体。
【請求項4】
請求項1に記載の電波吸収体であって、
前記電波吸収体の電波の吸収特性は、電波の吸収率が80%以上の値となる周波数範囲が、50(GHz)~300(GHz)の周波数範囲において60%以上を占める特性である、電波吸収体。
【請求項5】
請求項1~請求項4の何れか1つに記載の電波吸収体であって、
前記第1抵抗層の抵抗値は、20Ω/sq以上、200Ω/sq以下である、電波吸収体。
【請求項6】
請求項1~請求項4の何れか1つに記載の電波吸収体であって、
前記第2抵抗層は、前記第2抵抗層の外縁よりも内側の領域全体が前記第2抵抗層の構成素材で埋められているシート状構造で構成されている、電波吸収体。
【請求項7】
請求項1~請求項4の何れか1つに記載の電波吸収体であって、
前記周期性構造は、前記第1抵抗層の面内において周期性を有するように配列された複数の抵抗素子部、又は、前記第1抵抗層の全域に延び、周期性を有する網状構造で構成される、電波吸収体。
【請求項8】
請求項7に記載の電波吸収体であって、
前記周期性構造が、前記第1抵抗層の面内において周期性を有するように配列された前記複数の抵抗素子部で構成される場合において、
前記抵抗素子部の平面視形状の大きさは、縦幅及び横幅が、0.4mm以上、1.0mm以下である、電波吸収体。
【請求項9】
請求項7に記載の電波吸収体であって、
前記第1抵抗層が、前記第1抵抗層の面内において周期性を有するように配列された前記複数の抵抗素子部で構成される場合において、
隣接する一対の前記抵抗素子部の間の距離は、0.15mm以上、0.45mm以下である、電波吸収体。
【請求項10】
請求項1~請求項4の何れか1つに記載の電波吸収体であって、
前記積層体は、全体として可撓性を有するシート状に形成されている、電波吸収体。
発明の詳細な説明
【技術分野】
【0001】
本発明は、電波吸収体に関する。
続きを表示(約 1,900 文字)
【背景技術】
【0002】
例えば、電気回路等から外部へと放出される漏洩電波や、不所望に反射した電波の影響を回避するために、電波を吸収する電波吸収体が用いられている。近年は、携帯電話等の移動体通信や無線LAN、料金自動収受システム(ETC)などで、数ギガヘルツ(GHz)の周波数帯域を持つセンチメートル波、さらには、30ギガヘルツから100ギガヘルツの周波数を有するミリ波帯、ミリ波帯域を超えた高い周波数帯域の電波として100GHz以上の帯域の周波数を有する電波を利用する技術の研究も進んでいる。
【0003】
ここで、特許文献1には、不要な電波の反射を抑えて吸収する電波吸収体が提案されている。特許文献1の電波吸収体において、誘電体層の電波入射側の表面には抵抗層が設けられ、反対側の裏面には電波を反射する反射層が設けられている。この電波吸収体は、抵抗層で反射する電波と、反射層で反射する電波とを干渉させて打ち消し合わせることで、電波を吸収する電波干渉型の電波吸収体である。
【先行技術文献】
【特許文献】
【0004】
特開2023-133310号公報
【発明の概要】
【発明が解決しようとする課題】
【0005】
特許文献1の電波吸収体における電波の吸収特性は、ピーク周波数の近傍において急峻な特性となっており、当該周波数を外れると吸収特性が大幅に低減してしまう懸念がある。
【0006】
本発明は、広範囲の周波数の電波を吸収することができる電波吸収体を提供することを目的としている。
【課題を解決するための手段】
【0007】
本発明によれば、積層体を有する電波吸収体であって、前記積層体は、第1誘電体層と、第1抵抗層と、第2誘電体層と、第2抵抗層と、第3誘電体層と、反射層を有し、これらの層が電波入射側からこの順番で配置され、前記第1抵抗層は、周期性構造を有し、前記周期性構造は、予め定められた範囲の周波数の電波が通過するように、前記第1抵抗層の面内において周期性を有するように形成されている、電波吸収体が提供される。
【0008】
本発明によれば、第1誘電体層へ入射した電波のうち予め定められた範囲の周波数の電波は、第1抵抗層を通過し、第2抵抗層及び反射層で反射する。そして、第1誘電体層へ入射した電波のうち予め定められた範囲以外の周波数の電波は、第1抵抗層で反射する。第1抵抗層で反射した電波、第1電波とは周波数帯の異なる第2抵抗層で反射した電波、及び、第1電波とは周波数帯の異なる反射層で反射した電波による複合的作用により、広範囲の周波数の電波を吸収することができる。
【図面の簡単な説明】
【0009】
図1Aは、実施形態にかかる電波吸収体100の積層体10を模式的に示す断面図である。図1Bは、(a)が第1抵抗層の面状構造の一例を示し、(b)が(a)とは異なる第1抵抗層の面状構造の一例である。
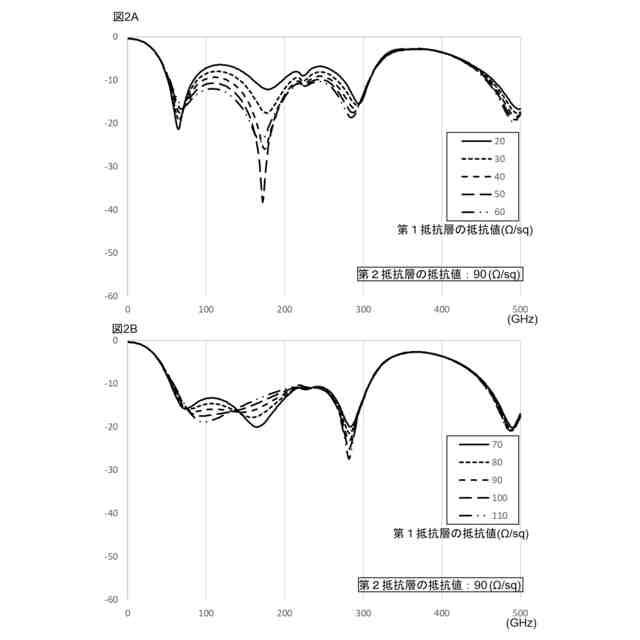
図2Aは、第1抵抗層の抵抗値を20Ω/sqから60Ω/sqまで変化させたときの電波の吸収特性を示すグラフである。図2Bは、第1抵抗層の抵抗値を70Ω/sqから110Ω/sqまで変化させたときの電波の吸収特性を示すグラフである。
図3Aは、第1抵抗層の抵抗値を120Ω/sqから160Ω/sqまで変化させたときの電波の吸収特性を示すグラフである。図3Bは、第1抵抗層の抵抗値を170Ω/sqから200Ω/sqまで変化させたときの電波の吸収特性を示すグラフである。
図4Aは、第2抵抗層の抵抗値を20Ω/sqから60Ω/sqまで変化させたときの電波の吸収特性を示すグラフである。図4Bは、第2抵抗層の抵抗値を70Ω/sqから110Ω/sqまで変化させたときの電波の吸収特性を示すグラフである。
図5Aは、第2抵抗層の抵抗値を120Ω/sqから160Ω/sqまで変化させたときの電波の吸収特性を示すグラフである。図5Bは、第2抵抗層の抵抗値を170Ω/sqから200Ω/sqまで変化させたときの電波の吸収特性を示すグラフである。
【発明を実施するための形態】
【0010】
以下、図面を用いて本発明の実施形態について説明する。以下に示す実施形態中で示した各種特徴事項は、互いに組み合わせ可能である。また、各特徴事項について独立して発明が成立する。
(【0011】以降は省略されています)
この特許をJ-PlatPat(特許庁公式サイト)で参照する
関連特許
個人
電子部品の実装方法
1か月前
日本精機株式会社
回路基板
2か月前
愛知電機株式会社
装柱金具
1か月前
個人
電気式バーナー
1か月前
個人
非衝突型ガウス加速器
3か月前
日星電気株式会社
面状ヒータ
8日前
日本放送協会
基板固定装置
2か月前
個人
節電材料
3か月前
キヤノン株式会社
電子機器
2か月前
イビデン株式会社
配線基板
1か月前
アイホン株式会社
電気機器
2か月前
アイホン株式会社
電気機器
3か月前
メクテック株式会社
配線基板
2か月前
東レ株式会社
霧化状活性液体供給装置
2か月前
個人
静電気中和除去装置
23日前
イビデン株式会社
配線基板
2か月前
FDK株式会社
基板
1か月前
サクサ株式会社
開き角度規制構造
1か月前
イビデン株式会社
配線基板
3か月前
株式会社デンソー
電子装置
16日前
株式会社デンソー
電子装置
1か月前
シャープ株式会社
加熱機器
29日前
サクサ株式会社
筐体の壁掛け構造
2か月前
株式会社レクザム
剥離装置
1か月前
イビデン株式会社
プリント配線板
3か月前
イビデン株式会社
プリント配線板
2か月前
株式会社レゾナック
冷却装置
1か月前
日産自動車株式会社
電子部品
2か月前
新電元工業株式会社
電子装置
2か月前
富士フイルム株式会社
積層体
1か月前
オムロン株式会社
端子折り曲げ治具
1か月前
日産自動車株式会社
電子機器
2日前
カシン工業株式会社
PTC発熱装置
3か月前
日本特殊陶業株式会社
配線基板
2か月前
株式会社デンソー
電子制御装置
15日前
日本無線株式会社
電子機器用密閉構造
2か月前
続きを見る
他の特許を見る