TOP
|
特許
|
意匠
|
商標
特許ウォッチ
Twitter
他の特許を見る
10個以上の画像は省略されています。
公開番号
2025143059
公報種別
公開特許公報(A)
公開日
2025-10-01
出願番号
2024042763
出願日
2024-03-18
発明の名称
半導体記憶装置
出願人
キオクシア株式会社
代理人
弁理士法人鈴榮特許綜合事務所
主分類
H10B
43/50 20230101AFI20250924BHJP()
要約
【課題】歩留まりを向上する。
【解決手段】実施形態によれば、半導体記憶装置は、第1半導体層32と、複数の第1配線層35と、複数の第2配線層35と、第3配線層35と、第3メモリピラーMPと、第1領域において複数の第1配線層を通過する第1支持ピラーLHR1と、第1領域において少なくとも複数の第2配線層及び第3配線層を通過する第2支持ピラーUHR1と、第2領域において複数の第1配線層のうちの少なくとも1層を通過し、第1及び第2支持ピラーよりも直径が大きい第3支持ピラーLHR2と、第2領域において第3支持ピラーの上に設けられ、複数の第2配線層及び第3配線層を通過し、第1及び第2支持ピラーよりも直径が大きい第4支持ピラーUHR2と、を含む。
【選択図】図4
特許請求の範囲
【請求項1】
基板の上方に設けられた第1半導体層と、
前記第1半導体層の上方に、互いが第1方向に離間して積層された複数の第1配線層と、
前記複数の第1配線層の上方に、互いが前記第1方向に離間して積層された複数の第2配線層と、
前記複数の第2配線層の上方に設けられた第3配線層と、
前記複数の第1配線層を前記第1方向に通過する第1メモリピラー及び前記第1メモリピラーの上に設けられ、前記複数の第2配線層及び前記第3配線層を前記第1方向に通過する第2メモリピラーを含む第3メモリピラーと、
前記第3配線層の上に第1コンタクトプラグが設けられた第1領域と、
前記複数の第2配線層の各々の上に第2コンタクトプラグが設けれた第2領域と、
前記第1領域において、前記複数の第1配線層を通過する第1支持ピラーと、
前記第1領域において、少なくとも前記複数の第2配線層及び前記第3配線層を通過する第2支持ピラーと、
前記第2領域において、前記複数の第1配線層のうちの少なくとも1層を通過し、前記第1支持ピラー及び前記第2支持ピラーよりも直径が大きい第3支持ピラーと、
前記第2領域において、前記第3支持ピラーの上に設けられ、前記第1支持ピラー及び前記第2支持ピラーよりも直径が大きい第4支持ピラーと、
を備える、半導体記憶装置。
続きを表示(約 910 文字)
【請求項2】
前記第1支持ピラーの直径及びピッチは、前記第3メモリピラーの直径及びピッチと同じである、
請求項1に記載の半導体記憶装置。
【請求項3】
前記第2支持ピラーの直径及びピッチは、前記第1支持ピラーの前記直径及び前記ピッチよりも大きい、
請求項2に記載の半導体記憶装置。
【請求項4】
前記第2支持ピラーの直径及びピッチは、前記第1支持ピラーの前記直径及び前記ピッチと同じである。
請求項2に記載の半導体記憶装置。
【請求項5】
前記第2支持ピラーの前記ピッチは、前記第1支持ピラーの前記ピッチの2倍である、
請求項3に記載の半導体記憶装置。
【請求項6】
前記第2支持ピラーは、前記複数の第1配線層のうちの少なくとも1層を通過し、前記第1支持ピラーに接する、
請求項1に記載の半導体記憶装置。
【請求項7】
前記第2支持ピラーの中心軸は、前記第1方向と交差する第2方向及び前記第1方向及び前記第2方向と交差する第3方向において、前記第1支持ピラーの中心軸と異なる位置に配置される、
請求項6に記載の半導体記憶装置。
【請求項8】
前記第1メモリピラー及び前記第1支持ピラーの一端は、前記第1半導体層内に達する、
請求項1に記載の半導体記憶装置。
【請求項9】
前記第1半導体層と同層に設けられたエッチストップ層を更に備え、
前記第1支持ピラーは、前記エッチストップ層上に設けられ、
前記第2支持ピラーは、前記第1支持ピラー上に設けられ、
前記第1支持ピラーの直径及びピッチ並びに前記第2支持ピラーの直径及びピッチは、前記第3メモリピラーの直径及びピッチより大きい、
請求項1に記載の半導体記憶装置。
【請求項10】
前記エッチストップ層の上面の直径は、前記第1支持ピラーの下面の直径よりも大きい、
請求項9に記載の半導体記憶装置。
(【請求項11】以降は省略されています)
発明の詳細な説明
【技術分野】
【0001】
本発明の実施形態は、半導体記憶装置に関する。
続きを表示(約 3,600 文字)
【背景技術】
【0002】
半導体記憶装置の1つとして、NAND型フラッシュメモリが知られている。
【先行技術文献】
【特許文献】
【0003】
米国特許第9978766号明細書
特開2020-145311号公報
特開2020-126943号公報
特開2019-057623号公報
米国特許第9768233号明細書
【発明の概要】
【発明が解決しようとする課題】
【0004】
本発明の一実施形態では、歩留まりを向上できる半導体記憶装置が提供される。
【課題を解決するための手段】
【0005】
実施形態に係る半導体記憶装置は、基板の上方に設けられた第1半導体層と、第1半導体層の上方に、互いが第1方向に離間して積層された複数の第1配線層と、複数の第1配線層の上方に、互いが第1方向に離間して積層された複数の第2配線層と、複数の第2配線層の上方に設けられた第3配線層と、複数の第1配線層を第1方向に通過する第1メモリピラー及び第1メモリピラーの上に設けられ、複数の第2配線層及び第3配線層を第1方向に通過する第2メモリピラーを含む第3メモリピラーと、第3配線層の上に第1コンタクトプラグが設けられた第1領域と、複数の第2配線層の各々の上に第2コンタクトプラグが設けれた第2領域と、第1領域において、複数の第1配線層を通過する第1支持ピラーと、第1領域において、少なくとも複数の第2配線層及び第3配線層を通過する第2支持ピラーと、第2領域において、複数の第1配線層のうちの少なくとも1層を通過し、第1支持ピラー及び第2支持ピラーよりも直径が大きい第3支持ピラーと、第2領域において、第3支持ピラーの上に設けられ、第1支持ピラー及び第2支持ピラーよりも直径が大きい第4支持ピラーと、を含む。
【図面の簡単な説明】
【0006】
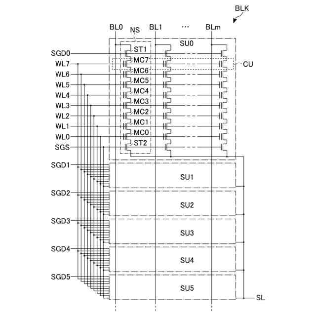
第1実施形態に係る半導体記憶装置の全体構成の一例を示すブロック図。
第1実施形態に係る半導体記憶装置の備えるメモリセルアレイの回路図。
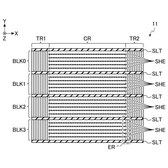
第1実施形態に係る半導体記憶装置の備えるメモリセルアレイの平面レイアウトの一例を示す平面図。
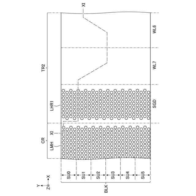
図3の領域ERの拡大図。
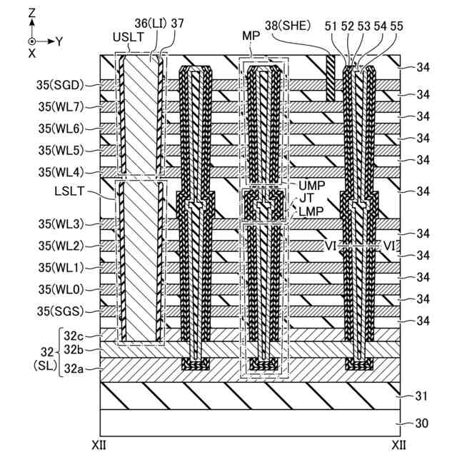
図4のXI-XI線に沿ったメモリセルアレイの断面図。
図4のXII-XII線に沿ったメモリセルアレイの断面図。
図6のVI-VI戦に沿ったメモリピラーのXY平面の断面図。
第1実施形態に係る半導体記憶装置の備えるメモリセルアレイの製造工程を示すメモリセルアレイの平面図。
第1実施形態に係る半導体記憶装置の備えるメモリセルアレイの製造工程を示すメモリセルアレイの断面図。
第1実施形態に係る半導体記憶装置の備えるメモリセルアレイの製造工程を示すメモリセルアレイの平面図。
第1実施形態に係る半導体記憶装置の備えるメモリセルアレイの製造工程を示すメモリセルアレイの断面図。
第1実施形態に係る半導体記憶装置の備えるメモリセルアレイの製造工程を示すメモリセルアレイの平面図。
第1実施形態に係る半導体記憶装置の備えるメモリセルアレイの製造工程を示すメモリセルアレイの断面図。
第1実施形態に係る半導体記憶装置の備えるメモリセルアレイの製造工程を示すメモリセルアレイの平面図。
第1実施形態に係る半導体記憶装置の備えるメモリセルアレイの製造工程を示すメモリセルアレイの断面図。
第1実施形態に係る半導体記憶装置の備えるメモリセルアレイの製造工程を示すメモリセルアレイの平面図。
第1実施形態に係る半導体記憶装置の備えるメモリセルアレイの製造工程を示すメモリセルアレイの断面図。
第1実施形態に係る半導体記憶装置の備えるメモリセルアレイの製造工程を示すメモリセルアレイの平面図。
第1実施形態に係る半導体記憶装置の備えるメモリセルアレイの製造工程を示すメモリセルアレイの断面図。
第1実施形態に係る半導体記憶装置の備えるメモリセルアレイの製造工程を示すメモリセルアレイの平面図。
第1実施形態に係る半導体記憶装置の備えるメモリセルアレイの製造工程を示すメモリセルアレイの断面図。
第1実施形態に係る半導体記憶装置の備えるメモリセルアレイの製造工程を示すメモリセルアレイの平面図。
第1実施形態に係る半導体記憶装置の備えるメモリセルアレイの製造工程を示すメモリセルアレイの断面図。
第1実施形態に係る半導体記憶装置の備えるメモリセルアレイの製造工程を示すメモリセルアレイの平面図。
第1実施形態に係る半導体記憶装置の備えるメモリセルアレイの製造工程を示すメモリセルアレイの断面図。
第1実施形態に係る半導体記憶装置の備えるメモリセルアレイの製造工程を示すメモリセルアレイの平面図。
第1実施形態に係る半導体記憶装置の備えるメモリセルアレイの製造工程を示すメモリセルアレイの断面図。
第1実施形態に係る半導体記憶装置の備えるメモリセルアレイの製造工程を示すメモリセルアレイの平面図。
第1実施形態に係る半導体記憶装置の備えるメモリセルアレイの製造工程を示すメモリセルアレイの断面図。
第1実施形態に係る半導体記憶装置の備えるメモリセルアレイの製造工程を示すメモリセルアレイの平面図。
第1実施形態に係る半導体記憶装置の備えるメモリセルアレイの製造工程を示すメモリセルアレイの断面図。
第1実施形態に係る半導体記憶装置の備えるメモリセルアレイの製造工程を示すメモリセルアレイの平面図。
第1実施形態に係る半導体記憶装置の備えるメモリセルアレイの製造工程を示すメモリセルアレイの断面図。
第1実施形態に係る半導体記憶装置の備えるメモリセルアレイの製造工程を示すメモリセルアレイの平面図。
第1実施形態に係る半導体記憶装置の備えるメモリセルアレイの製造工程を示すメモリセルアレイの断面図。
第2実施形態に係る半導体記憶装置の備えるメモリセルアレイの平面レイアウトの一例を示す平面図。
図36のXI-XI線に沿ったメモリセルアレイの断面図。
第2実施形態に係る半導体記憶装置の備えるメモリセルアレイの製造工程を示すメモリセルアレイの平面図。
第2実施形態に係る半導体記憶装置の備えるメモリセルアレイの製造工程を示すメモリセルアレイの断面図。
第2実施形態に係る半導体記憶装置の備えるメモリセルアレイの製造工程を示すメモリセルアレイの平面図。
第2実施形態に係る半導体記憶装置の備えるメモリセルアレイの製造工程を示すメモリセルアレイの断面図。
第3実施形態に係る半導体記憶装置の備えるメモリセルアレイの平面レイアウトの一例を示す平面図。
図42のXI-XI線に沿ったメモリセルアレイの断面図。
【発明を実施するための形態】
【0007】
以下、図面を参照して実施形態について説明する。なお、以下の説明において、同一の機能及び構成を有する構成要素については、共通する参照符号を付す。また、共通する参照符号を有する複数の構成要素を区別する場合、当該共通する参照符号に添え字を付して区別する。なお、複数の構成要素について特に区別を要さない場合、当該複数の構成要素には、共通する参照符号のみが付され、添え字は付さない。ここで、添え字は、下付き文字や上付き文字に限らず、例えば、参照符号の末尾に添加される小文字のアルファベット、及び配列を意味するインデックス等を含む。
【0008】
1.第1実施形態
第1実施形態に係る半導体記憶装置1について説明する。以下では、半導体記憶装置1として、メモリセルトランジスタが半導体基板上に三次元に積層された三次元積層型NAND型フラッシュメモリを例に挙げて説明する。
【0009】
1.1 半導体記憶装置の全体構成
まず、図1を参照して、半導体記憶装置1の全体構成の一例について説明する。図1は、半導体記憶装置1の全体構成の一例を示すブロック図である。なお、図1では、各構成要素の接続の一部を矢印線により示しているが、構成要素間の接続はこれらに限定されない。
【0010】
図1に示すように、半導体記憶装置1は、メモリコア部10及び周辺回路部20を含む。
(【0011】以降は省略されています)
この特許をJ-PlatPat(特許庁公式サイト)で参照する
関連特許
キオクシア株式会社
記憶装置
2日前
キオクシア株式会社
記憶装置
今日
キオクシア株式会社
記憶装置
6日前
キオクシア株式会社
記憶装置
今日
キオクシア株式会社
磁気メモリ
1か月前
キオクシア株式会社
半導体装置
6日前
キオクシア株式会社
磁気メモリ
1か月前
キオクシア株式会社
半導体装置
今日
キオクシア株式会社
磁気記憶装置
今日
キオクシア株式会社
情報処理装置
14日前
キオクシア株式会社
磁気記憶装置
今日
キオクシア株式会社
磁気記憶装置
2日前
キオクシア株式会社
通信システム
今日
キオクシア株式会社
磁気記憶装置
2日前
キオクシア株式会社
基板ユニット
2日前
キオクシア株式会社
半導体記憶装置
12日前
キオクシア株式会社
半導体記憶装置
12日前
キオクシア株式会社
メモリシステム
12日前
キオクシア株式会社
メモリデバイス
14日前
キオクシア株式会社
半導体記憶装置
13日前
キオクシア株式会社
メモリデバイス
5日前
キオクシア株式会社
半導体記憶装置
今日
キオクシア株式会社
半導体記憶装置
14日前
キオクシア株式会社
半導体記憶装置
22日前
キオクシア株式会社
メモリシステム
22日前
キオクシア株式会社
メモリシステム
28日前
キオクシア株式会社
半導体記憶装置
29日前
キオクシア株式会社
半導体記憶装置
1か月前
キオクシア株式会社
メモリシステム
1か月前
キオクシア株式会社
半導体製造装置
1か月前
キオクシア株式会社
半導体記憶装置
2か月前
キオクシア株式会社
半導体記憶装置
2か月前
キオクシア株式会社
半導体記憶装置
26日前
キオクシア株式会社
半導体記憶装置
2か月前
キオクシア株式会社
半導体記憶装置
今日
キオクシア株式会社
半導体記憶装置
今日
続きを見る
他の特許を見る