TOP
|
特許
|
意匠
|
商標
特許ウォッチ
Twitter
他の特許を見る
公開番号
2025142666
公報種別
公開特許公報(A)
公開日
2025-10-01
出願番号
2024042154
出願日
2024-03-18
発明の名称
磁気記憶装置
出願人
キオクシア株式会社
代理人
弁理士法人スズエ国際特許事務所
主分類
H10B
61/00 20230101AFI20250924BHJP()
要約
【課題】 隣接する磁気抵抗効果素子間を電気的に的確に分離することが可能な磁気記憶装置を提供する。
【解決手段】 実施形態に係る磁気記憶装置は、下部構造30と、下部構造上に設けられた第1の積層構造10と、下部構造上に設けられた第2の積層構造10と、第1の積層構造の側面に設けられ、ボロン(B)を含有する第1のボロン含有層20と、第2の積層構造の側面に設けられ、ボロン(B)を含有する第2のボロン含有層20と、を備える。第1及び第2の積層構造のそれぞれは、可変の磁化方向を有する第1の磁性層11aと、固定された磁化方向を有する第2の磁性層11bと、第1の磁性層と第2の磁性層との間に設けられた非磁性層11cとを含む基本部分11と、基本部分の下層側に設けられ、導電性を有する下部分12と、基本部分の上層側に設けられ、導電性を有する上部分13と、を含む。
【選択図】図1
特許請求の範囲
【請求項1】
下部構造と、
前記下部構造上に設けられた第1の積層構造と、
前記下部構造上に設けられ、前記第1の積層構造に隣接する第2の積層構造と、
前記第1の積層構造の側面に設けられ、ボロン(B)を含有する第1のボロン含有層と、
前記第2の積層構造の側面に設けられ、ボロン(B)を含有する第2のボロン含有層と、
を備える磁気記憶装置であって、
前記第1及び第2の積層構造のそれぞれは、
可変の磁化方向を有する第1の磁性層と、固定された磁化方向を有する第2の磁性層と、前記第1の磁性層と前記第2の磁性層との間に設けられた非磁性層とを含む基本部分と、
前記基本部分の下層側に設けられ、導電性を有する下部分と、
前記基本部分の上層側に設けられ、導電性を有する上部分と、
を含む
ことを特徴とする磁気記憶装置。
続きを表示(約 1,000 文字)
【請求項2】
前記第1及び第2のボロン含有層は、窒素(N)をさらに含有する
ことを特徴とする請求項1に記載の磁気記憶装置。
【請求項3】
前記第1の磁性層は、鉄(Fe)及びコバルト(Co)から選択された少なくとも1つの元素を含有する
ことを特徴とする請求項1に記載の磁気記憶装置。
【請求項4】
前記第2の磁性層は、鉄(Fe)及びコバルト(Co)から選択された少なくとも1つの元素を含有する
ことを特徴とする請求項1に記載の磁気記憶装置。
【請求項5】
前記第2の磁性層は、プラチナ(Pt)をさらに含有する
ことを特徴とする請求項4に記載の磁気記憶装置。
【請求項6】
前記非磁性層は、マグネシウム(Mg)及び酸素(O)を含有する
ことを特徴とする請求項1に記載の磁気記憶装置。
【請求項7】
前記下部分は、ハフニウム(Hf)、タングステン(W)、チタン(Ti)及びアルミニウム(Al)から選択された少なくとも1つの元素を含有する
ことを特徴とする請求項1に記載の磁気記憶装置。
【請求項8】
前記上部分は、ハフニウム(Hf)、タングステン(W)、チタン(Ti)、アルミニウム(Al)及びルテニウム(Ru)から選択された少なくとも1つの元素を含有する
ことを特徴とする請求項1に記載の磁気記憶装置。
【請求項9】
前記下部構造は、下部絶縁層を含み、
前記下部絶縁層は、
前記第1の積層構造の下の領域に設けられた第1の絶縁部分と、
前記第2の積層構造の下の領域に設けられた第2の絶縁部分と、
前記第1の絶縁部分及び前記第2の絶縁部分の外側の領域に設けられ、前記第1の絶縁部分の上面及び前記第2の絶縁部分の上面よりも低い上面を有する第3の絶縁部分と、
を含む
ことを特徴とする請求項1に記載の磁気記憶装置。
【請求項10】
前記下部構造は、
前記第1の積層構造の下面に接続され、前記第1の絶縁部分に囲まれた側面を有する第1の電極と、
前記第2の積層構造の下面に接続され、前記第2の絶縁部分に囲まれた側面を有する第2の電極と、
をさらに含む
ことを特徴とする請求項9に記載の磁気記憶装置。
(【請求項11】以降は省略されています)
発明の詳細な説明
【技術分野】
【0001】
本発明の実施形態は、磁気記憶装置に関する。
続きを表示(約 1,300 文字)
【背景技術】
【0002】
半導体基板上に複数の磁気抵抗効果素子が集積化された磁気記憶装置が提案されている。
【先行技術文献】
【特許文献】
【0003】
米国特許出願公開第2013/0126995号明細書
【発明の概要】
【発明が解決しようとする課題】
【0004】
隣接する磁気抵抗効果素子間を電気的に的確に分離することが可能な磁気記憶装置を提供する。
【課題を解決するための手段】
【0005】
実施形態に係る磁気記憶装置は、下部構造と、前記下部構造上に設けられた第1の積層構造と、前記下部構造上に設けられ、前記第1の積層構造に隣接する第2の積層構造と、前記第1の積層構造の側面に設けられ、ボロン(B)を含有する第1のボロン含有層と、前記第2の積層構造の側面に設けられ、ボロン(B)を含有する第2のボロン含有層と、を備える磁気記憶装置であって、前記第1及び第2の積層構造のそれぞれは、可変の磁化方向を有する第1の磁性層と、固定された磁化方向を有する第2の磁性層と、前記第1の磁性層と前記第2の磁性層との間に設けられた非磁性層とを含む基本部分と、前記基本部分の下層側に設けられ、導電性を有する下部分と、前記基本部分の上層側に設けられ、導電性を有する上部分と、を含む。
【図面の簡単な説明】
【0006】
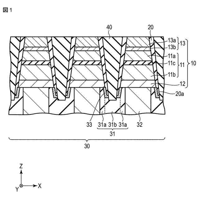
実施形態に係る磁気記憶装置の構成を模式的に示した断面図である。
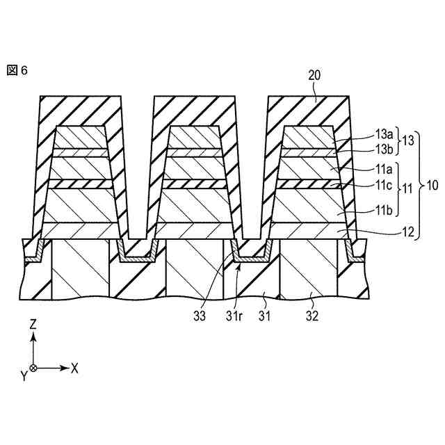
実施形態に係る磁気記憶装置において、積層構造及びボロン含有層のZ方向に垂直な断面を模式的に示した図である。
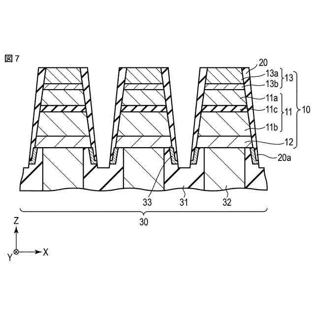
実施形態に係る磁気記憶装置において、電極、下部絶縁層の絶縁部分(積層構造の下の領域に設けられた絶縁部分)、金属含有層及びボロン含有層の延伸部分のZ方向に垂直な断面を模式的に示した図である。
実施形態に係る磁気記憶装置の製造方法の一部を模式的に示した断面図である。
実施形態に係る磁気記憶装置の製造方法の一部を模式的に示した断面図である。
実施形態に係る磁気記憶装置の製造方法の一部を模式的に示した断面図である。
実施形態に係る磁気記憶装置の製造方法の一部を模式的に示した断面図である。
実施形態に係る磁気記憶装置の適用例の構成を模式的に示した斜視図である。
【発明を実施するための形態】
【0007】
以下、図面を参照して実施形態を説明する。
【0008】
図1は、実施形態に係る磁気記憶装置の構成を模式的に示した断面図である。
【0009】
本実施形態に係る磁気記憶装置は、半導体基板(図示せず)上に設けられており、複数の積層構造10と、複数のボロン含有層20と、下部構造30と、上部絶縁層40とを含んでいる。
【0010】
複数の積層構造10は、下部構造30上に設けられており、X方向及びY方向にアレイ状に配置されている。各積層構造10は、複数の層がZ方向に積層された構造を有している。なお、X方向、Y方向及びZ方向は、互いに交差する方向である。具体的には、X方向、Y方向及びZ方向は、互いに直交している。
(【0011】以降は省略されています)
この特許をJ-PlatPat(特許庁公式サイト)で参照する
関連特許
キオクシア株式会社
記憶装置
6日前
キオクシア株式会社
半導体装置
7日前
キオクシア株式会社
半導体装置
7日前
キオクシア株式会社
半導体装置
6日前
キオクシア株式会社
磁気記憶装置
7日前
キオクシア株式会社
半導体記憶装置
8日前
キオクシア株式会社
メモリデバイス
6日前
キオクシア株式会社
半導体記憶装置
7日前
キオクシア株式会社
メモリシステム
7日前
キオクシア株式会社
半導体記憶装置
7日前
キオクシア株式会社
半導体記憶装置
6日前
キオクシア株式会社
半導体記憶装置
6日前
キオクシア株式会社
半導体記憶装置
6日前
キオクシア株式会社
メモリシステム
6日前
キオクシア株式会社
メモリシステム
6日前
キオクシア株式会社
半導体記憶装置
6日前
キオクシア株式会社
半導体記憶装置
6日前
キオクシア株式会社
半導体記憶装置
6日前
キオクシア株式会社
半導体記憶装置
6日前
キオクシア株式会社
メモリデバイス
6日前
キオクシア株式会社
有機分子メモリ
6日前
キオクシア株式会社
メモリシステム
6日前
キオクシア株式会社
半導体記憶装置
6日前
キオクシア株式会社
半導体記憶装置
6日前
キオクシア株式会社
半導体記憶装置
6日前
キオクシア株式会社
磁気メモリデバイス
6日前
キオクシア株式会社
半導体基板試験装置
7日前
キオクシア株式会社
評価方法及び評価装置
6日前
キオクシア株式会社
半導体装置及び記憶媒体
6日前
キオクシア株式会社
送信装置及び半導体装置
6日前
キオクシア株式会社
コントローラ及びホスト
6日前
キオクシア株式会社
半導体装置及び半導体記憶装置
7日前
キオクシア株式会社
半導体記憶装置、メモリシステム
7日前
キオクシア株式会社
撮像装置、および、画像生成方法
7日前
キオクシア株式会社
メモリデバイス及びメモリシステム
7日前
キオクシア株式会社
半導体装置、半導体装置の製造方法
6日前
続きを見る
他の特許を見る