TOP
|
特許
|
意匠
|
商標
特許ウォッチ
Twitter
他の特許を見る
10個以上の画像は省略されています。
公開番号
2025145305
公報種別
公開特許公報(A)
公開日
2025-10-03
出願番号
2024045412
出願日
2024-03-21
発明の名称
半導体記憶装置
出願人
キオクシア株式会社
代理人
弁理士法人鈴榮特許綜合事務所
主分類
H10B
43/40 20230101AFI20250926BHJP()
要約
【課題】半導体記憶装置の歩留まりの低下を抑制する。
【解決手段】実施形態の半導体記憶装置は、メモリセルアレイ、第1部材W1、及び第1部材W1と交差する第1導電体部分30B-2を備え、メモリセルアレイは、ソース線、ソース線よりZ方向の一方側の複数のワード線、及びメモリピラーを有し、第1導電体部分30B-2は、ソース線と同層に含まれ、Z方向の他方側の面がソース線のZ方向の他方側の面と同等の高さを有し、第1部材W1は、複数のワード線を囲むようにZ方向に延伸し、第1導電体部分30B-2の他方側の面の第1高さよりZ方向の他方側に達し、Z方向に沿って一体的に設けられた第1コンタクトLI2と、第1コンタクトLI2の側面のうち、Z方向の一方側での第1コンタクトLI2の一端の第2高さから、Z方向の第1コンタクトLI2の他端よりZ方向の一方側の第3高さまでを覆う第1絶縁膜SP2と、を含む。
【選択図】図8
特許請求の範囲
【請求項1】
第1領域、及び前記第1領域の外周を囲むように設けられた第2領域を有する基板と、
前記第1領域に設けられたメモリセルアレイと、
前記第2領域に設けられた第1部材と、
前記第2領域内で前記第1部材と交差するように設けられた第1導電体部分と、
を備え、
前記メモリセルアレイは、
前記基板の上方に設けられたソース線と、
前記基板の上方、かつ前記ソース線より前記基板の表面と交差する第1方向における一方側で、前記第1方向に互いに離れて設けられた複数のワード線と、
前記複数のワード線と交差するように前記第1方向に延伸して設けられ、前記第1方向の一端が前記ソース線と接続されたメモリピラーと、
を有し、
前記第1導電体部分は、前記ソース線と同層に含まれ、前記第1方向における他方側の面が前記ソース線の前記第1方向における前記他方側の面と同等の高さを有し、前記ソース線と互いに電気的に絶縁され、
前記第1部材は、
前記複数のワード線と互いに離間しつつ、少なくとも前記複数のワード線と前記第1方向における同等の範囲を前記複数のワード線を囲むように前記第1方向に延伸し、前記第1導電体部分の前記他方側の前記面の第1高さより前記第1方向における前記他方側に達し、前記第1方向に沿って一体的に設けられた第1コンタクトと、
前記第1コンタクトの側面のうち、前記第1方向における前記一方側での前記第1コンタクトの一端の第2高さから、前記第1方向における前記第1コンタクトの他端より前記第1方向における前記一方側の第3高さまでを覆い、前記第1方向における前記他方側の端部を前記第3高さで形成する第1絶縁膜と、
を含む、
半導体記憶装置。
続きを表示(約 1,200 文字)
【請求項2】
前記基板は、第1チップ内に設けられ、
前記メモリセルアレイ、前記第1部材、及び前記第1導電体部分は、前記第1方向に前記第1チップと接する第2チップ内に設けられ、
前記第1チップ及び前記第2チップの境界領域に設けられる複数の第1接続パッドをさらに備える、
請求項1記載の半導体記憶装置。
【請求項3】
基板を含む第1チップと、
前記基板の表面と交差する第1方向に前記第1チップと接する第2チップと、
を備え、
前記第2チップは、
ソース線と、前記ソース線より下方で、前記第1方向に互いに離れて設けられた複数のワード線と、前記複数のワード線と交差するように前記第1方向に延伸して設けられ、上端が前記ソース線と接続されたメモリピラーと、を有するメモリセルアレイと、
前記複数のワード線内を前記基板の表面内の第2方向に延伸し、前記第2方向と交差する前記基板の表面内の第3方向に前記複数のワード線を分割する第1部材と
を含み、
前記第1部材は、
前記第1方向に延伸し、前記ソース線より上方に位置する部分を含む第1コンタクトと、
前記第1コンタクトの側面のうち、前記第1コンタクトの下端の高さから、前記ソース線の上面及び下面の間の第1高さまでを覆うように設けられた第1絶縁膜と、
を含む、
半導体記憶装置。
【請求項4】
前記第1コンタクトは、第1部分と、前記第1部分上に設けられた前記第1部分とは材料が異なる第2部分とを含み、
前記第2部分はシリコン層である、
請求項3記載の半導体記憶装置。
【請求項5】
第1領域、及び前記第1領域の外周を囲むように設けられた第2領域を有する基板を含む第1チップと、
前記基板の表面と交差する第1方向に前記第1チップと接する第2チップと、
を備え、
前記第2チップは、
ソース線と、前記ソース線より下方で、前記第1方向に互いに離れて設けられた複数のワード線と、前記複数のワード線と交差するように前記第1方向に延伸して設けられ、上端が前記ソース線と接続されたメモリピラーと、を前記第1領域内に有するメモリセルアレイと、
少なくとも前記複数のワード線と前記第1方向における同等の範囲を前記第1方向に延伸する第1コンタクトを含む第1部材と、
前記ソース線と同層に含まれ、上面が前記ソース線の上面と同等の高さを有し、前記ソース線と互いに電気的に絶縁された第1導電体部分と、
前記第2領域における、前記基板と平行な方向における前記複数のワード線及び前記第1部材より外周側に、上方からみて前記複数のワード線を囲むように設けられ、前記第1導電体部分の上面に接する第2部材と、
を含み、
前記第1コンタクトは、
前記ソース線の前記上面より上方に位置する部分を含む、
半導体記憶装置。
発明の詳細な説明
【技術分野】
【0001】
実施形態は、半導体記憶装置に関する。
続きを表示(約 3,400 文字)
【背景技術】
【0002】
データを不揮発に記憶することが可能な半導体記憶装置として、NAND型フラッシュメモリが知られる。NAND型フラッシュメモリにおいては、高集積化及び大容量化のために3次元のメモリ構造が採用される。
【先行技術文献】
【特許文献】
【0003】
特開2019-160922号公報
特開2022-050233号公報
特開2022-147748号公報
【発明の概要】
【発明が解決しようとする課題】
【0004】
半導体記憶装置の歩留まりの低下を抑制する。
【課題を解決するための手段】
【0005】
実施形態の半導体記憶装置は、第1領域、及び上記第1領域の外周を囲むように設けられた第2領域を有する基板と、上記第1領域に設けられたメモリセルアレイと、上記第2領域に設けられた第1部材と、上記第2領域内で上記第1部材と交差するように設けられた第1導電体部分と、を備え、上記メモリセルアレイは、上記基板の上方に設けられたソース線と、上記基板の上方、かつ上記ソース線より上記基板の表面と交差する第1方向における一方側で、上記第1方向に互いに離れて設けられた複数のワード線と、上記複数のワード線と交差するように上記第1方向に延伸して設けられ、上記第1方向の一端が上記ソース線と接続されたメモリピラーと、を有し、上記第1導電体部分は、上記ソース線と同層に含まれ、上記第1方向における他方側の面が上記ソース線の上記第1方向における上記他方側の面と同等の高さを有し、上記ソース線と互いに電気的に絶縁され、上記第1部材は、上記複数のワード線と互いに離間しつつ、少なくとも上記複数のワード線と上記第1方向における同等の範囲を上記複数のワード線を囲むように上記第1方向に延伸し、上記第1導電体部分の上記他方側の上記面の第1高さより上記第1方向における上記他方側に達し、上記第1方向に沿って一体的に設けられた第1コンタクトと、上記第1コンタクトの側面のうち、上記第1方向における上記一方側での上記第1コンタクトの一端の第2高さから、上記第1方向における上記第1コンタクトの他端より上記第1方向における上記一方側の第3高さまでを覆い、上記第1方向における上記他方側の端部を上記第3高さで形成する第1絶縁膜と、を含む。
【図面の簡単な説明】
【0006】
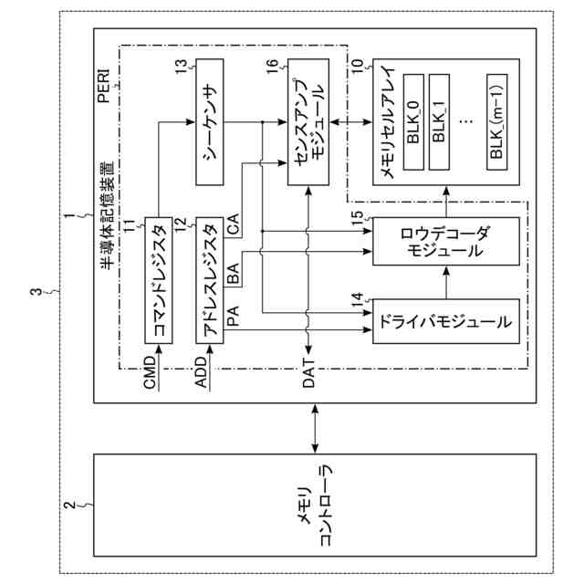
第1実施形態に係る半導体記憶装置を含むメモリシステムの構成の一例を示すブロック図。
第1実施形態に係る半導体記憶装置が備えるメモリセルアレイの回路構成の一例を示す回路図。
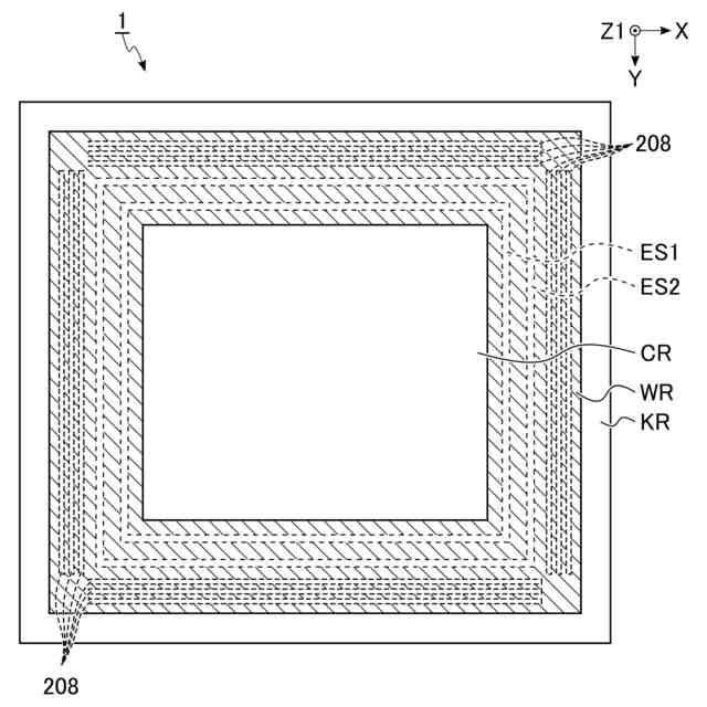
第1実施形態に係る半導体記憶装置の平面レイアウトの一例を示す平面図。
第1実施形態に係る半導体記憶装置が備えるメモリセルアレイの平面レイアウトの一例を示す平面図。
第1実施形態に係る半導体記憶装置が備えるメモリセルアレイの平面レイアウトの一例を示す平面図。
第1実施形態に係る半導体記憶装置のメモリセルアレイの断面構造の一例を示す、図5のVI-VI線に沿った断面図。
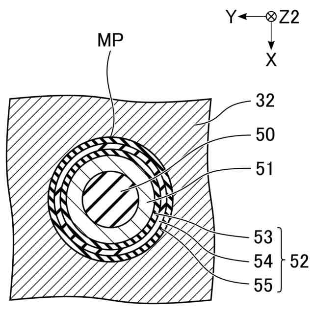
第1実施形態に係る半導体記憶装置のメモリピラーの断面構造の一例を示す、図6のVII-VII線に沿った断面図。
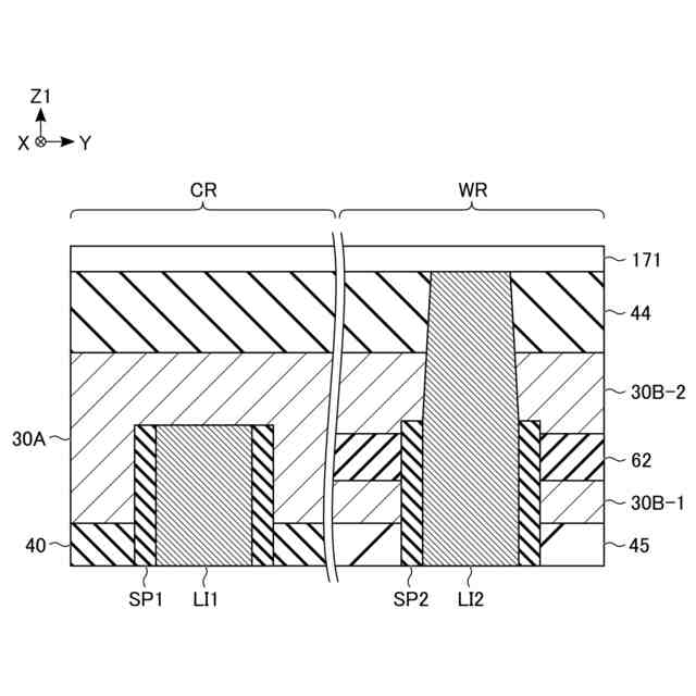
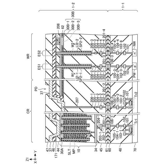
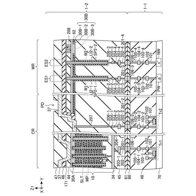
第1実施形態に係る半導体記憶装置の回路領域及び壁領域における断面構造の一例を示す断面図。
第1実施形態に係る半導体記憶装置の封止部及び部材の断面構造の一例を示す断面図。
第1実施形態に係る接続パッドの断面構造の一例を示す断面図。
第1実施形態に係る半導体記憶装置の製造方法の一例を説明するための断面図。
第1実施形態に係る半導体記憶装置の製造方法の一例を説明するための断面図。
第1実施形態に係る半導体記憶装置の製造方法の一例を説明するための断面図。
第1実施形態に係る半導体記憶装置の製造方法の一例を説明するための断面図。
第1実施形態に係る半導体記憶装置の製造方法の一例を説明するための断面図。
第1実施形態に係る半導体記憶装置の製造方法の一例を説明するための断面図。
第1実施形態に係る半導体記憶装置の製造方法の一例を説明するための断面図。
第1実施形態に係る半導体記憶装置の製造方法の一例を説明するための断面図。
第1実施形態に係る半導体記憶装置の製造方法の一例を説明するための断面図。
第1実施形態に係る半導体記憶装置の製造方法の一例を説明するための断面図。
第1実施形態に係る半導体記憶装置の製造方法の一例を説明するための断面図。
第1実施形態の第1変形例に係る半導体記憶装置の平面レイアウトの一例を示す平面図。
第1実施形態の第1変形例に係る半導体記憶装置の封止部の断面構造の一例を示す、図22のXXIII-XXIII線に沿った断面図。
第1実施形態の第2変形例に係る半導体記憶装置の回路領域及び壁領域における断面構造の一例を示す断面図。
第1実施形態の第3変形例に係る半導体記憶装置の封止部の断面構造の一例を示す断面図。
第1実施形態の第3変形例に係る半導体記憶装置の製造方法の一例を説明するための断面図。
第1実施形態の第3変形例に係る半導体記憶装置の製造方法の一例を説明するための断面図。
第1実施形態の第3変形例に係る半導体記憶装置の製造方法の一例を説明するための断面図。
第1実施形態の第3変形例に係る半導体記憶装置の製造方法の一例を説明するための断面図。
第1実施形態の第4変形例に係る半導体記憶装置の封止部の断面構造の一例を示す断面図。
第1実施形態の第4変形例に係る半導体記憶装置の製造方法の一例を説明するための断面図。
第2実施形態に係る半導体記憶装置のメモリセルアレイの断面構造の一例を示す断面図。
第2実施形態に係る半導体記憶装置の回路領域及び壁領域における断面構造の一例を示す断面図。
第2実施形態に係る半導体記憶装置の製造方法の一例を説明するための断面図。
第2実施形態に係る半導体記憶装置の製造方法の一例を説明するための断面図。
第2実施形態の変形例に係る半導体記憶装置のメモリセルアレイの断面構造の一例を示す断面図。
第2実施形態の変形例に係る半導体記憶装置の回路領域及び壁領域における断面構造の一例を示す断面図。
第2実施形態の変形例に係る半導体記憶装置の製造方法の一例を説明するための断面図。
第2実施形態の変形例に係る半導体記憶装置の製造方法の一例を説明するための断面図。
その他の実施形態に係る半導体記憶装置の平面レイアウトの一例を示す平面図。
その他の実施形態に係る半導体記憶装置の回路領域及び壁領域における断面構造の一例を示す、図40のXLI-XLI線に沿った断面図。
その他の実施形態に係る半導体記憶装置の製造方法の一例を説明するための断面図。
【発明を実施するための形態】
【0007】
以下に、実施形態について図面を参照して説明する。なお、図面の寸法及び比率は、必ずしも現実のものと同一とは限らない。以下の説明において、略同一の機能及び構成を有する構成要素については、同一符号を付す。また、同様の構成を有する要素同士を特に区別する場合、同一符号の末尾に、互いに異なる文字又は数字を付加する場合がある。
【0008】
1 第1実施形態
以下に、第1実施形態に係る半導体記憶装置について説明する。
【0009】
1.1 構成
第1実施形態に係る半導体記憶装置の構成について説明する。
【0010】
1.1.1 メモリシステム
まず、メモリシステムの構成の例について、図1を用いて説明する。図1は、第1実施形態に係る半導体記憶装置を含むメモリシステムの構成の一例を示すブロック図である。
(【0011】以降は省略されています)
この特許をJ-PlatPat(特許庁公式サイト)で参照する
関連特許
キオクシア株式会社
記憶装置
4日前
キオクシア株式会社
記憶装置
2日前
キオクシア株式会社
記憶装置
6日前
キオクシア株式会社
記憶装置
4日前
キオクシア株式会社
半導体装置
2日前
キオクシア株式会社
半導体装置
3日前
キオクシア株式会社
半導体装置
3日前
キオクシア株式会社
半導体装置
4日前
キオクシア株式会社
磁気記憶装置
6日前
キオクシア株式会社
通信システム
4日前
キオクシア株式会社
磁気記憶装置
3日前
キオクシア株式会社
磁気記憶装置
4日前
キオクシア株式会社
基板ユニット
6日前
キオクシア株式会社
磁気記憶装置
6日前
キオクシア株式会社
磁気記憶装置
4日前
キオクシア株式会社
半導体記憶装置
2日前
キオクシア株式会社
メモリデバイス
9日前
キオクシア株式会社
メモリデバイス
4日前
キオクシア株式会社
半導体記憶装置
4日前
キオクシア株式会社
半導体記憶装置
6日前
キオクシア株式会社
半導体記憶装置
2日前
キオクシア株式会社
半導体記憶装置
4日前
キオクシア株式会社
半導体記憶装置
6日前
キオクシア株式会社
半導体記憶装置
3日前
キオクシア株式会社
メモリシステム
3日前
キオクシア株式会社
半導体記憶装置
3日前
キオクシア株式会社
半導体記憶装置
6日前
キオクシア株式会社
半導体記憶装置
2日前
キオクシア株式会社
半導体記憶装置
2日前
キオクシア株式会社
半導体記憶装置
2日前
キオクシア株式会社
メモリシステム
2日前
キオクシア株式会社
半導体記憶装置
2日前
キオクシア株式会社
有機分子メモリ
2日前
キオクシア株式会社
半導体記憶装置
2日前
キオクシア株式会社
半導体記憶装置
4日前
キオクシア株式会社
半導体記憶装置
2日前
続きを見る
他の特許を見る