TOP
|
特許
|
意匠
|
商標
特許ウォッチ
Twitter
他の特許を見る
10個以上の画像は省略されています。
公開番号
2025144014
公報種別
公開特許公報(A)
公開日
2025-10-02
出願番号
2024043567
出願日
2024-03-19
発明の名称
半導体装置
出願人
キオクシア株式会社
代理人
弁理士法人きさらぎ国際特許事務所
主分類
H10B
43/50 20230101AFI20250925BHJP()
要約
【課題】好適に製造可能な半導体装置を提供する。
【解決手段】半導体装置は、第1方向(X)及び第2方向(Y)に並ぶ複数のダイ領域を含む第1ウェハと、第1ウェハ上のデバイス領域に設けられ、積層方向(Z)に交互に積層された複数の導電層及び複数の絶縁層と、第1ウェハ上のエッジ領域に設けられ、積層方向に並ぶ複数の第1の層及び複数の第2の層と、を備える。複数のダイ領域のうちデバイス領域内に位置する複数の第1ダイ領域は、複数の導電層の一部が設けられたテラス領域をそれぞれ含む。複数のダイ領域のうち複数の第2ダイ領域が積層方向に見てエッジ領域と重なる領域内で、複数の第1ダイ領域がそれぞれテラス領域の少なくとも一部領域を含む位置に対応する複数の第2ダイ領域内の位置に積層方向に並んで設けられた複数の第1の層の数は、テラス領域の少なくとも一部領域を含む位置に設けられて積層方向に並ぶ複数の導電層の数よりも大きい。
【選択図】図23
特許請求の範囲
【請求項1】
第1方向、及び、前記第1方向と交差する第2方向に並ぶ複数のダイ領域を含む第1ウェハと、
前記第1ウェハの外縁から所定の距離の範囲外にある前記第1ウェハ上のデバイス領域に設けられ、前記第1方向及び前記第2方向と交差する積層方向に交互に積層された複数の導電層及び複数の絶縁層と、
前記第1ウェハの前記外縁から前記所定の距離の範囲内にある前記第1ウェハ上のエッジ領域に設けられ、前記複数の導電層に対応して前記積層方向に並ぶ複数の第1の層、及び、前記複数の絶縁層に対応して前記積層方向に並ぶ複数の第2の層と、を備え、
前記複数のダイ領域のうち前記デバイス領域内に位置する複数の第1ダイ領域は、前記複数の導電層の一部が設けられ、他の一部が設けられていないテラス領域をそれぞれ含み、
前記複数のダイ領域のうち複数の第2ダイ領域が前記積層方向に見て前記エッジ領域と重なる領域内で、前記複数の第1ダイ領域がそれぞれ前記テラス領域の少なくとも一部領域を含む位置に対応する前記複数の第2ダイ領域内の位置に前記積層方向に並んで設けられた前記複数の第1の層の数は、前記テラス領域の少なくとも一部領域を含む前記位置に設けられて前記積層方向に並ぶ前記複数の導電層の数よりも大きい
半導体装置。
続きを表示(約 2,500 文字)
【請求項2】
前記複数の第1ダイ領域は、
前記第1方向に離間し、前記積層方向に延伸し、前記複数の導電層とそれぞれ対向する第1半導体柱及び第2半導体柱と、
前記複数の導電層及び前記第1半導体柱の間に設けられた第1電荷蓄積膜と、
前記複数の導電層及び前記第2半導体柱の間に設けられた第2電荷蓄積膜と
を備え、
前記複数の導電層の少なくとも一部は、
前記第1半導体柱と対向する第1電極部と、
前記第2半導体柱と対向する第2電極部と、
前記第1電極部及び前記第2電極部の間の前記テラス領域に設けられたテラス部と、
前記テラス部と前記第2方向に並んで前記第1電極部及び前記第2電極部の間に設けられ、前記第1電極部及び前記第2電極部を接続する接続部と
を備える請求項1記載の半導体装置。
【請求項3】
前記積層方向に並ぶ第1構造及び第2構造が前記デバイス領域に設けられ、
前記第1構造は、前記積層方向に交互に積層された前記複数の導電層の一部、及び、前記複数の絶縁層の一部と、前記積層方向に延伸し前記複数の導電層の前記一部と対向する第1サブ半導体柱と、を含み、
前記第2構造は、前記積層方向に交互に積層された前記複数の導電層の他の一部、及び、前記複数の絶縁層の他の一部と、前記積層方向に延伸し前記複数の導電層の前記他の一部と対向し前記第1サブ半導体柱に電気的に接続された第2サブ半導体柱と、を含み、
前記複数の導電層の前記一部に対応する前記複数の第1の層の一部と、前記複数の絶縁層の前記一部に対応する前記複数の第2の層の一部と、を含む第3構造と、
前記複数の導電層の前記他の一部に対応する前記複数の第1の層の他の一部と、前記複数の絶縁層の前記他の一部に対応する前記複数の第2の層の他の一部と、を含む第4構造と
が前記エッジ領域に設けられ、
前記テラス領域に設けられた前記複数の導電層の前記一部、及び、前記複数の導電層の前記他の一部のテラス部は、前記積層方向の一方側から見て、前記複数の導電層のいずれとも重ならず、
前記複数の第2ダイ領域内の前記位置に設けられた前記複数の第1の層の前記一部のテラス部は、前記積層方向の前記一方側から見て、前記複数の第1の層の前記他の一部のいずれかの層と重なる
請求項1記載の半導体装置。
【請求項4】
前記積層方向に並ぶ第1構造及び第2構造が前記デバイス領域に設けられ、
前記第1構造は、前記積層方向に交互に積層された前記複数の導電層の一部、及び、前記複数の絶縁層の一部と、前記積層方向に延伸し前記複数の導電層の前記一部と対向する第1サブ半導体柱と、を含み、
前記第2構造は、前記積層方向に交互に積層された前記複数の導電層の他の一部、及び、前記複数の絶縁層の他の一部と、前記積層方向に延伸し前記複数の導電層の前記他の一部と対向し前記第1サブ半導体柱に電気的に接続された第2サブ半導体柱と、を含み、
前記複数の導電層の前記一部に対応する前記複数の第1の層の一部と、前記複数の絶縁層の前記一部に対応する前記複数の第2の層の一部と、を含む第3構造と、
前記複数の導電層の前記他の一部に対応する前記複数の第1の層の他の一部と、前記複数の絶縁層の前記他の一部に対応する前記複数の第2の層の他の一部と、を含む第4構造と
が前記エッジ領域に設けられ、
前記テラス領域に設けられた前記複数の導電層の前記一部、及び、前記複数の導電層の前記他の一部のテラス部は、前記積層方向の一方側から見て、前記複数の導電層のいずれとも重ならず、
前記複数の第2ダイ領域内の前記位置に設けられた前記複数の第1の層の前記一部、及び、前記複数の第1の層の前記他の一部のテラス部は、前記積層方向の前記一方側から見て、前記複数の第1の層のいずれとも重ならない
請求項1記載の半導体装置。
【請求項5】
第1方向、及び、前記第1方向と交差する第2方向に並ぶ複数のダイ領域を含む第1ウェハと、
前記第1ウェハの外縁から所定の距離の範囲外にある前記第1ウェハ上のデバイス領域に設けられ、前記第1方向及び前記第2方向と交差する積層方向に交互に積層された複数の導電層及び複数の絶縁層と、
前記第1ウェハの前記外縁から前記所定の距離の範囲内にある前記第1ウェハ上のエッジ領域に設けられ、前記複数の導電層に対応して前記積層方向に並ぶ複数の第1の層、及び、前記複数の絶縁層に対応して前記積層方向に並ぶ複数の第2の層と、を備え、
前記複数のダイ領域のうち前記デバイス領域内に位置する複数の第1ダイ領域は、前記第1方向又は前記第2方向に並び、前記第2方向に交互に並ぶ複数のフィンガー構造及び複数のフィンガー間構造と、前記積層方向から見て前記複数のフィンガー構造及び前記複数のフィンガー間構造と重なる位置に設けられたソース線と、をそれぞれ備える第1プレーン領域及び第2プレーン領域をそれぞれ含み、
前記複数のフィンガー構造は、それぞれ、前記複数の導電層及び前記複数の絶縁層と、前記積層方向に延伸し、前記複数の導電層と対向し、前記ソース線に共通に接続された複数の半導体柱と、を備え、
前記第1プレーン領域及び前記第2プレーン領域の間で、前記複数の導電層、前記複数の絶縁層及び前記ソース線が前記第1方向又は前記第2方向に分断され、
前記複数のダイ領域のうち複数の第2ダイ領域が前記積層方向に見て前記エッジ領域と重なる領域内で、前記複数の第1ダイ領域がそれぞれ前記第1プレーン領域及び前記第2プレーン領域を含む位置に対応する前記複数の第2ダイ領域内の位置をそれぞれ第1領域及び第2領域としたとき、
前記第1領域及び前記第2領域は、それぞれ、前記複数の第1の層及び前記複数の第2の層を備え、
前記第1領域及び前記第2領域の間で、前記複数の第1の層及び前記複数の第2の層の少なくとも一部が連続する
半導体装置。
発明の詳細な説明
【技術分野】
【0001】
本実施形態は、半導体装置に関する。
続きを表示(約 4,700 文字)
【背景技術】
【0002】
積層方向に交互に積層された複数の導電層及び複数の絶縁層と、積層方向に延伸し複数の導電層に対向する半導体層と、複数の導電層と半導体層との間に設けられたゲート絶縁膜と、を備える半導体装置が知られている。ゲート絶縁膜は、例えば、窒化シリコン(SiN)等の絶縁性の電荷蓄積膜やフローティングゲート等の導電性の電荷蓄積膜等の、データを記憶可能なメモリ部を備える。
【先行技術文献】
【特許文献】
【0003】
特開2022-60704号公報
特開2023-137395号公報
特開2022-104020号公報
【発明の概要】
【発明が解決しようとする課題】
【0004】
好適に製造可能な半導体装置を提供する。
【課題を解決するための手段】
【0005】
一の実施形態に係る半導体装置は、第1方向、及び、第1方向と交差する第2方向に並ぶ複数のダイ領域を含む第1ウェハと、第1ウェハの外縁から所定の距離の範囲外にある第1ウェハ上のデバイス領域に設けられ、第1方向及び第2方向と交差する積層方向に交互に積層された複数の導電層及び複数の絶縁層と、第1ウェハの外縁から所定の距離の範囲内にある第1ウェハ上のエッジ領域に設けられ、複数の導電層に対応して積層方向に並ぶ複数の第1の層、及び、複数の絶縁層に対応して積層方向に並ぶ複数の第2の層と、を備える。複数のダイ領域のうちデバイス領域内に位置する複数の第1ダイ領域は、複数の導電層の一部が設けられ、他の一部が設けられていないテラス領域をそれぞれ含む。複数のダイ領域のうち複数の第2ダイ領域が積層方向に見てエッジ領域と重なる領域内で、複数の第1ダイ領域がそれぞれテラス領域の少なくとも一部領域を含む位置に対応する複数の第2ダイ領域内の位置に積層方向に並んで設けられた複数の第1の層の数は、テラス領域の少なくとも一部領域を含む位置に設けられて積層方向に並ぶ複数の導電層の数よりも大きい。
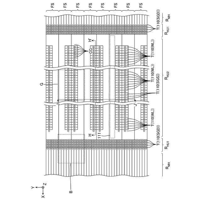
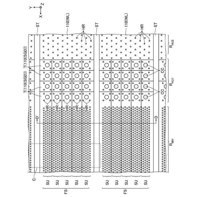
【図面の簡単な説明】
【0006】
第1実施形態に係る半導体記憶装置の構成を示す模式的な斜視図である。
同半導体記憶装置の構成を示す模式的な分解斜視図である。
同半導体記憶装置の一部の構成を示す模式的な下面図である。
同半導体記憶装置の一部の構成を示す模式的な下面図である。
同半導体記憶装置の一部の構成を示す模式的な下面図である。
同半導体記憶装置の一部の構成を示す模式的な下面図である。
同半導体記憶装置の一部の構成を示す模式的な下面図である。
同半導体記憶装置の一部の構成を示す模式的な下面図である。
同半導体記憶装置の一部の構成を示す模式的な断面図である。
同半導体記憶装置の一部の構成を示す模式的な断面図である。
同半導体記憶装置の一部の構成を示す模式的な断面図である。
同半導体記憶装置の一部の構成を示す模式的な断面図である。
同半導体記憶装置の一部の構成を示す模式的な下面図である。
同半導体記憶装置の一部の構成を示す模式的な断面図である。
同半導体記憶装置の一部の構成を示す模式的な断面図である。
同半導体記憶装置の一部の構成を示す模式的な断面図である。
同半導体記憶装置の一部の構成を示す模式的な断面図である。
同半導体記憶装置の一部の構成を示す模式的な断面図である。
同半導体記憶装置の一部の構成を示す模式的な下面図である。
同半導体記憶装置の一部の構成を示す模式的な断面図である。
同半導体記憶装置の一部の構成を示す模式的な断面図である。
同半導体記憶装置の一部の構成を示す模式的な下面図である。
同半導体記憶装置の一部の構成を示す模式的な断面図である。
同半導体記憶装置の一部の構成を示す模式的な断面図である。
同半導体記憶装置の一部の構成を示す模式的な断面図である。
同半導体記憶装置の一部の構成を示す模式的な断面図である。
同半導体記憶装置の一部の構成を示す模式的な断面図である。
同半導体記憶装置の製造方法について説明するための模式的な断面図である。
同製造方法について説明するための模式的な断面図である。
同製造方法について説明するための模式的な断面図である。
同製造方法について説明するための模式的な下面図である。
同製造方法について説明するための模式的な下面図である。
同製造方法について説明するための模式的な断面図である。
同製造方法について説明するための模式的な断面図である。
同製造方法について説明するための模式的な断面図である。
同製造方法について説明するための模式的な断面図である。
同製造方法について説明するための模式的な断面図である。
同製造方法について説明するための模式的な断面図である。
同製造方法について説明するための模式的な断面図である。
同製造方法について説明するための模式的な断面図である。
同製造方法について説明するための模式的な断面図である。
同製造方法について説明するための模式的な断面図である。
同製造方法について説明するための模式的な断面図である。
同製造方法について説明するための模式的な断面図である。
同製造方法について説明するための模式的な断面図である。
同製造方法について説明するための模式的な斜視図である。
同製造方法について説明するための模式的な斜視図である。
同製造方法について説明するための模式的な断面図である。
同製造方法について説明するための模式的な断面図である。
同製造方法について説明するための模式的な断面図である。
同製造方法について説明するための模式的な断面図である。
同製造方法について説明するための模式的な断面図である。
同製造方法について説明するための模式的な断面図である。
同製造方法について説明するための模式的な断面図である。
同製造方法について説明するための模式的な断面図である。
同製造方法について説明するための模式的な断面図である。
同製造方法について説明するための模式的な断面図である。
同製造方法について説明するための模式的な断面図である。
同製造方法について説明するための模式的な断面図である。
同製造方法について説明するための模式的な断面図である。
同製造方法について説明するための模式的な断面図である。
同製造方法について説明するための模式的な断面図である。
同製造方法について説明するための模式的な断面図である。
同製造方法について説明するための模式的な断面図である。
同製造方法について説明するための模式的な断面図である。
同製造方法について説明するための模式的な断面図である。
同製造方法について説明するための模式的な断面図である。
同製造方法について説明するための模式的な断面図である。
同製造方法について説明するための模式的な断面図である。
同製造方法について説明するための模式的な断面図である。
同製造方法について説明するための模式的な断面図である。
同製造方法について説明するための模式的な断面図である。
比較例に係る半導体記憶装置について説明するための模式的な断面図である。
比較例に係る半導体記憶装置について説明するための模式的な断面図である。
比較例に係る半導体記憶装置について説明するための模式的な断面図である。
比較例に係る半導体記憶装置について説明するための模式的な断面図である。
第1実施形態に係る半導体記憶装置について説明するための模式的な断面図である。
第1実施形態に係る半導体記憶装置について説明するための模式的な断面図である。
第1実施形態に係る半導体記憶装置について説明するための模式的な断面図である。
第2実施形態に係る半導体記憶装置の一部の構成を示す模式的な断面図である。
第2実施形態に係る半導体記憶装置の一部の構成を示す模式的な断面図である。
第2実施形態に係る半導体記憶装置の一部の構成を示す模式的な断面図である。
第2実施形態に係る半導体記憶装置の一部の構成を示す模式的な断面図である。
第3実施形態に係る半導体記憶装置の一部の構成を示す模式的な断面図である。
第4実施形態に係る製造方法について説明するための模式的な斜視図である。
第4実施形態に係る製造方法について説明するための模式的な断面図である。
第5実施形態に係る半導体記憶装置の一部の構成を示す模式的な断面図である。
第5実施形態に係る半導体記憶装置の一部の構成を示す模式的な断面図である。
第5実施形態に係る半導体記憶装置の一部の構成を示す模式的な断面図である。
第5実施形態に係る半導体記憶装置の一部の構成を示す模式的な断面図である。
【発明を実施するための形態】
【0007】
次に、実施形態に係る半導体装置を、図面を参照して詳細に説明する。尚、以下の実施形態はあくまでも一例であり、本発明を限定する意図で示されるものではない。また、以下の図面は模式的なものであり、説明の都合上、一部の構成等が省略される場合がある。また、複数の実施形態について共通する部分には同一の符号を付し、説明を省略する場合がある。
【0008】
また、本明細書において、第1の構成が第2の構成に「電気的に接続されている」と言った場合、第1の構成は第2の構成に直接接続されていても良いし、第1の構成が第2の構成に配線、半導体部材又はトランジスタ等を介して接続されていても良い。例えば、3つのトランジスタを直列に接続した場合には、2つ目のトランジスタがOFF状態であったとしても、1つ目のトランジスタは3つ目のトランジスタに「電気的に接続」されている。
【0009】
また、本明細書においては、基板の表面に対して平行な所定の方向をX方向、基板の表面に対して平行で、X方向と垂直な方向をY方向、基板の表面に対して垂直な方向をZ方向と呼ぶ。
【0010】
また、本明細書においては、基板の表面と交差する方向を積層方向と呼ぶ場合がある。また、積層方向と交差する所定の面に沿った方向を第1方向、この面に沿って第1方向と交差する方向を第2方向と呼ぶことがある。積層方向は、Z方向と一致していても良いし、一致していなくても良い。また、第1方向及び第2方向は、X方向及びY方向のいずれかと対応していても良いし、対応していなくても良い。
(【0011】以降は省略されています)
この特許をJ-PlatPat(特許庁公式サイト)で参照する
関連特許
キオクシア株式会社
記憶装置
4日前
キオクシア株式会社
記憶装置
6日前
キオクシア株式会社
記憶装置
4日前
キオクシア株式会社
記憶装置
10日前
キオクシア株式会社
記憶装置
2日前
キオクシア株式会社
半導体装置
4日前
キオクシア株式会社
半導体装置
3日前
キオクシア株式会社
半導体装置
2日前
キオクシア株式会社
磁気メモリ
1か月前
キオクシア株式会社
半導体装置
3日前
キオクシア株式会社
半導体装置
10日前
キオクシア株式会社
情報処理装置
18日前
キオクシア株式会社
磁気記憶装置
6日前
キオクシア株式会社
通信システム
4日前
キオクシア株式会社
基板ユニット
6日前
キオクシア株式会社
磁気記憶装置
4日前
キオクシア株式会社
磁気記憶装置
3日前
キオクシア株式会社
磁気記憶装置
4日前
キオクシア株式会社
磁気記憶装置
6日前
キオクシア株式会社
半導体記憶装置
3日前
キオクシア株式会社
半導体記憶装置
26日前
キオクシア株式会社
半導体記憶装置
4日前
キオクシア株式会社
半導体記憶装置
4日前
キオクシア株式会社
メモリデバイス
4日前
キオクシア株式会社
メモリシステム
3日前
キオクシア株式会社
メモリデバイス
18日前
キオクシア株式会社
半導体記憶装置
18日前
キオクシア株式会社
半導体記憶装置
4日前
キオクシア株式会社
メモリシステム
26日前
キオクシア株式会社
半導体記憶装置
6日前
キオクシア株式会社
半導体記憶装置
6日前
キオクシア株式会社
半導体記憶装置
6日前
キオクシア株式会社
半導体記憶装置
6日前
キオクシア株式会社
メモリデバイス
9日前
キオクシア株式会社
半導体記憶装置
17日前
キオクシア株式会社
半導体記憶装置
16日前
続きを見る
他の特許を見る