TOP
|
特許
|
意匠
|
商標
特許ウォッチ
Twitter
他の特許を見る
10個以上の画像は省略されています。
公開番号
2025144091
公報種別
公開特許公報(A)
公開日
2025-10-02
出願番号
2024043700
出願日
2024-03-19
発明の名称
撮像装置、および、画像生成方法
出願人
キオクシア株式会社
代理人
弁理士法人志賀国際特許事務所
主分類
G01T
1/16 20060101AFI20250925BHJP(測定;試験)
要約
【課題】装置の製造を簡略化しつつ、高精度に再構成像を取得することができる、撮像装置、および、画像生成方法を提供する。
【解決手段】撮像装置は、像検出器14と制御解析部31を備える。像検出器14は、第1方向に延在するライン状画素141が配置された第1画素層140、第2方向に延在するライン状画素151が配置された第2画素層150、第3方向に延在する複数のライン状画素161が配置された第3画素層160を備える。制御解析部31は、ライン状画素141から出力される第1検出強度プロファイルから第1変形部を、ライン状画素151から出力される第2検出強度プロファイルから第2変形部を、ライン状画素161から出力される第3検出強度プロファイルから第3変形部をそれぞれ抽出し、変形部のセットを作成する。変形部のセットに基づき小領域像を再構成後に重畳して、被検体の像を生成する。
【選択図】図1
特許請求の範囲
【請求項1】
被検体を保持するステージと、
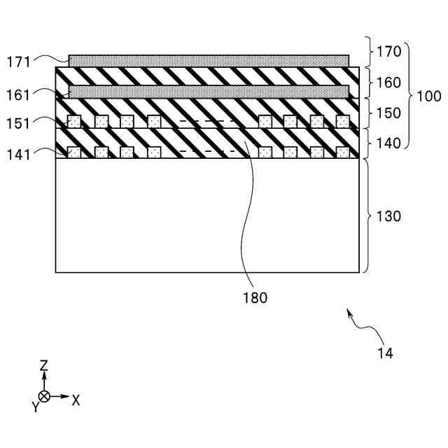
第1画素層と第2画素層と第3画素層を、絶縁膜を介して順に積層してなる検出器と、
前記被検体を透過する撮像光を前記検出器の検出体に結像させる結像光学部材と、
前記検出器で検出された前記撮像光の強度である検出強度から前記被検体の像を再構成する画像処理部と、を備え、
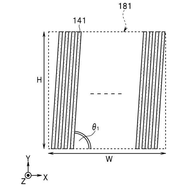
前記第1画素層は、第1方向に延在するライン状の受光面を有する複数の第1ライン状画素を備え、前記複数の第1ライン状画素は、前記第1画素層と平行な面内に等間隔に並べて配置されており、
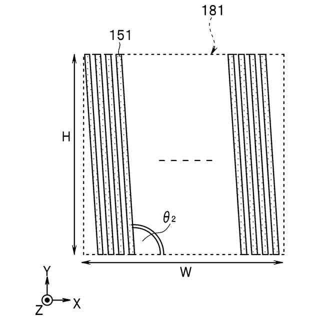
前記第2画素層は、第2方向に延在するライン状の受光面を有する複数の第2ライン状画素を備え、前記複数の第2ライン状画素は、前記第2画素層と平行な面内に等間隔に並べて配置されており、
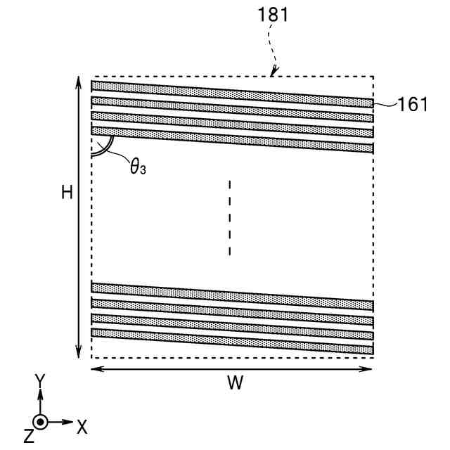
前記第3画素層は、第3方向に延在するライン状の受光面を有する複数の第3ライン状画素を備え、前記複数の第3ライン状画素は、前記第3画素層と平行な面内に等間隔に並べて配置されており、
前記第1方向と、前記第2方向と、前記第3方向は、それぞれ異なる方向であり、
前記検出器は、前記第1画素層にて検出された前記検出強度である第1検出強度プロファイルと、前記第2画素層にて検出された前記検出強度である第2検出強度プロファイルと、前記第3画素層にて検出された前記検出強度である第3検出強度プロファイルを出力し、
前記画像処理部は、
前記第1検出強度プロファイルから1つ以上の第1変形部を抽出し、前記第2検出強度プロファイルから1つ以上の第2変形部を抽出し、前記第3検出強度プロファイルから1つ以上の第3変形部を抽出し、
前記第1変形部の1つと、前記第2変形部の1つと、前記第3変形部の1つからなる変形部セットを1つ以上作成し、
前記変形部セットのそれぞれについて、各前記変形部セットに含まれる前記1から前記第3変形部に基づき小領域像を再構成し、
再構成された全ての前記小領域像を重ね合わせて前記被検体の像を生成する、撮像装置。
続きを表示(約 3,300 文字)
【請求項2】
前記検出器は、第4画素層をさらに具備し、前記第4画素層にて検出された前記検出強度である第4検出強度プロファイルを出力し、
前記第4画素層は、第4方向に延在するライン状の受光面を有する複数の第4ライン状画素を備え、前記複数の第4ライン状画素は、前記第4画素層と平行な面内に等間隔に並べて配置されており、
前記第4方向は、前記第1方向、前記第2方向、前記第3方向のいずれとも異なる方向であり、
前記画像処理部は、
前記第4検出強度プロファイルから1つ以上の第4変形部を抽出し、
前記第1変形部の1つと前記第2変形部の1つからなる第1変形部ペアを1つ以上生成し、前記第3変形部の1つと前記第4変形部の1つからなる第2変形部ペアを1つ以上生成し、
それぞれの前記第1変形部ペアについて、起源となる第1小領域像の第1重心座標を算出し、
それぞれの前記第2変形部ペアについて、起源となる第2小領域像の第2重心座標を算出し、
前記第1重心座標と前記第2重心座標が略等しい前記第1変形部ペアと前記第2変形部ペアに含まれる、前記第1変形部、前記第2変形部、前記第3変形部、前記第4変形部により、前記変形部セットを作成する、
請求項1に記載の撮像装置。
【請求項3】
前記第1方向と前記第2方向とがなす第1挟角と、前記第3方向と前記第4方向とがなす第2挟角とが等しくなるように、前記第4方向が設定されている、請求項2に記載の撮像装置。
【請求項4】
前記画像処理部は、
前記第1検出強度プロファイルと前記第2検出強度プロファイルに共通する第1周期構造プロファイルを抽出し、
前記第1検出強度プロファイルと前記第2検出強度プロファイルから前記第1周期構造プロファイルを差し引いて第1差分プロファイルおよび第2差分プロファイルを生成し、
前記第3検出強度プロファイルと前記第4検出強度プロファイルに共通する第2周期構造プロファイルを抽出し、
前記第3検出強度プロファイルと前記第4検出強度プロファイルから前記第2周期構造プロファイルを差し引いて第3差分プロファイルおよび第4差分プロファイルを生成し、
前記第1から前記第4差分プロファイルを用いて、前記小領域像を再構成し、
前記第1周期構造プロファイルおよび前記第2周期構造プロファイルを用いて周期像を再構成し、
再構成されたすべての前記小領域像と前記周期像とを重ね合わせて前記被検体の像を生成する、請求項2に記載の撮像装置。
【請求項5】
第1画素層と第2画素層と第3画素層が絶縁膜を介して順に積層され、前記第1画素層には、第1方向に延在するライン状の受光面を有する複数の第1ライン状画素を、前記第1画素層と平行な面内に等間隔に並べて配置し、前記第2画素層には、第2方向に延在するライン状の受光面を有する複数の第2ライン状画素を、前記第2画素層と平行な面内に等間隔に並べて配置し、前記第3画素層には、第3方向に延在するライン状の受光面を有する複数の第3ライン状画素を、前記第3画素層と平行な面内に等間隔に並べて配置してなる検出器によって出力された、前記第1画素層にて検出された被検体を透過する撮像光の強度である第1検出強度プロファイルと、前記第2画素層にて検出された前記被検体を透過する前記撮像光の強度である第2検出強度プロファイルと、前記第3画素層にて検出された前記被検体を透過する前記撮像光の強度である第3検出強度プロファイルに基づき、
前記第1検出強度プロファイルから1つ以上の第1変形部を抽出し、前記第2検出強度プロファイルから1つ以上の第2変形部を抽出し、前記第3検出強度プロファイルから1つ以上の第3変形部を抽出し、
前記第1変形部の1つと、前記第2変形部の1つと、前記第3変形部の1つからなる変形部セットを1つ以上作成し、
前記変形部セットのそれぞれについて、各前記変形部セットに含まれる前記第1から前記第3変形部に基づき小領域像を再構成し、
再構成された全ての前記小領域像を重ね合わせて前記被検体の像を生成する、画像生成方法。
【請求項6】
任意像を検出する撮像装置であって、
検出領域内に配列したライン状画素配列を具備し、
前記ライン状画素配列のライン方向は少なくとも第1のライン方向、第2のライン方向、第3のライン方向の3つの方向であり、前記第1のライン方向と前記第2のライン方向は、前記ライン方向の数に1を減じた本数以下であり2本以上の前記検出領域の中心を通る直線で前記中心を軸とした回転方向を均等分割する方向(均等分割方向)の一つである第1の均等分割方向を挟み、前記第1の均等分割方向とは異なる第2の均等分割方向に対する前記第3のライン方向の角度が前記第1の均等分割方向と前記第1のライン方向のなす角以下であり、
前記第1のライン方向の前記ライン状画素配列による第1検出強度プロファイルと、前記第2のライン方向の前記ライン状画素配列による第2検出強度プロファイルと、前記第3のライン方向の前記ライン状画素配列による第3検出強度プロファイルを取得する機能を具備し、
前記第1検出強度プロファイルの一部に存在する第1変形部を抽出し、前記第1検出強度プロファイルの前記第1変形部に相当する前記検出領域における小領域像による、前記第2検出強度プロファイルの第2変形部と、前記第3検出強度プロファイルの第3変形部を抽出し、前記第1検出強度プロファイルの前記第1変形部と前記第2検出強度プロファイルの前記第2変形部と前記第3検出強度プロファイルの前記第3変形部の組み合わせから、前記小領域像を再構成する機能を具備し、
再構成された全ての前記小領域像を重ね合わせた像を出力する機構を具備する撮像装置。
【請求項7】
前記第1のライン方向と、前記第2のライン方向のなす角は、前記ライン状画素のラインピッチの2倍を、前記第1のライン方向と第2のライン方向のなす角の半分の角度方向における前記検出領域の幅にて除した値の逆正弦の2倍以上であり、前記ライン状画素の前記ラインピッチの10倍を、前記検出領域の前記なす角の半分の角度方向の直線の方向の幅にて除した値の逆正弦の2倍以下である、請求項6に記載の撮像装置。
【請求項8】
前記第1のライン方向、前記第2のライン方向、前記第3のライン方向とは異なる方向である第4のライン方向の前記ライン状画素配列による第4検出強度プロファイルを取得する機能を具備し、
前記第1検出強度プロファイルの一部に存在する前記第1変形部を抽出し、前記第1検出強度プロファイルの前記第1変形部に相当する前記検出領域における前記小領域像による、前記第2検出強度プロファイルの前記第2変形部と、前記第3検出強度プロファイルの前記第3変形部と、前記第4検出強度プロファイルの第4変形部を抽出し、前記第1検出強度プロファイルの前記第1変形部と前記第2検出強度プロファイルの前記第2変形部と、前記第3検出強度プロファイルの前記第3変形部と、前記第4検出強度プロファイルの組み合わせから、前記小領域像を再構成する機能を具備する、請求項6に記載の撮像装置。
【請求項9】
前記第1検出強度プロファイルと前記第2検出強度プロファイルに共通する周期構造を抽出し、前記第1検出強度プロファイルと前記第2検出強度プロファイルから前記周期構造を差し引き、前記周期構造を差し引かれた前記第1および前記第2検出強度プロファイルを用いて前記小領域像を再構成し、前記周期構造の再構成像と重ね合わせた像を出力する機能を具備する、請求項6に記載の撮像装置。
発明の詳細な説明
【技術分野】
【0001】
本実施形態は、撮像装置、および、画像生成方法に関する。
続きを表示(約 2,600 文字)
【背景技術】
【0002】
被検体の構造を高分解能かつ非破壊で観察する装置として、透過X線顕微鏡が知られている。
【先行技術文献】
【特許文献】
【0003】
特許第6478433号公報
特許第7062547号公報
【発明の概要】
【発明が解決しようとする課題】
【0004】
本実施形態は、装置の製造を簡略化しつつ、高精度に再構成像を取得することができる、撮像装置、および、画像生成方法を提供することを目的とする。
【課題を解決するための手段】
【0005】
本実施形態の撮像装置は、被検体を保持するステージと、第1画素層と第2画素層と第3画素層を、絶縁膜を介して順に積層してなる検出器と、前記被検体を透過する撮像光を前記検出器の検出体に結像させる結像光学部材と、前記検出器で検出された前記撮像光の強度である検出強度から前記被検体の像を再構成する画像処理部と、を備える。
【0006】
前記第1画素層は、第1方向に延在するライン状の受光面を有する複数の第1ライン状画素を備え、前記複数の第1ライン状画素は、前記第1画素層と平行な面内に等間隔に並べて配置されている。また、前記第2画素層は、第2方向に延在するライン状の受光面を有する複数の第2ライン状画素を備え、前記複数の第2ライン状画素は、前記第2画素層と平行な面内に等間隔に並べて配置されている。
【0007】
前記第3画素層は、第3方向に延在するライン状の受光面を有する複数の第3ライン状画素を備え、前記複数の第3ライン状画素は、前記第3画素層と平行な面内に等間隔に並べて配置されている。さらに、前記第1方向と、前記第2方向と、前記第3方向は、それぞれ異なる方向である。
【0008】
前記検出器は、前記第1画素層にて検出された前記検出強度である第1検出強度プロファイルと、前記第2画素層にて検出された前記検出強度である第2検出強度プロファイルと、前記第3画素層にて検出された前記検出強度である第3検出強度プロファイルを出力する。
【0009】
前記画像処理部は、前記第1検出強度プロファイルから1つ以上の第1変形部を抽出し、前記第2検出強度プロファイルから1つ以上の第2変形部を抽出し、前記第3検出強度プロファイルから1つ以上の第3変形部を抽出する。また、前記画像処理部は、前記第1変形部の1つと、前記第2変形部の1つと、前記第3変形部の1つからなる変形部セットを1つ以上作成する。さらに、前記画像処理部は、前記変形部セットのそれぞれについて、各前記変形部セットに含まれる前記1から前記第3変形部に基づき小領域像を再構成し、再構成された全ての前記小領域像を重ね合わせて前記被検体の像を生成する。
【図面の簡単な説明】
【0010】
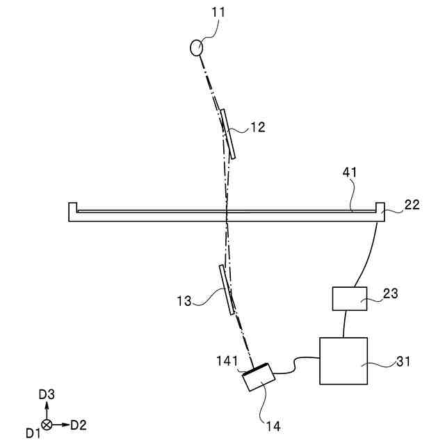
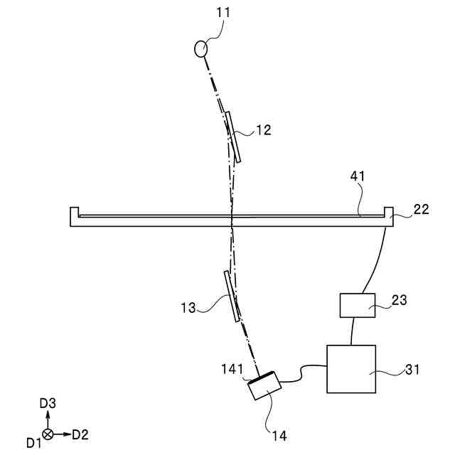
第1実施形態における撮像装置の構成の一例を説明する概略図。
被検体の一例を説明する概略図。
メモリチップ対応領域に形成されたメモリセルアレイの一例を説明する平面図。
メモリセルアレイの詳細な構造の一例を説明する平面図。
第1実施形態における像検出器の断面の一例を説明する図。
第1画素層をZ方向上方からみた平面図。
第2画素層をZ方向上方からみた平面図。
第3画素層をZ方向上方からみた平面図。
第4画素層をZ方向上方からみた平面図。
像検出器の原理回路構成図。
超伝導ストリップにおけるX線光子の検出原理を説明する図。
第1実施形態における画像生成方法の一例を説明するフローチャート。
検出体に結像された像の一例を説明する図。
図10Aに示す像の第1および第2検出強度プロファイルの一例を説明する図。
図10Aに示す像の第3および第4検出強度プロファイルの一例を説明する図。
第1ライン状画素と第2ライン状画素の位置関係を説明する図。
第1および第2検出強度プロファイルの一例を説明する図。
検出体に結像された像の別の一例を説明する図。
図12Aに示す像の第1および第2検出強度プロファイルの一例を説明する図。
図12Aに示す像の第3および第4検出強度プロファイルの一例を説明する図。
検出体に結像された像の別の一例を説明する図。
図13Aに示す像の第1および第2検出強度プロファイルの一例を説明する図。
図13Aに示す像の第3および第4検出強度プロファイルの一例を説明する図。
再構成された小領域像の一例を説明する図。
再構成された小領域像の一例を説明する図。
再構成された像の一例を説明する図。
検出体に結像された像の別の一例を説明する図。
図15Aに示す像の第1および第2検出強度プロファイルの一例を説明する図。
第1ライン状画素と第2ライン状画素の位置関係を説明する図。
ライン状画素の配置を説明する図。
第2実施形態における画像生成方法の一例を説明するフローチャート。
周期構造パターンの抽出方法の一例を説明するフローチャート。
検出体に結像された像の一例を説明する図。
図19Aに示す像の第1検出強度プロファイルの一例を説明する図。
図19Aに示す像の第1平均検出強度プロファイルの一例を説明する図。
X座標に対する検出強度の差分の絶対値を説明する図。
非周期構造パターンによる第1検出強度プロファイルの一例を説明する図。
第3実施形態における画像生成方法の一例を説明するフローチャート。
第4実施形態における像検出器の断面の一例を説明する図。
第5画素層および第6画素層をZ方向上方からみた平面図。
第4実施形態における画像生成方法の一例を説明するフローチャート。
像検出器を所定角度回転させた状態における、第5画素層および第6画素層をZ方向上方からみた平面図。
像検出器を所定角度回転させた状態における、第5画素層および第6画素層をZ方向上方からみた平面図。
【発明を実施するための形態】
(【0011】以降は省略されています)
この特許をJ-PlatPat(特許庁公式サイト)で参照する
関連特許
個人
メジャー文具
1日前
個人
計量スプーン
29日前
ユニパルス株式会社
ロードセル
今日
日本精機株式会社
位置検出装置
7日前
日本精機株式会社
位置検出装置
7日前
日本精機株式会社
位置検出装置
7日前
大和製衡株式会社
組合せ秤
12日前
大和製衡株式会社
組合せ秤
12日前
アズビル株式会社
圧力センサ
6日前
株式会社ユーシン
操作検出装置
9日前
株式会社チノー
放射光測温装置
今日
ダイハツ工業株式会社
測定用具
1か月前
トヨタ自動車株式会社
表示装置
21日前
株式会社東芝
センサ
12日前
株式会社東芝
センサ
12日前
エイブリック株式会社
磁気センサ回路
6日前
株式会社ヨコオ
ソケット
今日
トヨタ自動車株式会社
検査装置
9日前
アンリツ株式会社
分光器
1か月前
アンリツ株式会社
分光器
1か月前
個人
粘塑性を用いた有限要素法の定式化
21日前
TDK株式会社
ガスセンサ
6日前
株式会社東芝
重量測定装置
5日前
TDK株式会社
ガスセンサ
5日前
株式会社ヨコオ
コンタクタ
1か月前
TDK株式会社
ガスセンサ
今日
TDK株式会社
磁気センサ
29日前
株式会社ナリス化粧品
角層細胞採取用具
19日前
東レエンジニアリング株式会社
計量装置
9日前
大同特殊鋼株式会社
超音波探傷方法
29日前
株式会社熊谷組
RI計測装置
7日前
富士電機株式会社
半導体パッケージ
29日前
株式会社関電工
検相器用治具
27日前
個人
材料特性パラメータの算定方法
29日前
三菱マテリアル株式会社
温度センサ
1日前
富士電機株式会社
エンコーダ
6日前
続きを見る
他の特許を見る