TOP
|
特許
|
意匠
|
商標
特許ウォッチ
Twitter
他の特許を見る
10個以上の画像は省略されています。
公開番号
2025144970
公報種別
公開特許公報(A)
公開日
2025-10-03
出願番号
2024044919
出願日
2024-03-21
発明の名称
コントローラ及びホスト
出願人
キオクシア株式会社
代理人
弁理士法人スズエ国際特許事務所
主分類
G06F
13/10 20060101AFI20250926BHJP(計算;計数)
要約
【課題】ホストとストレージデバイスの間の間接通信を実現するコントローラを提供すること。
【解決手段】実施形態に係るコントローラにおいて、接続部は、第1データとI/Oコマンドを第1ノードから受信し、第1データに対する計算処理結果である第2データとI/Oコマンドを第2ノードに送信する。メモリは第1データを格納する。仮想レジスタテーブルは、計算処理を表す計算オプションに基づいて特定される仮想レジスタ番号を、計算オプションに従って計算命令を処理するために用いられる第3データの仮想アドレスと第3データのデータサイズとに対応付けて保存する。メモリ管理部は第1データをメモリに書き込み、仮想レジスタテーブルを更新する。計算処理部は仮想レジスタテーブルを参照して、第1データに対して計算処理を実行する。リレーテーブルは、送信元の情報と宛先情報の対を複数記憶する。
【選択図】図1
特許請求の範囲
【請求項1】
NVMeトランスポートプロトコルを利用して第1ノードと第2ノードに接続可能であり、第1データとI/Oコマンドを前記第1ノードから受信し、前記第1データに対する計算処理の結果である第2データと前記I/Oコマンドを前記第2ノードに送信する接続部と、
前記第1データを格納するためのメモリと、
前記第1データに付随し、前記計算処理を表す計算オプションに基づいて特定される仮想レジスタ番号を、前記計算オプションに従って計算命令を処理するために用いられる第3データの仮想アドレスと前記第3データのデータサイズとに対応付けて保存する仮想レジスタテーブルと、
前記第1データを前記メモリに書き込み、前記仮想レジスタテーブルを更新するメモリ管理部と、
前記仮想レジスタテーブルを参照して、前記第1データに対して計算処理を実行する計算処理部と、
送信元情報と宛先情報の対を複数記憶するリレーテーブルと、を具備するコントローラ。
続きを表示(約 1,400 文字)
【請求項2】
前記第1ノードは、前記I/Oコマンドと、前記計算オプションが付随する前記第1データを送信するホストであり、
前記第2ノードは、前記I/Oコマンドと、前記計算オプションが付随する前記第2データを受信し、前記第2データを格納するストレージデバイスである、請求項1記載のコントローラ。
【請求項3】
前記第1ノードは、前記I/Oコマンドと前記計算オプションが付随する前記第1データを送信するホストに接続可能であり、前記コントローラと同じ処理内容を実行する第1コントローラを含み、
前記第2ノードは、前記I/Oコマンドと前記計算オプションが付随する前記第2データを受信して前記第2データを格納するストレージデバイスに接続可能であり、前記コントローラと同じ処理内容を実行する第2コントローラを含む、請求項1記載のコントローラ。
【請求項4】
前記接続部は、前記リレーテーブルを参照して、前記第2データの宛先を決定する、請求項1記載のコントローラ。
【請求項5】
前記送信元情報は、送信元アドレスと送信元ポート番号と宛先ポート番号を含み、
前記宛先情報は、宛先アドレスと送信元ポート番号と宛先ポート番号を含み、
前記接続部は、前記I/Oコマンドに含まれる送信元ポート番号と宛先ポート番号を含む前記送信元情報を含むレコードの送信先情報に基づいて前記第2データの宛先を決定する、請求項4記載のコントローラ。
【請求項6】
前記仮想アドレスは、前記第2データが格納されているページに割り当てられているページ番号及びページオフセットを含む、請求項1記載のコントローラ。
【請求項7】
NVMeトランスポートプロトコルを利用してストレージデバイス又はノードに接続可能なホストであって、
前記ホストは、 アプリケーションプログラムを実行し、データと、前記データに対して前記ノードに計算処理を実行させる場合、前記計算処理を表す計算オプションを生成し、書き込みコマンドと前記データと前記計算オプションを前記ノードに送信し
前記アプリケーションプログラムを実行した時、前記データに対して前記ノードに計算処理を実行させない場合、前記書き込みコマンドと前記データを前記ストレージデバイスに送信し、
前記ストレージデバイスは、前記書き込みコマンドと前記データを受信し、前記データを保存し、
前記ノードは、前記書き込みコマンドと前記データと前記計算オプションを受信し、前記計算オプションに基づいて前記データに対して計算処理を実行し、前記書き込みコマンドを前記ストレージデバイスに送信し、前記計算処理の結果を前記データとして前記ストレージデバイスに送信する、
ホスト。
【請求項8】
前記ノードは、複数のノードのなかの1つのノードであり、
前記ホストは、
前記計算オプションが生成されていない場合、前記データの宛先ポート番号を前記ストレージデバイスを表す第1ポート番号とし、
前記計算オプションが生成されている場合、前記データの宛先ポート番号を前記複数のノードに共通な第2ポート番号とする、請求項7記載のホスト。
発明の詳細な説明
【技術分野】
【0001】
本発明の実施形態は、コントローラ及びホストに関する。
続きを表示(約 3,200 文字)
【背景技術】
【0002】
NVMe-oF
TM
規格(Non-Volatile Memory express over Fabric)は、NVMe
TM
規格(非特許文献1)において、メッセージベースのトランスポートモデル(メッセージオンリートランスポートモデル又はメッセージ/メモリベーストランスポートモデル)の実装を表す規格である。NVMe-oF規格で使用されるNVMeトランスポートプロトコルは、RDMA(Remote Direct Memory Access)(非特許文献2)とTCP(Transmission Control Protocol)(非特許文献3)の2種類がある。
【0003】
NVMeトランスポートモデルにおいて、メッセージは、カプセルと呼ばれる情報単位で定義される。カプセルは、コマンドに対して使用されるコマンドカプセルと、レスポンスに対して使用されるレスポンスカプセルの2種類を含む。コマンドカプセルは、Submission Queue EntryフィールドとDataフィールドを含む。コマンドにデータが付随しない場合、コマンドカプセルのDataフィールドは省略される。レスポンスカプセルは、Completion Queue EntryフィールドとDataフィールドを含む。レスポンスにデータが付随しない場合、レスポンスカプセルのDataフィールドは省略される。
【0004】
NVMeトランスポートプロトコルは、ホストとストレージデバイスの間の2者間の直接通信のプロトコルである。NVMeトランスポートプロトコルは、ホストとストレージデバイスの間にメッセージを中継(リレーと称される)するノードを経由する間接通信を制御することができない。
【先行技術文献】
【特許文献】
【0005】
米国特許出願公開第2023/216655号明細書
米国特許第11032259号明細書
米国特許出願公開第2017/255583号明細書
【非特許文献】
【0006】
NVM Express Base Specification, revision 2.0c,https://nvmexpress.org/wp-content/uploads/NVM-Express-Base-Specification-2.0c-2022.10.04-Ratified.pdf
NVM Express RDMA Transport Specification 1.0b,https://nvmexpress.org/wp-content/uploads/NVM-Express-RDMA-Transport-Specification-1.0b-2022.10.04-Ratified.pdf
NVM Express TCP Transport Specification 1.0c,https://nvmexpress.org/wp-content/uploads/NVM-Express-TCP-Transport-Specification-1.0c-2022.10.03-Ratified.pdf
【発明の概要】
【発明が解決しようとする課題】
【0007】
本発明の目的は、ホストとストレージデバイスの間の間接通信を実現するコントローラ及びホストを提供することである。
【課題を解決するための手段】
【0008】
実施形態に係るコントローラは、接続部と、メモリと、仮想レジスタテーブルと、メモリ管理部と、計算処理部と、リレーテーブルとを具備する。接続部は、NVMeトランスポートプロトコルを利用して第1ノードと第2ノードに接続可能であり、第1データとI/Oコマンドを第1ノードから受信し、第1データに対する計算処理の結果である第2データとI/Oコマンドを第2ノードに送信する。メモリは、第1データを格納する。仮想レジスタテーブルは、第1データに付随し、計算処理を表す計算オプションに基づいて特定される仮想レジスタ番号を、計算オプションに従って計算命令を処理するために用いられる第3データの仮想アドレスと第3データのデータサイズとに対応付けて保存する。メモリ管理部は、第1データをメモリに書き込み、仮想レジスタテーブルを更新する。計算処理部は、仮想レジスタテーブルを参照して、第1データに対して計算処理を実行する。リレーテーブルは、送信元の情報と宛先情報の対を複数記憶する。
【図面の簡単な説明】
【0009】
第1実施形態に係るストレージシステムの一例を説明するための図である。
第1実施形態に係る仮想レジスタテーブルの一例を説明するための図である。
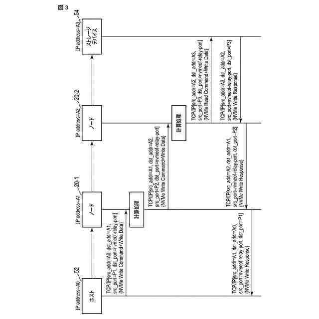
第1実施形態に係るホストとストレージデバイスの間の間接通信の一例を説明するための図である。
第1実施形態に係るリレーテーブルの一例を説明するための図である。
第1実施形態に係るホストのリレー処理の一例を説明するためのフローチャートである。
第1実施形態に係るノード又はストレージデバイスのリレー処理の一例を説明するためのフローチャートである。
第1実施例に係るノード又はストレージデバイスのリレー処理の他の例を説明するためのフローチャートである。
第1実施形態に係る秘密計算命令の命令セットの一例を説明するための図である。
第1実施形態に係る仮想レジスタ番号の一例を説明するための図である。
第2実施形態に係るホストの構成の一例を説明するための図である。
第2実施形態に係るホストとストレージデバイスの間の間接通信の一例を説明するための図である。
第3実施形態に係るホストとストレージデバイスの間の間接通信の一例を説明するための図である。
第3実施形態に係るリレーテーブルの一例を説明するための図である。
第4実施形態に係るホストの構成の一例を説明するための図である。
第4実施形態に係るノードの一例を説明するための図である。
第4実施形態に係るネットワークの一例を説明するための図である。
第5実施形態に係るネットワークの一例を説明するための図である。
【発明を実施するための形態】
【0010】
以下、図面を参照して、実施形態を説明する。以下の説明は、実施形態の技術的思想を具体化するための装置や方法を例示するものであって、実施形態の技術的思想は、以下に説明する構成要素の構造、形状、配置、材質等に限定されるものではない。当業者が容易に想到し得る変形は、当然に開示の範囲に含まれる。説明をより明確にするため、図面において、各要素のサイズ、厚み、平面寸法又は形状等を実際の要素に対して変更して模式的に表す場合もある。複数の図面において、互いの寸法の関係や比率が異なる要素が含まれることもある。複数の図面において、対応する要素には同じ参照数字を付して重複する説明を省略する場合もある。いくつかの要素に複数の呼称を付す場合があるが、これら呼称の例はあくまで例示であり、これらの要素に他の呼称を付すことを否定するものではない。複数の呼称が付されていない要素についても、他の呼称を付すことを否定するものではない。「接続」は直接接続のみならず、他の要素を介した接続を含む場合もある。要素の数を複数であると明記しない場合、その要素は、単数の要素であってもよいし、複数の要素であってもよい。
(【0011】以降は省略されています)
この特許をJ-PlatPat(特許庁公式サイト)で参照する
関連特許
キオクシア株式会社
メモリシステム
15日前
個人
詐欺保険
4日前
個人
縁伊達ポイン
4日前
個人
地球保全システム
17日前
個人
QRコードの彩色
8日前
個人
冷凍食品輸出支援構造
1か月前
個人
為替ポイント伊達夢貯
1か月前
個人
残土処理システム
10日前
個人
表変換編集支援システム
1か月前
個人
農作物用途分配システム
3日前
個人
知的財産出願支援システム
11日前
個人
知財出願支援AIシステム
1か月前
個人
AIによる情報の売買の仲介
1か月前
個人
パスワード管理支援システム
1か月前
個人
行動時間管理システム
1か月前
日本精機株式会社
施工管理システム
1か月前
個人
システム及びプログラム
1か月前
個人
海外支援型農作物活用システム
29日前
株式会社キーエンス
受発注システム
16日前
株式会社キーエンス
受発注システム
16日前
株式会社アジラ
進入判定装置
1か月前
個人
食品レシピ生成システム
16日前
株式会社キーエンス
受発注システム
16日前
個人
パスポートレス入出国システム
1か月前
個人
AIキャラクター制御システム
1か月前
個人
音声・通知・再配達UX制御構造
11日前
キヤノン株式会社
表示システム
16日前
個人
社会還元・施設向け供給支援構造
1か月前
個人
帳票自動生成型SaaSシステム
11日前
個人
冷凍加工連携型農場運用システム
1か月前
個人
人格進化型対話応答制御システム
1か月前
大同特殊鋼株式会社
疵判定方法
23日前
個人
未来型家系図構築システム
29日前
個人
音声対話型帳票生成支援システム
1か月前
個人
SaaS型勤務調整支援システム
1か月前
サクサ株式会社
中継装置
1か月前
続きを見る
他の特許を見る