TOP
|
特許
|
意匠
|
商標
特許ウォッチ
Twitter
他の特許を見る
10個以上の画像は省略されています。
公開番号
2025145669
公報種別
公開特許公報(A)
公開日
2025-10-03
出願番号
2024045968
出願日
2024-03-22
発明の名称
磁気メモリデバイス
出願人
キオクシア株式会社
代理人
弁理士法人鈴榮特許綜合事務所
主分類
H10B
61/00 20230101AFI20250926BHJP()
要約
【課題】磁気的に安定した磁気メモリデバイスを提供する。
【解決手段】実施形態の磁気メモリデバイスは、基板と、第1配線と、第1絶縁体と、第2絶縁体と、第2配線と、第1磁気抵抗効果素子を備える。第1配線及び第1絶縁体は、基板に沿った第1方向に延び、第1方向と交差する第2方向に並ぶ。第2絶縁体は、第2方向に延び、第1配線及び第1絶縁体を貫く。第2配線は、第2絶縁体の周囲に設けられ、第2方向に延び、第1配線及び第1絶縁体を貫く。第1磁気抵抗効果素子は、第1配線と第2配線との間において、第2配線の周囲に円環状に設けられる。第1磁気抵抗効果素子は、第2配線と前記第1配線との間の第1強磁性体と、第1強磁性体と第1配線との間の第1非磁性体と、第1非磁性体と第1配線との間の第2強磁性体とを有する。
【選択図】図4
特許請求の範囲
【請求項1】
基板と、
基板に沿った第1方向に延び、前記第1方向と交差する第2方向に並ぶ第1配線及び第1絶縁体と、
前記第2方向に延び、前記第1配線及び前記第1絶縁体を貫く第2絶縁体と、
前記第2絶縁体の周囲に設けられ、前記第2方向に延び、前記第1配線及び前記第1絶縁体を貫く第2配線と、
前記第1配線と前記第2配線との間において、前記第2配線の周囲に円環状に設けられた第1磁気抵抗効果素子と、
を備え、
前記第1磁気抵抗効果素子は、
前記第2配線と前記第1配線との間の第1強磁性体と、
前記第1強磁性体と前記第1配線との間の第1非磁性体と、
前記第1非磁性体と前記第1配線との間の第2強磁性体と、
を有する、
磁気メモリデバイス。
続きを表示(約 1,400 文字)
【請求項2】
前記第1配線と前記第1磁気抵抗効果素子との間に設けられ、前記第1磁気抵抗効果素子に直列接続される第1スイッチング素子と、
を更に備える、
請求項1に記載の磁気メモリデバイス。
【請求項3】
前記第1方向に延び、前記第2方向において交互に並び、前記第2配線及び前記第2絶縁体によって貫かれる複数の第3配線及び複数の第3絶縁体と、
前記複数の第3配線と前記第2配線との間において、前記第2配線の周囲に円環状に設けられた複数の第2磁気抵抗効果素子と、
を更に備え、
前記複数の第2磁気抵抗効果素子のそれぞれは、
前記第2配線と前記第3配線との間の第3強磁性体と、
前記第3強磁性体と前記第3配線との間の第2非磁性体と、
前記第2非磁性体と前記第3配線との間の第4強磁性体と、
を有する、
請求項1に記載の磁気メモリデバイス。
【請求項4】
前記第1磁気抵抗効果素子にデータを書き込む書込み動作において、
前記第1配線には、第1電圧が印加され、
前記第2配線の第1端には前記第1電圧よりも低い電圧である第2電圧が印加され、第2端には前記第2電圧よりも高い電圧である第3電圧が印加され、
前記第3電圧は、前記第2端から前記第1端に向けて第1電流を流す大きさを有する、
請求項1に記載の磁気メモリデバイス。
【請求項5】
前記第2電圧は、接地電圧である、
請求項4に記載の磁気メモリデバイス。
【請求項6】
前記第1強磁性体は、前記第2配線と接し、
前記第1非磁性体は、前記第1絶縁体と前記第1強磁性体との間に設けられ、前記第2配線と接する部分を更に有し、
前記第2強磁性体は、前記第2配線と接しない、
請求項1に記載の磁気メモリデバイス。
【請求項7】
前記第1強磁性体は、前記第2配線と接し、
前記第1非磁性体は、前記第1絶縁体と前記第1強磁性体との間に設けられ、前記第2配線と接する第1部分を更に有し、
前記第2強磁性体は、前記第1絶縁体と前記第1部分との間に設けられ、前記第2配線と接する第2部分を更に有する、
請求項1に記載の磁気メモリデバイス。
【請求項8】
前記第1磁気抵抗効果素子は、
第2強磁性体と前記第1配線との間の第3非磁性体と、を更に有し、
前記第1スイッチング素子は、
前記第1配線上の第1導電体と、
前記第1導電体上の可変抵抗材料と、
前記可変抵抗材料上の第2導電体と、
を更に備える、
請求項2に記載の磁気メモリデバイス。
【請求項9】
前記第1非磁性体は、ホウ素(B)、マグネシウム(Mg)、及びアルミニウム(Al)から選択される少なくとも1つの元素を含み、
前記第1強磁性体及び前記第2強磁性体は、コバルト(Co)、鉄(Fe)、及びニッケル(Ni)から選択される少なくとも1つの元素を含む、
請求項1に記載の磁気メモリデバイス。
【請求項10】
前記第1非磁性体は、六方晶窒化ホウ素(h-BN)又は六方晶窒化アルミニウム(h-AlN)を含む、
請求項1に記載の磁気メモリデバイス。
(【請求項11】以降は省略されています)
発明の詳細な説明
【技術分野】
【0001】
実施形態は、磁気メモリデバイスに関する。
続きを表示(約 3,200 文字)
【背景技術】
【0002】
磁気抵抗効果素子を記憶素子として用いた磁気メモリデバイスが知られている。磁気抵抗効果素子へデータを書き込む方式として、種々の手法が提案されている。例えば、スピン軌道トルク(Spin Orbit Torque)を用いた書き込み方式が知られている。
【先行技術文献】
【特許文献】
【0003】
X
米国特許出願公開第2021/0005235号明細書
【発明の概要】
【発明が解決しようとする課題】
【0004】
磁気的に安定した磁気メモリデバイスを提供しようとするものである。
【課題を解決するための手段】
【0005】
実施形態の磁気メモリデバイスは、基板と、第1配線と、第1絶縁体と、第2絶縁体と、第2配線と、第1磁気抵抗効果素子を備える。第1配線及び第1絶縁体は、基板に沿った第1方向に延び、第1方向と交差する第2方向に並ぶ。第2絶縁体は、第2方向に延び、第1配線及び第1絶縁体を貫く。第2配線は、第2絶縁体の周囲に設けられ、第2方向に延び、第1配線及び第1絶縁体を貫く。第1磁気抵抗効果素子は、第1配線と第2配線との間において、第2配線の周囲に円環状に設けられる。第1磁気抵抗効果素子は、第2配線と前記第1配線との間の第1強磁性体と、第1強磁性体と第1配線との間の第1非磁性体と、第1非磁性体と第1配線との間の第2強磁性体とを有する。
【図面の簡単な説明】
【0006】
図1は、第1実施形態に係る磁気メモリデバイス1の構成の一例であるブロック図を示す。
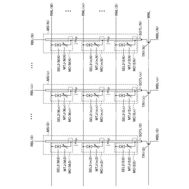
図2は、第1実施形態に係るメモリセルアレイ10の回路構成の一例である回路図を示す。
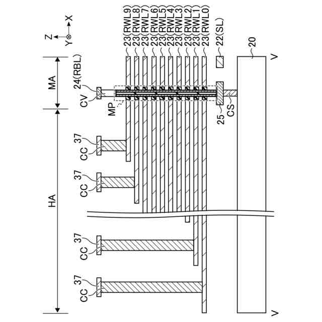
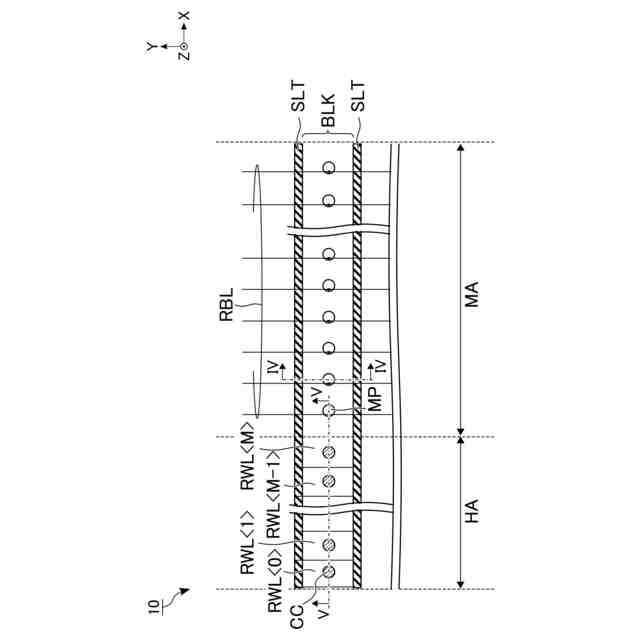
図3は、第1実施形態に係る磁気メモリデバイス1のメモリセルアレイ10における平面レイアウトの一例を示す。
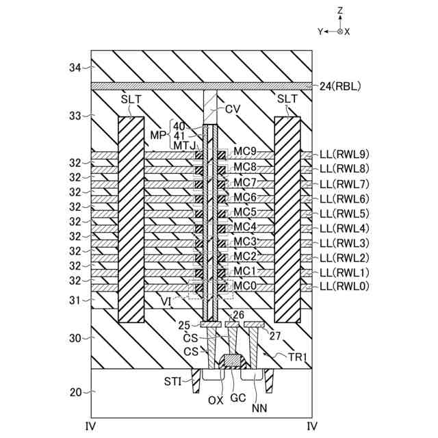
図4は、第1実施形態に係る磁気メモリデバイス1の断面構造の一例である、図3のIV-IV線に沿った断面図を示す。
図5は、第1実施形態に係る磁気メモリデバイス1の断面構造の一例である、図3のV-V線に沿った断面図を示す。
図6は、第1実施形態に係る磁気メモリデバイス1におけるメモリピラーMPの断面構造の一例である、図4の領域VIの拡大図を示す。
図7は、第1実施形態に係る磁気メモリデバイス1のメモリセルの電圧と電流の特性の曲線の一例を示す。
図8は、第1実施形態に係る磁気メモリデバイス1におけるメモリピラーMPの断面構造の一例である、図3のVIII-VIII線に沿った断面図を示す。
図9は、第1実施形態に係る磁気メモリデバイス1における書込み動作の第1例でメモリセルアレイに印加される電圧の一例を示す。
図10は、第1実施形態に係る磁気メモリデバイス1における書込み動作の第1例でメモリセルアレイに印加される電流及び磁化方向の一例を示す。
図11は、第1実施形態に係る磁気メモリデバイス1における書込み動作の第2例でメモリセルアレイに印加される電流及び磁化方向の一例を示す。
図12は、第1実施形態に係る磁気メモリデバイス1における読出し動作でメモリセルアレイに印加される電圧の一例を示す。
図13は、第1実施形態に係る磁気メモリデバイス1における読出し動作でメモリセルアレイに印加される電流の一例を示す。
図14は、第1実施形態に係る磁気メモリデバイス1の製造方法の一例であるフローチャートを示す。
図15は、第1実施形態に係る磁気メモリデバイス1の製造途中の断面構造の一例を示す。
図16は、第1実施形態に係る磁気メモリデバイス1の製造途中の断面構造の一例を示す。
図17は、第1実施形態に係る磁気メモリデバイス1の製造途中の断面構造の一例を示す。
図18は、第1実施形態に係る磁気メモリデバイス1の製造途中の断面構造の一例を示す。
図19は、第1実施形態に係る磁気メモリデバイス1の製造途中の断面構造の一例を示す。
図20は、第1実施形態に係る磁気メモリデバイス1の製造途中の断面構造の一例を示す。
図21は、第1実施形態に係る磁気メモリデバイス1の製造途中の断面構造の一例を示す。
図22は、第1実施形態に係る磁気メモリデバイス1の製造途中の断面構造の一例を示す。
図23は、第1実施形態に係る磁気メモリデバイス1の製造途中の断面構造の一例を示す。
図24は、第1実施形態に係る磁気メモリデバイス1の製造途中の断面構造の一例を示す。
図25は、第1実施形態に係る磁気メモリデバイス1の製造途中の断面構造の一例を示す。
図26は、第1実施形態に係る磁気メモリデバイス1の製造途中の断面構造の一例を示す。
図27は、第1実施形態に係る磁気メモリデバイス1の製造途中の断面構造の一例を示す。
図28は、第1実施形態の変形例に係る磁気メモリデバイス1bにおけるメモリピラーMPbの断面構造の一例を示す。
図29は、第1実施形態の変形例に係る磁気メモリデバイス1bにおけるメモリピラーMPbの断面構造の一例であり、図28のXXVIIII-XXVIIII線に沿った断面図を示す。
図30は、第2実施形態に係る磁気メモリデバイス1cにおけるメモリピラーMPcの断面構造の一例を示す。
図31は、第2実施形態に係る磁気メモリデバイス1cの製造方法の一例であるフローチャート示す。
図32は、第2実施形態に係る磁気メモリデバイス1cの製造途中の断面構造の一例を示す。
図33は、第2実施形態に係る磁気メモリデバイス1cの製造途中の断面構造の一例を示す。
【発明を実施するための形態】
【0007】
以下に、実施形態について図面を参照して説明する。なお、以下の説明において、同一の機能及び構成を有する構成要素については、共通する参照符号を付す。また、共通する参照符号を有する複数の構成要素を区別する場合、当該共通する参照符号に添え字を付して区別する。なお、複数の構成要素について特に区別を要さない場合、当該複数の構成要素には、共通する参照符号のみが付され、添え字は付さない。添え字は、下付き文字や上付き文字に限らず、例えば、参照符号の末尾に添加される小文字のアルファベット、記号、及び配列を意味するインデックス等を含む。
【0008】
図面は模式的なものであり、厚みと平面寸法との関係、各層の厚みの比率等は現実のものとは異なり得る。また、図面相互間においても互いの寸法の関係や比率が異なる部分が含まれ得る。
【0009】
以下、XYZ直交座標系を用いて、実施形態を記述する。図の縦軸のプラス方向は上側、マイナス方向は下側と称される場合がある。図の横軸のプラス方向は右側、マイナス方向は左側と称される場合がある。すなわち、XY面を示す平面図(XY面図(以下、同様))において、上側は+Y方向を指し、下側は-Y方向を指し、右側は+X方向を指し、左側は-X方向を指す。
【0010】
平面図には、図を見易くするためにハッチングが適宜付加されている。平面図に付加されたハッチングは、ハッチングが付加された構成要素の素材や特性とは必ずしも関連していない。断面図では、図を見易くするために絶縁体層、基板、配線、端子等の構成要素が適宜省略されている。
(【0011】以降は省略されています)
この特許をJ-PlatPat(特許庁公式サイト)で参照する
関連特許
キオクシア株式会社
記憶装置
8日前
キオクシア株式会社
記憶装置
10日前
キオクシア株式会社
記憶装置
14日前
キオクシア株式会社
記憶装置
8日前
キオクシア株式会社
記憶装置
6日前
キオクシア株式会社
半導体装置
14日前
キオクシア株式会社
半導体装置
7日前
キオクシア株式会社
半導体装置
7日前
キオクシア株式会社
半導体装置
8日前
キオクシア株式会社
半導体装置
6日前
キオクシア株式会社
磁気記憶装置
8日前
キオクシア株式会社
磁気記憶装置
7日前
キオクシア株式会社
磁気記憶装置
10日前
キオクシア株式会社
磁気記憶装置
8日前
キオクシア株式会社
通信システム
8日前
キオクシア株式会社
磁気記憶装置
10日前
キオクシア株式会社
基板ユニット
10日前
キオクシア株式会社
半導体記憶装置
6日前
キオクシア株式会社
半導体記憶装置
10日前
キオクシア株式会社
有機分子メモリ
6日前
キオクシア株式会社
半導体記憶装置
7日前
キオクシア株式会社
メモリシステム
7日前
キオクシア株式会社
メモリデバイス
6日前
キオクシア株式会社
半導体記憶装置
7日前
キオクシア株式会社
半導体記憶装置
6日前
キオクシア株式会社
半導体記憶装置
20日前
キオクシア株式会社
メモリデバイス
6日前
キオクシア株式会社
半導体記憶装置
10日前
キオクシア株式会社
半導体記憶装置
10日前
キオクシア株式会社
半導体記憶装置
6日前
キオクシア株式会社
半導体記憶装置
8日前
キオクシア株式会社
半導体記憶装置
10日前
キオクシア株式会社
半導体記憶装置
8日前
キオクシア株式会社
メモリデバイス
8日前
キオクシア株式会社
半導体記憶装置
8日前
キオクシア株式会社
半導体記憶装置
6日前
続きを見る
他の特許を見る