TOP
|
特許
|
意匠
|
商標
特許ウォッチ
Twitter
他の特許を見る
公開番号
2025145278
公報種別
公開特許公報(A)
公開日
2025-10-03
出願番号
2024045369
出願日
2024-03-21
発明の名称
評価方法及び評価装置
出願人
キオクシア株式会社
代理人
個人
,
個人
,
個人
,
個人
主分類
G06F
11/07 20060101AFI20250926BHJP(計算;計数)
要約
【課題】半導体デバイスを効率よく評価する。
【解決手段】評価方法は、半導体デバイス内の不良を起こした部材の不良の状態を示す第1情報を取得することと、前記第1情報と第2情報とに基づいて、前記半導体デバイス内の不具合のある場所と不具合の種類とを含む第3情報を生成することと、前記第2情報は、前記第1情報と前記不具合のある場所と前記不具合の種類とが対応付けられ且つ予め記憶された情報であり、前記半導体デバイスを制御する制御装置からのアクセス要求と前記第3情報とに基づいて、前記半導体デバイスの不具合の種類を特定する情報を前記制御装置に返すか否かを制御することと、前記半導体デバイスの不具合の種類を特定する情報が返された後の前記制御装置の動作を評価することと、を備える。
【選択図】図7
特許請求の範囲
【請求項1】
半導体デバイス内の不良を起こした部材の不良の状態を示す第1情報を取得することと、
前記第1情報と第2情報とに基づいて、前記半導体デバイス内の不具合のある場所と不具合の種類とを含む第3情報を生成することと、前記第2情報は、前記第1情報と前記不具合のある場所と前記不具合の種類とが対応付けられ且つ予め記憶された情報であり、
前記半導体デバイスを制御する制御装置からのアクセス要求と前記第3情報とに基づいて、前記半導体デバイスの不具合の種類を特定する情報を前記制御装置に返すか否かを制御することと、
前記半導体デバイスの不具合の種類を特定する情報が返された後の前記制御装置の動作を評価することと、を備える、
評価方法。
続きを表示(約 1,300 文字)
【請求項2】
前記第2情報は、不良の対象となる部材と、不良の状態と、不具合の種類と、前記半導体デバイス内の不具合のある場所との対応関係を示す情報を含む、
請求項1に記載の評価方法。
【請求項3】
前記第3情報は、前記半導体デバイス内の不具合のある場所を示す物理アドレスと不具合の種類とを含む、
請求項1に記載の評価方法。
【請求項4】
前記制御装置からのアクセス要求に含まれる前記半導体デバイスの物理アドレスが前記第3情報に含まれる場合に、前記第3情報に含まれる不具合の種類を特定する情報を前記制御装置に返す、
請求項3に記載の評価方法。
【請求項5】
前記第3情報を生成することは、前記第1情報と前記第2情報とに基づくとともに、前記不具合のある場所を示す前記半導体デバイス内の物理アドレスを特定可能な情報を参照することにより、前記第3情報を生成することを含む、
請求項3又は4に記載の評価方法。
【請求項6】
前記第1情報は、前記半導体デバイス内の特定の場所に配置される特定の部材に生じる不良の状態を含む、
請求項1に記載の評価方法。
【請求項7】
前記半導体デバイスは、半導体メモリであり、
前記制御装置が前記第3情報に含まれる物理アドレスを指定して前記半導体メモリにアクセスしたことに応じて、前記第3情報に含まれる対応する不具合の種類を特定する情報を前記制御装置に返す、
請求項1に記載の評価方法。
【請求項8】
前記半導体デバイスは、半導体メモリであり、
前記不具合の種類は、前記半導体メモリへの書込み異常、読出し異常、又は消去異常の少なくとも一つを含み、
前記制御装置は、前記半導体メモリのアクセスを制御するコントローラである、
請求項7に記載の評価方法。
【請求項9】
前記第1情報に基づいて、不良の状態と、不具合の種類と、前記半導体デバイス内の不具合のある場所との対応関係を記憶する第1記憶部と、前記不具合のある場所に対応する前記半導体デバイス内の物理位置を記憶する第2記憶部と、を参照することにより、前記第3情報を生成する、
請求項1に記載の評価方法。
【請求項10】
半導体デバイス内の不良を起こした部材の不良の状態を示す第1情報を取得する取得部と、
不良の状態と、不具合の種類と、前記半導体デバイス内の不具合のある場所との対応関係を記憶する第1記憶部と、
前記不具合のある場所に対応する前記半導体デバイス内の物理位置を記憶する第2記憶部と、
前記第1情報に基づいて、前記第1記憶部及び前記第2記憶部を参照することにより、前記半導体デバイス内の不具合のある場所と不具合の種類とを含む第3情報を生成し、前記半導体デバイスを制御する制御装置からのアクセス要求と前記第3情報とに基づいて、前記半導体デバイスの不具合の種類を特定する情報を前記制御装置に返すか否かを制御し、前記半導体デバイスの不具合の種類を特定する情報が返された後の前記制御装置の動作を評価する制御回路と、を備える、
評価装置。
発明の詳細な説明
【技術分野】
【0001】
本発明の実施形態は、評価方法及び評価装置に関する。
続きを表示(約 1,800 文字)
【背景技術】
【0002】
NANDフラッシュメモリを代表とする不揮発メモリは、設計ルールの微細化、三次元化、及び多値化により、データの書込み、読出し、及び消去の信頼性が低下するおそれがある。また、不揮発性メモリの大容量化に伴って、不揮発メモリ、不揮発性メモリを制御する装置、又は不揮発メモリを記憶媒体として搭載する装置の動作検証に多大の時間を要する。
【0003】
例えば、不揮発メモリを制御するコントローラについて、多機能化により動作検証が複雑化する傾向にある。特に、不揮発メモリが何らかの不具合を有する場合のコントローラの動作検証を行うには、不揮発メモリを不具合の状態に設定しなければならない。不揮発メモリの高集積化と大容量化が進むに従って、不揮発メモリの不具合の種類と不具合の起こりうる箇所が増えるため、不揮発メモリの不具合時のコントローラの動作検証がより困難になる。不揮発メモリに限らず、半導体デバイスの評価は、高集積化と多機能化が進むにつれて困難になる。
【先行技術文献】
【特許文献】
【0004】
特開2020-154508号公報
特開2020-95501号公報
特開2022-35576号公報
【発明の概要】
【発明が解決しようとする課題】
【0005】
そこで、半導体デバイスを効率よく評価することができる評価方法及び評価装置を提供するものである。
【課題を解決するための手段】
【0006】
上記の課題を解決するために、本発明の一実施形態によれば、半導体デバイス内の不良を起こした部材の不良の状態を示す第1情報を取得することと、
前記第1情報と第2情報とに基づいて、前記半導体デバイス内の不具合のある場所と不具合の種類とを含む第3情報を生成することと、前記第2情報は、前記第1情報と前記不具合のある場所と前記不具合の種類とが対応付けられ且つ予め記憶された情報であり、
前記半導体デバイスを制御する制御装置からのアクセス要求と前記第3情報とに基づいて、前記半導体デバイスの不具合の種類を特定する情報を前記制御装置に返すか否かを制御することと、
前記半導体デバイスの不具合の種類を特定する情報が返された後の前記制御装置の動作を評価することと、を備える、
評価方法が提供される。
【図面の簡単な説明】
【0007】
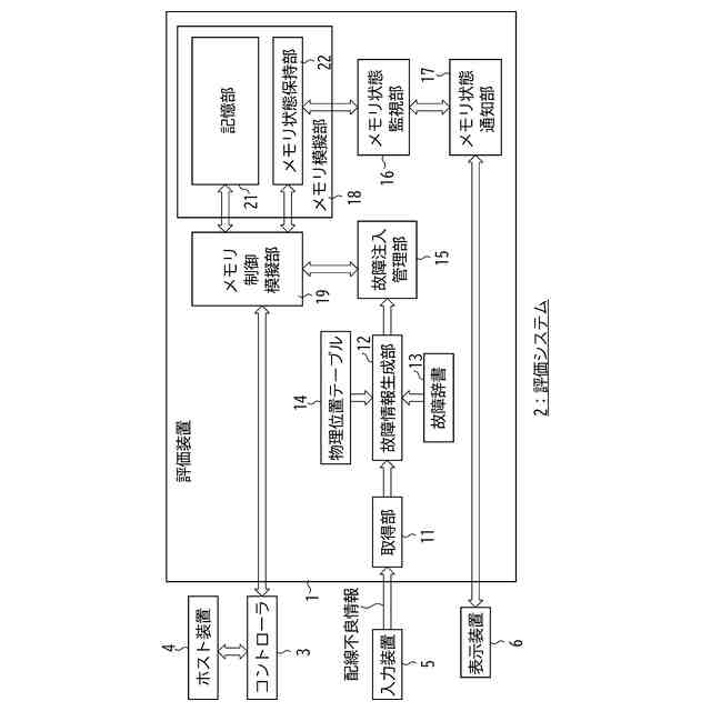
一実施形態に係る評価装置を備える評価システムの概略構成を示すブロック図。
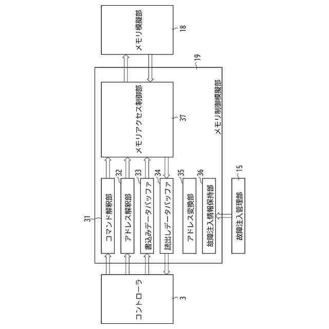
メモリ制御模擬部の詳細構成の一例を示すブロック図。
故障辞書の一例を示す図。
故障情報生成部の機能的な構成を示すブロック図。
故障情報生成部の処理動作を説明する図。
配線不良情報と故障注入情報との対応関係の一例を示す図。
本実施形態に係る評価システムの処理動作を説明するフローチャート。
【発明を実施するための形態】
【0008】
以下、図面を参照して、実施形態に係る評価方法及び評価装置の実施形態について説明する。以下では、評価方法及び評価装置の主要な構成部分を中心に説明するが、評価方法及び評価装置には、図示又は説明されていない構成部分や機能が存在しうる。以下の説明は、図示又は説明されていない構成部分や機能を除外するものではない。
【0009】
図1は一実施形態に係る評価装置1を備える評価システム2の概略構成を示すブロック図である。図1の評価システム2は、NANDフラッシュメモリを制御するコントローラ3の評価を行うものであり、以下では、仮想NANDシステムと呼ぶことがある。なお、一実施形態に係る評価装置1は、NANDフラッシュメモリを制御するコントローラ3以外の種々の半導体デバイスを制御する制御装置の評価を行う場合にも適用可能である。以下の説明では、NANDフラッシュメモリを単にフラッシュメモリと称する。
【0010】
図1に示す一実施形態に係る評価装置1を備える評価システム2は、評価装置1と、コントローラ3と、ホスト装置4と、入力装置5とを備える。
(【0011】以降は省略されています)
この特許をJ-PlatPat(特許庁公式サイト)で参照する
関連特許
キオクシア株式会社
記憶装置
2日前
キオクシア株式会社
記憶装置
今日
キオクシア株式会社
記憶装置
2日前
キオクシア株式会社
半導体装置
1日前
キオクシア株式会社
半導体装置
2日前
キオクシア株式会社
半導体装置
今日
キオクシア株式会社
半導体装置
1日前
キオクシア株式会社
基板ユニット
4日前
キオクシア株式会社
磁気記憶装置
2日前
キオクシア株式会社
磁気記憶装置
2日前
キオクシア株式会社
通信システム
2日前
キオクシア株式会社
磁気記憶装置
1日前
キオクシア株式会社
半導体記憶装置
今日
キオクシア株式会社
半導体記憶装置
今日
キオクシア株式会社
メモリシステム
1日前
キオクシア株式会社
半導体記憶装置
1日前
キオクシア株式会社
半導体記憶装置
4日前
キオクシア株式会社
半導体記憶装置
2日前
キオクシア株式会社
半導体記憶装置
2日前
キオクシア株式会社
メモリデバイス
2日前
キオクシア株式会社
半導体記憶装置
今日
キオクシア株式会社
半導体記憶装置
2日前
キオクシア株式会社
半導体記憶装置
4日前
キオクシア株式会社
半導体記憶装置
4日前
キオクシア株式会社
半導体記憶装置
今日
キオクシア株式会社
半導体記憶装置
1日前
キオクシア株式会社
メモリシステム
今日
キオクシア株式会社
半導体記憶装置
今日
キオクシア株式会社
半導体記憶装置
今日
キオクシア株式会社
半導体記憶装置
今日
キオクシア株式会社
有機分子メモリ
今日
キオクシア株式会社
メモリデバイス
今日
キオクシア株式会社
メモリシステム
今日
キオクシア株式会社
半導体記憶装置
今日
キオクシア株式会社
半導体記憶装置
今日
キオクシア株式会社
メモリシステム
今日
続きを見る
他の特許を見る