TOP
|
特許
|
意匠
|
商標
特許ウォッチ
Twitter
他の特許を見る
10個以上の画像は省略されています。
公開番号
2025141383
公報種別
公開特許公報(A)
公開日
2025-09-29
出願番号
2024041284
出願日
2024-03-15
発明の名称
ストレージドライブ
出願人
キオクシア株式会社
代理人
弁理士法人スズエ国際特許事務所
主分類
G06F
3/06 20060101AFI20250919BHJP(計算;計数)
要約
【課題】ホストにおける処理量を低減できるストレージドライブを実現する。
【解決手段】実施形態によれば、ストレージドライブは、記憶メディアと、コントローラとを具備する。コントローラは、論理アドレス空間内の第1論理アドレス範囲を指定したリード要求をホストから受信する。コントローラは、第1論理アドレス範囲に含まれる複数の論理アドレスのそれぞれがホストによって使用されているか否かを示す第1情報を、ホストに含まれるホストメモリへ転送する。コントローラは、複数の論理アドレスの内、ホストによって使用されている1つ以上の論理アドレスにそれぞれ格納されている1つ以上の有効データを、記憶メディアから読み出す。コントローラは、1つ以上の有効データを含む、複数の論理アドレスにそれぞれ対応する複数のデータと、1つ以上の有効データと、のいずれかをホストメモリへ転送する。
【選択図】図9
特許請求の範囲
【請求項1】
ホストに接続可能なストレージドライブであって、
記憶メディアと、
論理アドレス空間を管理し、
前記論理アドレス空間内の第1論理アドレス範囲を指定したリード要求を前記ホストから受信し、
前記第1論理アドレス範囲に含まれる複数の論理アドレスのそれぞれが前記ホストによって使用されているか否かを示す第1情報を、前記ホストに含まれるホストメモリへ転送し、
前記複数の論理アドレスの内、前記ホストによって使用されている1つ以上の論理アドレスにそれぞれ格納されている1つ以上の有効データを、前記記憶メディアから読み出し、
前記1つ以上の有効データを含む、前記複数の論理アドレスにそれぞれ対応する複数のデータと、前記1つ以上の有効データと、のいずれかを前記ホストメモリへ転送するように構成されるコントローラと、
を具備するストレージドライブ。
続きを表示(約 2,800 文字)
【請求項2】
前記ホストメモリの記憶領域は、前記第1情報を記憶可能な第1バッファと、前記複数のデータを記憶可能な第2バッファとを含み、
前記リード要求は、前記第1バッファを示す第1アドレスと、前記第2バッファを示す第2アドレスとをさらに指定し、
前記コントローラは、
前記第1アドレスに基づいて、前記第1情報を前記第1バッファへ転送し、
前記第2アドレスに基づいて、前記複数のデータと前記1つ以上の有効データとのいずれかを前記第2バッファへ転送するように構成される、
請求項1に記載のストレージドライブ。
【請求項3】
前記第2バッファは、前記複数の論理アドレスにそれぞれ対応する複数の記憶領域を含み、
前記コントローラは、前記複数のデータを前記第2バッファへ転送する場合、前記複数のデータを前記複数の記憶領域へそれぞれ転送するように構成される、
請求項2に記載のストレージドライブ。
【請求項4】
前記第2バッファは、前記複数の論理アドレスにそれぞれ対応する複数の記憶領域を含み、
前記1つ以上の有効データの内の第1有効データは、前記複数の論理アドレスの内のi番目の論理アドレスに格納されているデータであり、iは1から前記1つ以上の有効データの数までのいずれかの整数であり、
前記コントローラは、前記1つ以上の有効データを前記第2バッファへ転送する場合、前記第1有効データを、前記複数の記憶領域の内のi番目の記憶領域へ転送するように構成される、
請求項2に記載のストレージドライブ。
【請求項5】
前記リード要求は、前記第1論理アドレス範囲から読み出される有効データの最大数を特定可能な情報をさらに指定し、
前記コントローラは、さらに、前記第1論理アドレス範囲に前記最大数以下の第1の数の有効データが格納されている場合、
前記第1論理アドレス範囲の先頭を示す第1アドレスと、前記第1論理アドレス範囲の終端を示す第2アドレスと、前記第1の数と、を含む第2情報を、前記ホストメモリへ転送し、
前記第1情報を、前記ホストメモリへ転送し、
前記第1の数の有効データを前記記憶メディアから読み出し、
読み出された前記第1の数の有効データを前記ホストメモリへ転送するように構成され、
前記コントローラは、さらに、前記第1論理アドレス範囲に前記最大数を超える数の有効データが格納されている場合、
前記第1アドレスと、前記第1論理アドレス範囲に格納されている有効データを先頭から順にカウントした数が前記最大数を上回る最初の論理アドレスの1つ前の第3アドレスと、前記最大数と、を含む情報を、前記第2情報として前記ホストメモリへ転送し、
前記第1アドレスから前記第3アドレスまでの1つ以上の論理アドレスのそれぞれに有効データが格納されているか否かを少なくとも示す情報を、前記第1情報として前記ホストメモリへ転送し、
前記複数の論理アドレスにそれぞれ格納されている前記複数のデータの内、先頭から順に前記最大数の有効データを、前記記憶メディアから読み出し、
読み出された前記最大数の有効データを前記ホストメモリへ転送するように構成される、
請求項1に記載のストレージドライブ。
【請求項6】
前記ホストメモリの記憶領域は、前記第1情報を記憶可能な第1バッファと、前記最大数のデータを記憶可能な第2バッファと、前記第2情報を記憶可能な第3バッファとを含み、
前記リード要求は、前記第1バッファを示す第1アドレスと、前記第2バッファを示す第2アドレスと、前記第3バッファを示す第3アドレスとをさらに指定し、
前記コントローラは、
前記第1アドレスに基づいて、前記第1情報を前記第1バッファへ転送し、
前記第2アドレスに基づいて、前記第1の数の有効データと前記最大数の有効データのいずれかを前記第2バッファへ転送し、
前記第3アドレスに基づいて、前記第2情報を前記第3バッファへ転送するように構成される、
請求項5に記載のストレージドライブ。
【請求項7】
前記第2バッファは、前記最大数の記憶領域を含み、
前記コントローラは、
前記第1の数の有効データを前記第2バッファへ転送する場合、前記最大数の記憶領域の内の、先頭から前記第1の数の記憶領域へ、前記第1の数の有効データをそれぞれ転送し、
前記最大数の有効データを前記第2バッファへ転送する場合、前記最大数の記憶領域へ、前記最大数の有効データをそれぞれ転送するように構成される、
請求項6に記載のストレージドライブ。
【請求項8】
ホストに接続可能なストレージドライブであって、
記憶メディアと、
論理アドレス空間を管理し、
前記論理アドレス空間内の第1論理アドレス範囲を指定したライト要求を前記ホストから受信し、
前記第1論理アドレス範囲に含まれる複数の論理アドレスのそれぞれが前記ホストによって使用されているか否かを示す第1情報を、前記ホストに含まれるホストメモリから転送し、
前記複数の論理アドレスにそれぞれ対応する複数のデータと、前記複数のデータの内の1つ以上の有効データと、のいずれかを、前記ホストメモリから転送し、
前記第1情報に基づいて、前記1つ以上の有効データを前記記憶メディアに書き込むように構成されるコントローラと、
を具備するストレージドライブ。
【請求項9】
前記ホストメモリの記憶領域は、前記第1情報を記憶している第1バッファと、前記複数のデータを記憶している第2バッファとを含み、
前記ライト要求は、前記第1バッファを示す第1アドレスと、前記第2バッファを示す第2アドレスとをさらに指定し、
前記コントローラは、
前記第1アドレスに基づいて、前記第1情報を前記第1バッファから転送し、
前記第2アドレスに基づいて、前記複数のデータと前記1つ以上の有効データとのいずれかを前記第2バッファから転送するように構成される、
請求項8に記載のストレージドライブ。
【請求項10】
前記第2バッファは、前記複数のデータがそれぞれ格納されている複数の記憶領域を含み、
前記コントローラは、前記複数のデータを前記第2バッファから転送する場合、前記複数のデータを前記複数の記憶領域からそれぞれ転送するように構成される、
請求項9に記載のストレージドライブ。
(【請求項11】以降は省略されています)
発明の詳細な説明
【技術分野】
【0001】
本発明の実施形態は、記憶メディアを制御するストレージドライブに関する。
続きを表示(約 2,300 文字)
【背景技術】
【0002】
近年、記憶メディアを備えるストレージドライブが広く普及している。このようなストレージドライブの1つとして、NAND型フラッシュメモリを備えるソリッドステートドライブ(SSD)が知られている。ストレージドライブは、様々なコンピューティングデバイスのメインストレージとして使用されている。
【0003】
ストレージドライブは、複数の論理アドレス空間をホストに提供し得る。論理アドレス空間の一例は、ネームスペースと称される論理的な記憶領域である。各ネームスペースに含まれる複数の論理アドレスには、有効データを格納している論理アドレスと、有効データを格納していない論理アドレスとが含まれ得る。換言すると、有効データを格納している論理アドレスは、ホストによって使用されている論理アドレスである。また、有効データを格納していない論理アドレスは、ホストによって使用されていない論理アドレスである。
【0004】
ホストは、ストレージドライブのネームスペースに格納されているデータを別のネームスペースに移行する処理(データ移行処理)を行うことがある。データ移行処理は、例えば、移行元のネームスペースの各論理アドレスに有効データが格納されているか否か(すなわち、各論理アドレスがホストによって使用されているか否か)を示す情報(使用有無情報)を利用することで、効率化され得る。
【0005】
しかしながら、ホストが使用有無情報を考慮してデータ移行処理を行うことは、ホストにおける処理量を増大させる可能性がある。
【先行技術文献】
【特許文献】
【0006】
特開2021-6984号公報
【発明の概要】
【発明が解決しようとする課題】
【0007】
本発明の一実施形態では、ホストにおける処理量を低減できるストレージドライブを提供することを目的とする。
【課題を解決するための手段】
【0008】
実施形態によれば、ホストに接続可能なストレージドライブは、記憶メディアと、コントローラとを具備する。コントローラは、論理アドレス空間を管理する。コントローラは、前記論理アドレス空間内の第1論理アドレス範囲を指定したリード要求をホストから受信する。コントローラは、前記第1論理アドレス範囲に含まれる複数の論理アドレスのそれぞれが前記ホストによって使用されているか否かを示す第1情報を、前記ホストに含まれるホストメモリに転送する。コントローラは、前記複数の論理アドレスの内、前記ホストによって使用されている1つ以上の論理アドレスにそれぞれ格納されている1つ以上の有効データを、前記記憶メディアから読み出す。コントローラは、前記1つ以上の有効データを含む、前記複数の論理アドレスにそれぞれ対応する複数のデータと、前記1つ以上の有効データと、のいずれかを前記ホストメモリへ転送する。
【図面の簡単な説明】
【0009】
比較例に係るストレージドライブを含むストレージシステムにおける、ネームスペース間のデータ移行を示す図。
比較例に係るストレージドライブを含むストレージシステムにおける、論理アドレスの使用有無情報を利用しないネームスペース間のデータ移行を示す図。
比較例に係るストレージドライブを含むストレージシステムにおける、ホストで管理された論理アドレスの使用有無情報を利用したネームスペース間のデータ移行を示す図。
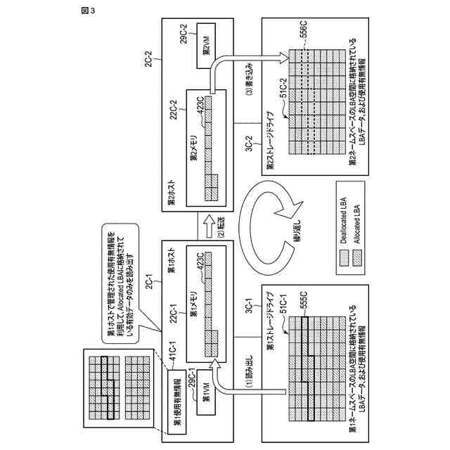
比較例に係るストレージドライブを含むストレージシステムにおける、ストレージドライブで管理された論理アドレスの使用有無情報を利用したネームスペース間のデータ移行を示す図。
第1実施形態に係るストレージドライブを含むストレージシステムの構成例を示すブロック図。
第1実施形態に係るストレージドライブを含むストレージシステムにおける使用有無情報付きデータリード動作の例を示す図。
第2実施形態に係るストレージドライブを含むストレージシステムの構成例を示すブロック図。
第2実施形態に係るストレージドライブを含むストレージシステムにおける使用有無情報付きデータライト動作の例を示す図。
第3実施形態に係るストレージシステムにおけるネームスペース間のデータ移行の例を示す図。
第4実施形態に係るストレージドライブを含むストレージシステムにおける使用有無情報付きデータリード動作の例を示す図。
第5実施形態に係るストレージドライブを含むストレージシステムにおける使用有無情報付きデータライト動作の例を示す図。
第9実施形態に係るストレージドライブを含むストレージシステムの構成例を示すブロック図。
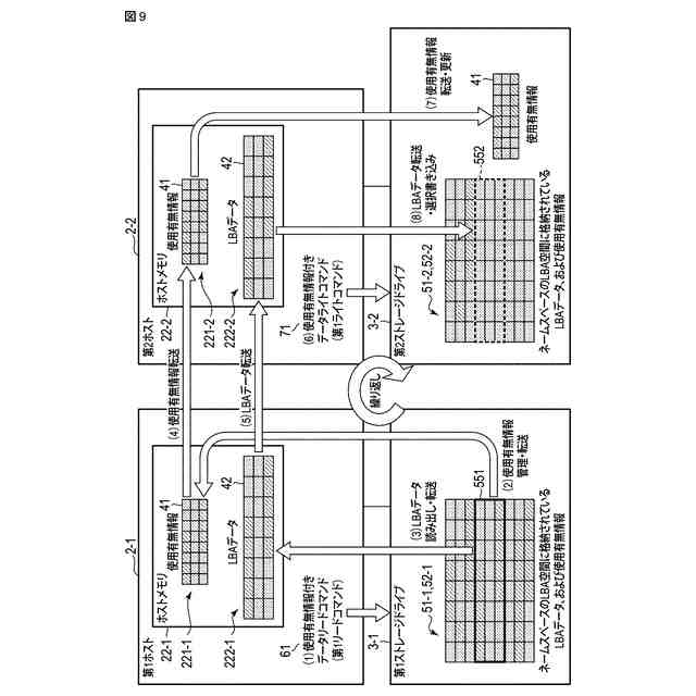
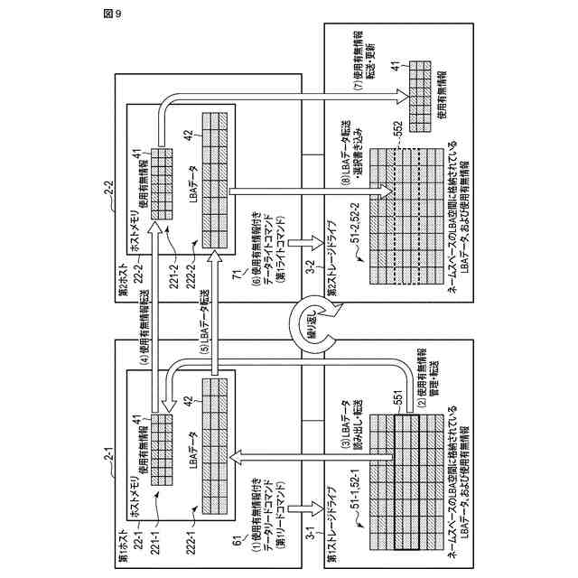
第9実施形態に係るストレージドライブを含むストレージシステムにおける使用有無情報付きデータリード動作の例を示す図。
第10実施形態に係るストレージドライブを含むストレージシステムの構成例を示すブロック図。
第10実施形態に係るストレージドライブを含むストレージシステムにおける使用有無情報付きデータライト動作の例を示す図。
第11実施形態に係るストレージシステムにおけるネームスペース間のデータ移行の例を示す図。
【発明を実施するための形態】
【0010】
以下、実施の形態について図面を参照して説明する。
(【0011】以降は省略されています)
この特許をJ-PlatPat(特許庁公式サイト)で参照する
関連特許
キオクシア株式会社
記憶装置
6日前
キオクシア株式会社
記憶装置
2日前
キオクシア株式会社
記憶装置
今日
キオクシア株式会社
記憶装置
今日
キオクシア株式会社
半導体装置
6日前
キオクシア株式会社
半導体装置
今日
キオクシア株式会社
磁気記憶装置
今日
キオクシア株式会社
磁気記憶装置
2日前
キオクシア株式会社
磁気記憶装置
2日前
キオクシア株式会社
磁気記憶装置
今日
キオクシア株式会社
基板ユニット
2日前
キオクシア株式会社
通信システム
今日
キオクシア株式会社
半導体記憶装置
今日
キオクシア株式会社
半導体記憶装置
2日前
キオクシア株式会社
メモリデバイス
5日前
キオクシア株式会社
半導体記憶装置
今日
キオクシア株式会社
メモリデバイス
今日
キオクシア株式会社
半導体記憶装置
2日前
キオクシア株式会社
半導体記憶装置
2日前
キオクシア株式会社
半導体記憶装置
2日前
キオクシア株式会社
半導体記憶装置
今日
キオクシア株式会社
ストレージドライブ
2日前
キオクシア株式会社
半導体装置の製造方法
今日
キオクシア株式会社
半導体記憶装置の製造方法
2日前
キオクシア株式会社
情報処理装置及びコネクタ
今日
キオクシア株式会社
半導体装置及びメモリシステム
2日前
キオクシア株式会社
半導体装置およびその製造方法
2日前
キオクシア株式会社
半導体装置および半導体記憶装置
2日前
キオクシア株式会社
管理方法およびデータベース装置
今日
キオクシア株式会社
保証装置、保証方法、および保証プログラム
2日前
キオクシア株式会社
解析装置、解析方法、および解析プログラム
今日
キオクシア株式会社
半導体記憶装置、メモリシステム、および方法
今日
キオクシア株式会社
パターン形成方法および半導体装置の製造方法
6日前
キオクシア株式会社
インプリント方法および半導体装置の製造方法
2日前
キオクシア株式会社
半導体記憶装置および半導体記憶装置の製造方法
今日
キオクシア株式会社
半導体記憶装置および半導体記憶装置の製造方法
5日前
続きを見る
他の特許を見る