TOP
|
特許
|
意匠
|
商標
特許ウォッチ
Twitter
他の特許を見る
10個以上の画像は省略されています。
公開番号
2025142888
公報種別
公開特許公報(A)
公開日
2025-10-01
出願番号
2024042488
出願日
2024-03-18
発明の名称
管理方法およびデータベース装置
出願人
キオクシア株式会社
代理人
弁理士法人酒井国際特許事務所
主分類
G06F
16/18 20190101AFI20250924BHJP(計算;計数)
要約
【課題】ストレージデバイスにライトされるデータの量を抑制できる管理方法およびデータベース装置を提供すること。
【解決手段】ストレージデバイスに格納された第1ベクトルデータベースは、複数の第1ベクトルのそれぞれを示す第1情報片の群が記録される。複数の第1ベクトルは第1有向グラフを構成する複数のノードに対応する。管理方法は、2以上の第2ベクトルに対応する2以上のノードを含む第2有向グラフを生成しながら、揮発性メモリ内に、2以上の第2ベクトルのそれぞれを示す第3情報片の群が記録された第2ベクトルデータベースを生成することを含む。管理方法は、第1情報片の群および第3情報片の群のうちの1つの情報片を更新または設定することによって第1有向グラフと第2有向グラフとを結合して、第2ベクトルデータベースをストレージデバイスに格納することを含む。
【選択図】図7
特許請求の範囲
【請求項1】
複数の第1ベクトルのそれぞれを示す第1情報片の群が記録された第1ベクトルデータベースをストレージデバイスに格納することと、前記複数の第1ベクトルは第1有向グラフを構成する複数のノードに対応し、前記第1情報片の群に含まれるそれぞれの第1情報片は前記複数の第1ベクトルのうちの1つと隣接ノードに対応するベクトルを示す第2情報片とを含み、
2以上の第2ベクトルに対応する2以上のノードを含む第2有向グラフを生成しながら、揮発性メモリ内に、前記2以上の第2ベクトルのそれぞれを示す第3情報片の群が記録された第2ベクトルデータベースを生成することと、前記第3情報片の群に含まれるそれぞれの第3情報片は前記2以上の第2ベクトルのうちの1つと隣接ノードに対応するベクトルを示す第4情報片とを含み、
前記第1情報片の群および前記第3情報片の群のうちの少なくとも1つの情報片を更新または設定することによって前記第1有向グラフと前記第2有向グラフとを結合することと、
前記第2ベクトルデータベースを前記ストレージデバイスに格納することと、
を含む管理方法。
続きを表示(約 1,500 文字)
【請求項2】
前記第1有向グラフと前記第2有向グラフとを結合することは、前記第1情報片の群および前記第3情報片の群のうちの、前記第1有向グラフと前記第2有向グラフとの境界を挟んで互いに隣接する2つのノードのうちの上流側のノードに対応する情報片、を更新または設定することを含む、
請求項1に記載の管理方法。
【請求項3】
前記第2ベクトルデータベースを生成することは、前記第1有向グラフと前記第2有向グラフとを結合することを含み、
前記第2ベクトルデータベースが前記揮発性メモリに格納されているときにクエリが入力された場合、前記ストレージデバイス内の前記第1ベクトルデータベースと前記揮発性メモリ内前記第2ベクトルデータベースとに基づき、前記クエリに最も近いベクトルを探索すること、
をさらに含む、
請求項1または請求項2に記載の管理方法。
【請求項4】
前記第2ベクトルデータベースが前記揮発性メモリに格納されているときにクエリが入力された場合、
前記ストレージデバイス内の前記第1ベクトルデータベースに基づく前記クエリに最も近いベクトルの探索と、前記揮発性メモリ内前記第2ベクトルデータベースに基づく前記クエリに最も近いベクトルの探索と、を実行することと、
前記ストレージデバイス内の前記第1ベクトルデータベースに基づく探索の結果と、前記揮発性メモリ内前記第2ベクトルデータベースに基づく探索の結果と、に基づき前記クエリに最も近いベクトルを特定することと、
をさらに含む、
請求項1または請求項2に記載の管理方法。
【請求項5】
前記ストレージデバイスは、複数の単位記憶領域を備え、前記複数の単位記憶領域のそれぞれは前記ストレージデバイスにおけるデータのライトおよびリードの単位に対応し、
前記第1ベクトルデータベースをストレージデバイスに格納することは、前記複数の単位記憶領域のうちの1つ当たりに前記第1情報片の群に含まれる整数個の第1情報片を格納することを含み、
前記第2ベクトルデータベースを前記ストレージデバイスに格納することは、前記複数の単位記憶領域のうちの1つ当たりに前記第3情報片の群に含まれる整数個の第3情報片を格納することを含む、
請求項1に記載の管理方法。
【請求項6】
複数の第1ベクトルのそれぞれを示す第1情報片の群が記録された第1ベクトルデータベースが格納され、前記複数の第1ベクトルは第1有向グラフを構成する複数のノードに対応し、前記第1情報片の群に含まれるそれぞれの第1情報片は前記複数の第1ベクトルのうちの1つと隣接ノードに対応するベクトルを示す第2情報片とを含む、ストレージデバイスと、
揮発性メモリと、
2以上の第2ベクトルに対応する2以上のノードを含む第2有向グラフを生成しながら、前記揮発性メモリ内に、前記2以上の第2ベクトルのそれぞれを示す第3情報片の群が記録された第2ベクトルデータベースを生成することと、前記第3情報片の群に含まれるそれぞれの第3情報片は前記2以上の第2ベクトルのうちの1つと隣接ノードに対応するベクトルを示す第4情報片とを含み、
前記第1情報片の群および前記第3情報片の群のうちの少なくとも1つの情報片を更新または設定することによって前記第1有向グラフと前記第2有向グラフとを結合することと、
前記第2ベクトルデータベースを前記ストレージデバイスに格納することと、
を実行するように構成されたプロセッサと、
を備えるデータベース装置。
発明の詳細な説明
【技術分野】
【0001】
本実施形態は、管理方法およびデータベース装置に関する。
続きを表示(約 2,500 文字)
【背景技術】
【0002】
データをベクトル形式で管理するベクトルデータベースがある。ベクトルデータベースは、近似近傍探索(Approximate Nearest Neighbor Search : ANNS)などの探索動作を可能にする。ANNSのアルゴリズムの一例として、DiskANN(Disk-based Approximate Nearest Neighbor search)が知られている。
【0003】
DiskANNによれば、ベクトルデータの群がストレージデバイスに配置され、ベクトルデータの群に対応した有向グラフを規定するインデックス情報が揮発性メモリに配置される。そして、インデックス情報によって規定された有向グラフに沿って、クエリに最も近いベクトルデータが探索される。
【先行技術文献】
【非特許文献】
【0004】
Suhas Jayaram Subramanya, Devvrit, Rohan Kadekodi, Ravishankar Krishaswamy, and Harsha Vardhan Simhadri, “DiskANN: Fast Accurate Billion-point Nearest Neighbor Search on a Single Node”, [online], November 2019, NeurIPS, [retrieved on 2022-12-11], retrieved from the Internet: <URL: https://suhasjs.github.io/files/diskann_neurips19.pdf>
【発明の概要】
【発明が解決しようとする課題】
【0005】
一つの実施形態は、ストレージデバイスにライトされるデータの量を抑制できる管理方法およびデータベース装置を提供することを目的とする。
【課題を解決するための手段】
【0006】
一つの実施形態によれば、管理方法は、第1ベクトルデータベースをストレージデバイスに格納することと、揮発性メモリ内に第2ベクトルデータベースを生成することと、を含む。第1ベクトルデータベースは、複数の第1ベクトルのそれぞれを示す第1情報片の群が記録される。複数の第1ベクトルは第1有向グラフを構成する複数のノードに対応する。第1情報片の群に含まれるそれぞれの第1情報片は複数の第1ベクトルのうちの1つと隣接ノードに対応するベクトルを示す第2情報片とを含む。揮発性メモリ内に第2ベクトルデータベースを生成することは、2以上の第2ベクトルに対応する2以上のノードを含む第2有向グラフを生成しながら、揮発性メモリ内に、2以上の第2ベクトルのそれぞれを示す第3情報片の群が記録された第2ベクトルデータベースを生成することである。第3情報片の群に含まれるそれぞれの第3情報片は2以上の第2ベクトルのうちの1つと隣接ノードに対応するベクトルを示す第4情報片とを含む。管理方法は、さらに、第1情報片の群および第3情報片の群のうちの少なくとも1つの情報片を更新または設定することによって第1有向グラフと第2有向グラフとを結合することと、第2ベクトルデータベースをストレージデバイスに格納することと、を含む。
【図面の簡単な説明】
【0007】
第1の実施形態にかかるデータベース装置の構成の一例を示す図。
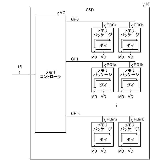
第1の実施形態にかかるデータベース装置が備えるSSDの構成の一例を示す図。
第1の実施形態にかかる各メモリダイの構成の一例を示す図。
第1の実施形態にかかるブロックの構成の一例を示す図。
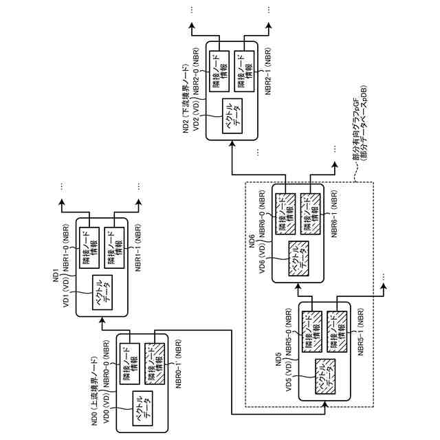
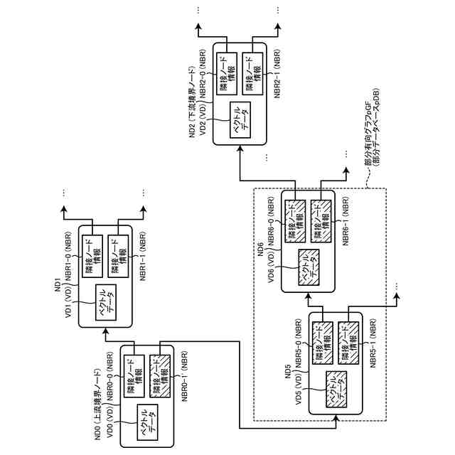
第1の実施形態にかかるベクトルデータベースによって管理されるベクトルデータの群に対応する有向グラフの一例を説明するための図。
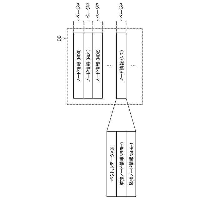
第1の実施形態にかかるベクトルデータベースの構成の一例を示す図。
第1の実施形態にかかる新しいノードの追加方法を説明するための図。
第1の実施形態にかかるプロセッサによる、部分データベースを生成してから部分データベースをSSDに格納するまでの動作を説明するための図。
部分有向グラフが有向グラフの上流側に追加される場合の探索動作を説明するための図。
部分有向グラフが有向グラフの下流側に追加される場合の探索動作を説明するための図。
部分有向グラフが有向グラフのボディ部に追加される場合の探索動作を説明するための図。
第1の実施形態にかかるデータベース装置の動作の一例を示すフローチャート。
第2の実施形態にかかるデータベース装置の新しいノードの追加時の動作の一例を示すフローチャート。
第2の実施形態にかかる探索動作を説明するための図。
変形例1にかかるデータベース装置におけるSSDの使用方法の一例を示す図。
変形例2にかかるデータベース装置におけるSSDの使用方法の一例を示す図。
【発明を実施するための形態】
【0008】
以下に添付図面を参照して、実施形態にかかる管理方法およびデータベース装置を詳細に説明する。なお、これらの実施形態により本発明が限定されるものではない。
【0009】
(第1の実施形態)
図1は、第1の実施形態にかかるデータベース装置の構成の一例を示す図である。
【0010】
図1に示す例では、データベース装置1は、プロセッサ11、インタフェース12、SSD(Solid State Drive)13、DRAM(Dynamic Random Access Memory)14、およびバス15を備える。プロセッサ11、インタフェース12、SSD13、およびDRAM14は、バス15を介して相互に電気的に接続される。
(【0011】以降は省略されています)
この特許をJ-PlatPat(特許庁公式サイト)で参照する
関連特許
キオクシア株式会社
記憶装置
今日
キオクシア株式会社
半導体記憶装置
今日
キオクシア株式会社
半導体記憶装置
今日
キオクシア株式会社
メモリデバイス
今日
キオクシア株式会社
メモリシステム
今日
キオクシア株式会社
メモリシステム
今日
キオクシア株式会社
有機分子メモリ
今日
キオクシア株式会社
半導体記憶装置
今日
キオクシア株式会社
メモリデバイス
今日
キオクシア株式会社
半導体記憶装置
今日
キオクシア株式会社
半導体記憶装置
今日
キオクシア株式会社
半導体記憶装置
今日
キオクシア株式会社
半導体記憶装置
今日
キオクシア株式会社
半導体記憶装置
今日
キオクシア株式会社
メモリシステム
今日
キオクシア株式会社
磁気メモリデバイス
今日
キオクシア株式会社
評価方法及び評価装置
今日
キオクシア株式会社
送信装置及び半導体装置
今日
キオクシア株式会社
半導体装置及び記憶媒体
今日
キオクシア株式会社
半導体集積回路、受信装置、及び受信方法
今日
キオクシア株式会社
半導体記憶装置の製造方法及び半導体記憶装置
今日
キオクシア株式会社
半導体記憶装置及び半導体記憶装置の制御方法
今日
キオクシア株式会社
電源管理回路、メモリシステム及び電源管理方法
今日
株式会社東芝
ワイヤボンディング装置及び制御方法
今日
キオクシア株式会社
半導体装置、半導体記憶装置及び半導体装置の製造方法
今日
キオクシア株式会社
メモリシステム
今日
キオクシア株式会社
半導体集積回路、メモリコントローラ及び半導体集積回路の制御方法
今日
株式会社東芝
ワイヤボンディング装置、及び動作方法、及び制御方法
今日
キオクシア株式会社
犠牲層付きテンプレート、犠牲層付きテンプレートの製造方法、犠牲層付きテンプレートの再製造方法および半導体装置の製造方法
今日
個人
工程設計支援装置
1か月前
個人
地球保全システム
2日前
個人
為替ポイント伊達夢貯
29日前
個人
冷凍食品輸出支援構造
29日前
個人
表変換編集支援システム
22日前
個人
携帯情報端末装置
1か月前
個人
知財出願支援AIシステム
29日前
続きを見る
他の特許を見る