TOP
|
特許
|
意匠
|
商標
特許ウォッチ
Twitter
他の特許を見る
公開番号
2025146786
公報種別
公開特許公報(A)
公開日
2025-10-03
出願番号
2025045335
出願日
2025-03-19
発明の名称
ワイヤボンディング装置、及び動作方法、及び制御方法
出願人
株式会社東芝
,
キオクシア株式会社
代理人
弁理士法人iX
主分類
H01L
21/60 20060101AFI20250926BHJP(基本的電気素子)
要約
【課題】接合不良の発生を抑制することができるワイヤボンディング装置、及び動作方法、及び制御方法を提供する。
【解決手段】一実施形態によると、ワイヤボンディング装置の制御部は、径検出部により検出される前記ボール形状部分の径と、前記ボンディング点において前記荷重センサが荷重を検出したときに前記位置検出部により検出される前記ボンディングツールの第1位置と、前記ボンディング点において前記ボンディングツールが最も下降したときの前記ボンディングツールの第2位置と、に基づいて、バンプの高さを算出し、この算出した前記バンプの高さに基づいて、前記ワイヤを接合させる。前記制御部は、チップに形成される複数の前記バンプの複数の前記第1位置をそれぞれ取得し、前記複数の第1位置の相対位置関係を算出する
【選択図】図13
特許請求の範囲
【請求項1】
ボンディング点にワイヤを押し当てた状態で超音波振動を発生させることで、前記ワイヤを前記ボンディング点に接合させるワイヤボンディング装置であって、
ボンディングツールと、
超音波振動を発生させる超音波ホーンと、
前記ボンディングツールから前記ボンディング点にかかる荷重を検出する荷重センサと、
前記ボンディングツールの鉛直方向の位置を検出する位置検出部と、
前記ボンディング点において、前記ボンディングツールの先端に形成されるボール形状部分の径を検出する径検出部と、
前記径検出部により検出される前記ボール形状部分の径と、前記ボンディング点において前記荷重センサが荷重を検出したときに前記位置検出部により検出される前記ボンディングツールの第1位置と、前記ボンディング点において前記ボンディングツールが最も下降したときの前記ボンディングツールの第2位置と、に基づいて、バンプの高さを算出し、この算出した前記バンプの高さに基づいて、前記ワイヤを接合させる制御部と、
を備え、
前記制御部は、チップに形成される複数の前記バンプの複数の前記第1位置をそれぞれ取得し、前記複数の第1位置の相対位置関係を算出する、
ワイヤボンディング装置。
続きを表示(約 1,200 文字)
【請求項2】
前記制御部は、前記相対位置関係に基づいて、前記チップの前記バンプが形成された面に関する情報を取得する、請求項1に記載のワイヤボンディング装置。
【請求項3】
前記制御部は、前記相対位置関係に基づいて、前記チップに接合される別のチップに塗布する接着剤の塗布量を調整する、請求項1に記載のワイヤボンディング装置。
【請求項4】
前記制御部は、前記相対位置関係に基づいて、前記算出したバンプの高さを補正する、請求項1に記載のワイヤボンディング装置。
【請求項5】
ボンディング点にワイヤを押し当てた状態で超音波振動を発生させることで、前記ワイヤを前記ボンディング点に接合させるワイヤボンディング装置の動作方法であって、
前記ボンディング点において、ボンディングツールの先端に形成されるボール形状部分の径を検出し、
前記ボンディングツールから前記ボンディング点にかかる荷重が検出されたときに、前記ボンディングツールの鉛直方向における第1位置を検出し、
前記ボンディング点において前記ボンディングツールが最も下降したときの前記ボンディングツールの鉛直方向における第2位置を検出し、
前記ボール形状部分の前記径と、前記第1位置と、前記第2位置と、に基づいて、バンプの高さを算出し、
算出した前記バンプの高さに基づいて、前記ワイヤを接合させ、
チップに形成される複数の前記バンプの複数の前記第1位置をそれぞれ取得し、前記複数の第1位置の相対位置関係を算出する、動作方法。
【請求項6】
前記相対位置関係に基づいて、前記チップの前記バンプが形成された面に関する情報を取得する、請求項5に記載の動作方法。
【請求項7】
前記相対位置関係に基づいて、前記チップに接合される別のチップに塗布する接着剤の塗布量を調整する、請求項5に記載の動作方法。
【請求項8】
前記相対位置関係に基づいて、前記算出したバンプの高さを補正する、請求項5に記載の動作方法。
【請求項9】
ワイヤボンディング装置のボンディングツールを、第1チップにおける所定のボンディング点に向けて移動させ、
前記ボンディングツールから前記ボンディング点にかかる荷重が検出されたときに、前記ボンディングツールの鉛直方向における第1位置を検出し、
前記第1位置の検出後に前記ボンディング点にバンプを形成する制御方法であって、
前記第1チップに形成される複数の前記バンプの複数の前記第1位置をそれぞれ取得し、前記複数の第1位置の相対位置関係を算出する、制御方法。
【請求項10】
前記第1チップに前記複数のバンプを形成した後、第2チップにおいて、前記複数のバンプと対応する位置に複数の接着剤をそれぞれ設ける、請求項9に記載の制御方法。
(【請求項11】以降は省略されています)
発明の詳細な説明
【技術分野】
【0001】
本発明の実施形態は、ワイヤボンディング装置、及び動作方法、及び制御方法に関する。
続きを表示(約 2,000 文字)
【背景技術】
【0002】
回路基板の半導体チップを実装する側の面を計測し、端子との接触高さを調整する方法が知られている。この調整は、端子の導電性ボールサイズを調整することにより行われる。
【先行技術文献】
【特許文献】
【0003】
特許第3938024号公報
【発明の概要】
【発明が解決しようとする課題】
【0004】
ワイヤを被接合部に接合する場合に、バンプを形成する部材の平面度が悪いと、現実のバンプ高さと、計算して得られるバンプ高さと、で誤差が生じる。このように誤差が生じると、接合不良が生じるおそれがある。
【0005】
本発明の実施形態は、接合不良の発生を抑制することができるワイヤボンディング装置、及び動作方法、及び制御方法を提供する。
【課題を解決するための手段】
【0006】
実施形態によれば、ワイヤボンディング装置は、ボンディング点にワイヤを押し当てた状態で超音波振動を発生させることで、前記ワイヤを前記ボンディング点に接合させる。前記ワイヤボンディング装置は、ボンディングツールと、超音波ホーンと、荷重センサと、位置検出部と、径検出部と、制御部と、を備える。前記超音波ホーンは、超音波振動を発生させる。前記荷重センサは、前記ボンディングツールから前記ボンディング点にかかる荷重を検出する。前記位置検出部は、前記ボンディングツールの鉛直方向の位置を検出する。前記径検出部は、前記ボンディング点において、前記ボンディングツールの先端に形成されるボール形状部分の径を検出する。前記制御部は、バンプの高さを算出し、この算出した前記バンプの高さに基づいて前記ワイヤを接合させる。前記バンプの高さは、前記径検出部により検出される前記ボール形状部分の径と、前記ボンディング点において前記荷重センサが荷重を検出したときに前記位置検出部により検出される前記ボンディングツールの第1位置と、前記ボンディング点において前記ボンディングツールが最も下降したときの前記ボンディングツールの第2位置と、に基づいて、算出される。前記制御部は、チップに形成される複数の前記バンプの複数の前記第1位置をそれぞれ取得し、前記複数の第1位置の相対位置関係を算出する。
【図面の簡単な説明】
【0007】
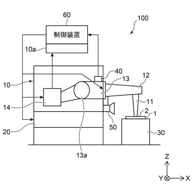
第1実施形態に係るワイヤボンディング装置の一例を模式的に示す概略図。
第1実施形態に係るワイヤボンディング装置の一部を模式的に示す概略図。
ワイヤが接合されていく流れを説明するための図。
ワイヤ接合工程の一例を示す図。
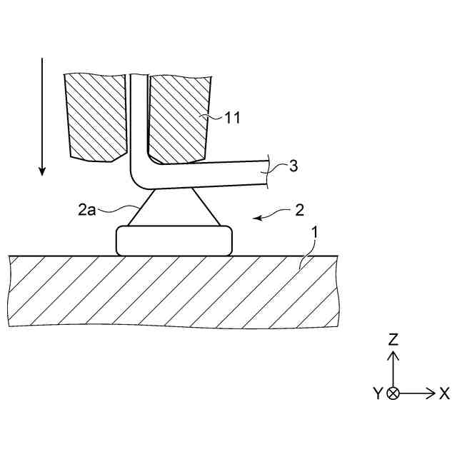
先頭のバンプを形成する工程の一例を説明するための図。
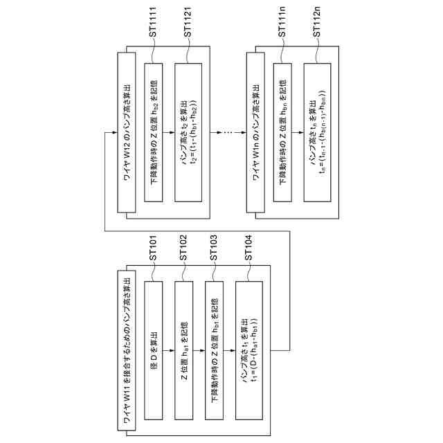
バンプの高さを算出する処理の一例を示すフローチャート。
2番目のバンプのバンプ高さの算出方法の一例を説明するための図。
第2実施形態に係るワイヤボンディング装置のバンプを形成する面の形状を検出する処理を説明するための図。
チップの上面図。
図9をY方向から見た側面図。
図9をX方向から見た側面図。
チップの高さ分布の一例を示す図。
接着剤の量を調整する処理の一例を示すフローチャート。
塗布量の決定結果の一例を示す図。
チップに形成されたバンプの一例を示す図。
チップに塗布した接着剤の一例を示す図。
チップと、別のチップと、を接合した状態の一例を示す図。
【発明を実施するための形態】
【0008】
以下に、本発明の実施形態について図面を参照しつつ説明する。
図面は模式的または概念的なものであり、各部分の厚さと幅との関係、部分間の大きさの比率などは、必ずしも現実のものと同一とは限らない。同じ部分を表す場合であっても、図面により互いの寸法や比率が異なって表される場合もある。
本願明細書と各図において、既出の図に関して前述したものと同様の要素には同一の符号を付して詳細な説明は適宜省略する。
【0009】
(第1実施形態)
図1は、実施形態に係るワイヤボンディング装置を模式的に示す概略図である。図2は、実施形態に係るワイヤボンディング装置の一部を模式的に示す概略図である。
図1及び図2に示すように、実施形態に係るワイヤボンディング装置100は、ボンディングヘッド10と、位置検出部10aと、XYステージ20と、ボンディングステージ30と、荷重センサ40と、カメラ装置50と、制御部60と、を備えている。
【0010】
ボンディングヘッド10は、ボンディングツール11と、超音波ホーン12と、ボンディングアーム13と、駆動部14と、を有している。
(【0011】以降は省略されています)
この特許をJ-PlatPat(特許庁公式サイト)で参照する
関連特許
株式会社東芝
センサ
1か月前
株式会社東芝
センサ
1か月前
株式会社東芝
モータ
26日前
株式会社東芝
センサ
1か月前
株式会社東芝
吸音装置
26日前
株式会社東芝
金型構造
1か月前
株式会社東芝
電子装置
10日前
株式会社東芝
電子装置
25日前
株式会社東芝
電子回路
6日前
株式会社東芝
半導体装置
28日前
株式会社東芝
半導体装置
28日前
株式会社東芝
半導体装置
10日前
株式会社東芝
半導体装置
28日前
株式会社東芝
半導体装置
10日前
株式会社東芝
半導体装置
10日前
株式会社東芝
半導体装置
1か月前
株式会社東芝
真空バルブ
11日前
株式会社東芝
半導体装置
28日前
株式会社東芝
半導体装置
11日前
株式会社東芝
半導体装置
6日前
株式会社東芝
半導体装置
12日前
株式会社東芝
半導体装置
12日前
株式会社東芝
半導体装置
12日前
株式会社東芝
半導体装置
12日前
株式会社東芝
半導体装置
28日前
株式会社東芝
半導体装置
12日前
株式会社東芝
半導体装置
1か月前
株式会社東芝
半導体装置
28日前
株式会社東芝
粒子加速器
25日前
株式会社東芝
半導体装置
13日前
株式会社東芝
半導体装置
6日前
株式会社東芝
高周波回路
6日前
株式会社東芝
電動送風機
2か月前
株式会社東芝
真空バルブ
5日前
株式会社東芝
半導体装置
6日前
株式会社東芝
半導体装置
6日前
続きを見る
他の特許を見る