TOP
|
特許
|
意匠
|
商標
特許ウォッチ
Twitter
他の特許を見る
10個以上の画像は省略されています。
公開番号
2025146038
公報種別
公開特許公報(A)
公開日
2025-10-03
出願番号
2024046608
出願日
2024-03-22
発明の名称
半導体装置、半導体記憶装置及び半導体装置の製造方法
出願人
キオクシア株式会社
代理人
個人
,
個人
,
個人
主分類
H10B
12/00 20230101AFI20250926BHJP()
要約
【課題】酸素を含む半導体層と導電体層との接触抵抗を低減する。
【解決手段】半導体装置は、第1導電体層と、第2導電体層と、前記第1導電体層と前記第2導電体層との間に設けられた酸化物半導体層と、前記酸化物半導体層を囲むゲート電極と、前記ゲート電極と前記酸化物半導体層との間に設けられたゲート絶縁膜と、を備え、前記酸化物半導体層は、インジウム、ガリウム、亜鉛、アルミニウム、錫、チタン、ケイ素、ゲルマニウム、銅、ヒ素及びタングステンのうちの少なくとも1つと、酸素と、を含み、第1端及び第2端を有し、前記第1導電体層は、窒素、硫黄、セレン、テルル、ハフニウム、タンタル、タングステン、レニウム、オスミウム、イリジウム、ビスマス、ランタン、イットリウム、亜鉛、カドミウム及び水銀のうちの少なくとも1つである第1元素と、インジウム、錫及び酸素と、を含み、前記酸化物半導体層の前記第1端は、前記第1導電体層と接する。
【選択図】図3
特許請求の範囲
【請求項1】
第1導電体層と、
第2導電体層と、
前記第1導電体層と前記第2導電体層との間に設けられた酸化物半導体層と、
前記酸化物半導体層を囲むゲート電極と、
前記ゲート電極と前記酸化物半導体層との間に設けられたゲート絶縁膜と、
を備え、
前記酸化物半導体層は、インジウム、ガリウム、亜鉛、アルミニウム、錫、チタン、ケイ素、ゲルマニウム、銅、ヒ素及びタングステンのうちの少なくとも1つと、酸素と、を含み、第1端及び第2端を有し、
前記第1導電体層は、窒素、硫黄、セレン、テルル、ハフニウム、タンタル、タングステン、レニウム、オスミウム、イリジウム、ビスマス、ランタン、イットリウム、亜鉛、カドミウム及び水銀のうちの少なくとも1つである第1元素と、インジウム、錫及び酸素と、を含み、
前記酸化物半導体層の前記第1端は、前記第1導電体層と接する、
半導体装置。
続きを表示(約 1,600 文字)
【請求項2】
前記半導体装置は、
前記第1導電体層から前記第2導電体層に向かう第1方向に垂直な第1断面において前記第1導電体層を囲み、前記第1導電体層に接する第1キャパシタ電極と、
前記第1断面において、前記第1キャパシタ電極を囲み、前記第1キャパシタ電極に接する誘電膜と、
前記第1断面において、前記誘電膜を囲み、前記誘電膜に接する第2キャパシタ電極と、をさらに備える、
請求項1に記載の半導体装置。
【請求項3】
前記第1導電体層における前記第1元素の濃度は、3%以上である、
請求項1に記載の半導体装置。
【請求項4】
前記第2導電体層は、窒素、硫黄、セレン、テルル、ハフニウム、タンタル、タングステン、レニウム、オスミウム、イリジウム、ビスマス、ランタン、イットリウム、亜鉛、カドミウム及び水銀のうちの少なくとも1つである第2元素と、インジウム、錫及び酸素と、を含み、
前記酸化物半導体層の前記第2端は、前記第2導電体層と接し、
前記第1導電体層における前記第1元素の濃度は、前記第2導電体層における前記第2元素の濃度より高い、
請求項1に記載の半導体装置。
【請求項5】
第2導電体層は、窒素、硫黄、セレン、テルル、ハフニウム、タンタル、タングステン、レニウム、オスミウム、イリジウム、ビスマス、ランタン、イットリウム、亜鉛、カドミウム及び水銀のうちの少なくとも1つである第2元素と、インジウム、錫及び酸素と、を含み、
前記酸化物半導体層の前記第2端は、前記第2導電体層と接し、
前記第1導電体層における前記第1元素の濃度は、前記第2導電体層における前記第2元素の濃度より低い、
請求項1に記載の半導体装置。
【請求項6】
前記第1導電体層から前記第2導電体層に向かう第1方向に垂直な第1断面において、前記ゲート絶縁膜は前記第2導電体層の少なくとも一部を囲む、
請求項5に記載の半導体装置。
【請求項7】
前記第1導電体層における第1位置における前記第1元素の濃度は、前記第1位置よりも前記酸化物半導体層に近い第2位置における前記第1元素の濃度より低い、
請求項1に記載の半導体装置。
【請求項8】
前記第1導電体層における第1位置における前記第1元素の濃度は、前記第1位置よりも前記酸化物半導体層に近い第2位置における前記第1元素の濃度より高い、
請求項1に記載の半導体装置。
【請求項9】
請求項1に記載の半導体装置と、
前記第1導電体層に電気的に接続されたキャパシタと、
を備え、
前記キャパシタは、第1キャパシタ電極、第2キャパシタ電極及び前記第1キャパシタ電極と前記第2キャパシタ電極との間に設けられた誘電膜を含む、
半導体記憶装置。
【請求項10】
窒素、硫黄、セレン、テルル、ハフニウム、タンタル、タングステン、レニウム、オスミウム、イリジウム、ビスマス、ランタン、イットリウム、亜鉛、カドミウム及び水銀のうちの少なくとも1つと、インジウム、錫及び酸素と、を含む酸化物導電膜を基板上に形成し、
前記酸化物導電膜の上に、第1絶縁膜、第2導電膜及び第2絶縁膜が積層された構造を形成し、
前記基板上に形成された前記酸化物導電膜の表面が露出するように、前記構造に穴部を形成し、
前記穴部の内部を被覆するように第3絶縁膜を形成し、
前記酸化物導電膜の上に形成された前記第3絶縁膜を除去し、
前記酸化物導電膜に接するように酸化物半導体膜を前記穴部に形成する、ことを含む、
半導体装置の製造方法。
(【請求項11】以降は省略されています)
発明の詳細な説明
【技術分野】
【0001】
本実施形態は、半導体装置、半導体記憶装置及び半導体装置の製造方法に関する。
続きを表示(約 2,800 文字)
【背景技術】
【0002】
半導体素子の中には、酸素を含むものがある。
【先行技術文献】
【特許文献】
【0003】
米国特許出願公開US2012/0187396号明細書
米国特許出願公開US2014/0048797号明細書
米国特許出願公開US2023/0008261号明細書
【発明の概要】
【発明が解決しようとする課題】
【0004】
酸素を含む半導体層と導電体層との接触抵抗を低減する技術が求められる。
【0005】
本開示は、酸素を含む半導体層と導電体層との接触抵抗を低減することが可能な半導体装置、半導体記憶装置及び半導体装置の製造方法を提供することを目的とする。
【課題を解決するための手段】
【0006】
本開示に係る半導体装置は、第1導電体層と、第2導電体層と、前記第1導電体層と前記第2導電体層との間に設けられた酸化物半導体層と、前記酸化物半導体層を囲むゲート電極と、前記ゲート電極と前記酸化物半導体層との間に設けられたゲート絶縁膜と、を備え、前記酸化物半導体層は、インジウム、ガリウム、亜鉛、アルミニウム、錫、チタン、ケイ素、ゲルマニウム、銅、ヒ素及びタングステンのうちの少なくとも1つと、酸素と、を含み、第1端及び第2端を有し、前記第1導電体層は、窒素、硫黄、セレン、テルル、ハフニウム、タンタル、タングステン、レニウム、オスミウム、イリジウム、ビスマス、ランタン、イットリウム、亜鉛、カドミウム及び水銀のうちの少なくとも1つである第1元素と、インジウム、錫及び酸素と、を含み、前記酸化物半導体層の前記第1端は、前記第1導電体層と接する。
【0007】
本開示に係る半導体記憶装置は、前記半導体装置と、前記第1導電体層に電気的に接続されたキャパシタと、を備え、前記キャパシタは、第1キャパシタ電極、第2キャパシタ電極及び前記第1キャパシタ電極と前記第2キャパシタ電極との間に設けられた誘電膜を含む。
【0008】
本開示に係る半導体装置の製造方法は、窒素、硫黄、セレン、テルル、ハフニウム、タンタル、タングステン、レニウム、オスミウム、イリジウム、ビスマス、ランタン、イットリウム、亜鉛、カドミウム及び水銀のうちの少なくとも1つと、インジウム、錫及び酸素と、を含む第1酸化物導電膜を基板上に形成し、前記第1酸化物導電膜の上に、第1絶縁膜、第2導電膜及び第2絶縁膜が積層された構造を形成し、前記基板上に形成された前記第1酸化物導電膜の表面が露出するように、前記構造に穴部を形成し、前記穴部の内部を被覆するように第3絶縁膜を形成し、前記第1酸化物導電膜の上に形成された前記第3絶縁膜を除去し、前記第1酸化物導電膜に接するように酸化物半導体膜を前記穴部に形成する、ことを含む。
【図面の簡単な説明】
【0009】
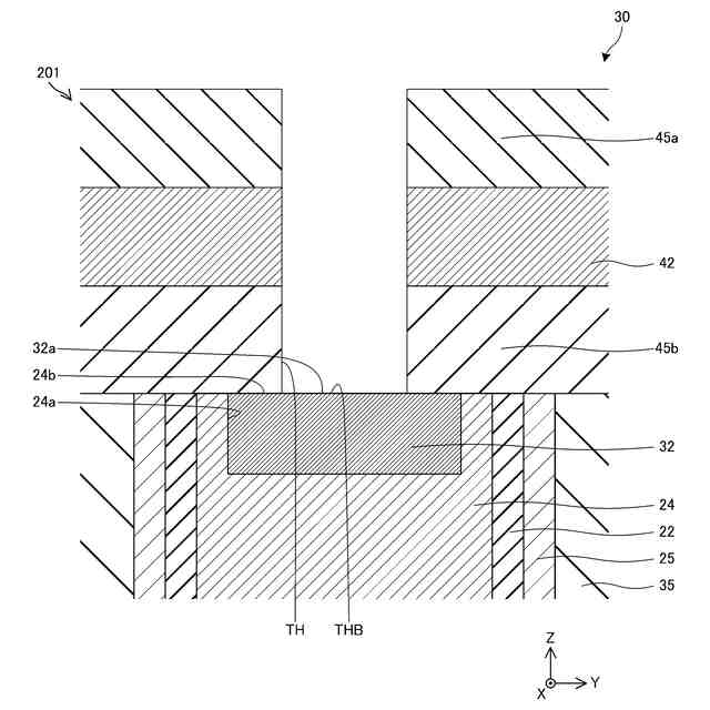
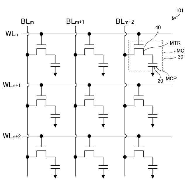
本実施形態に係るメモリセルアレイの回路構成例を説明するための回路図である。
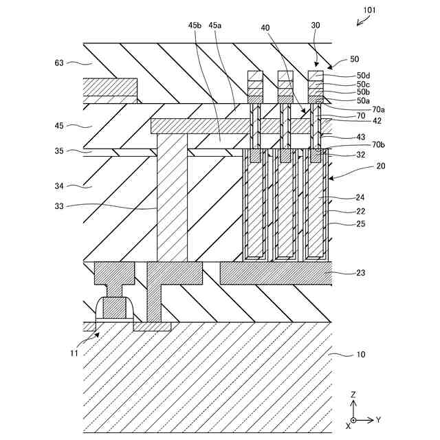
本実施形態に係る半導体記憶装置の構造例を説明するための断面模式図であり、ZX面に平行な断面図を示す。
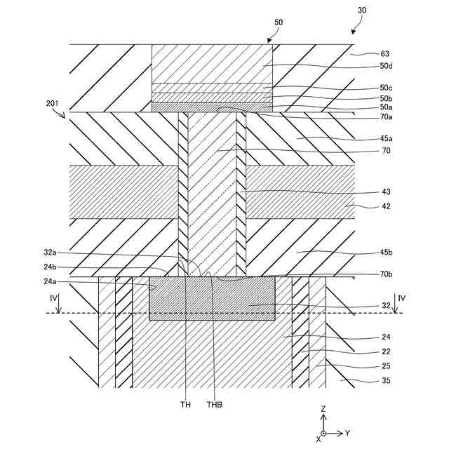
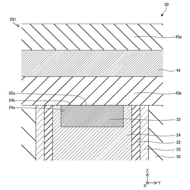
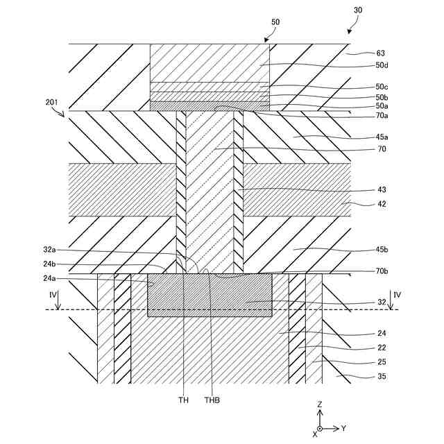
本実施形態に係る半導体装置の構造例を説明するための断面模式図であり、半導体装置のYZ面に平行な断面図を示す。
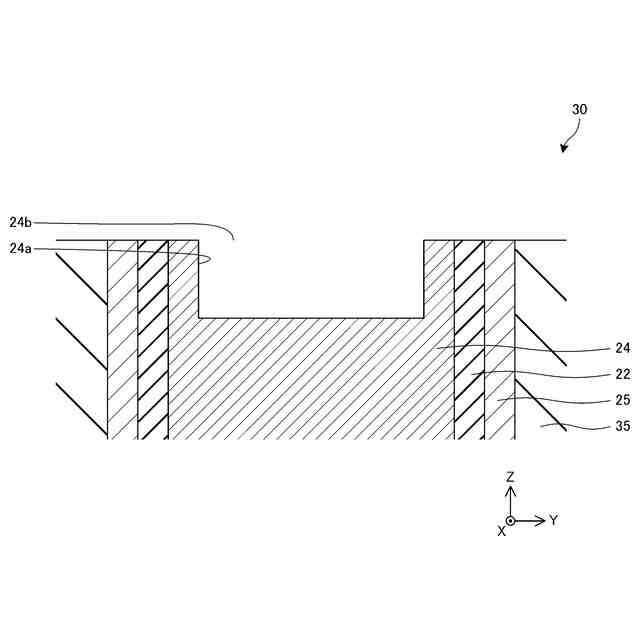
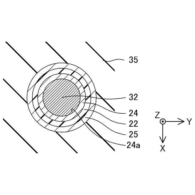
図3に示す切断線IV―IVにおける断面図である。
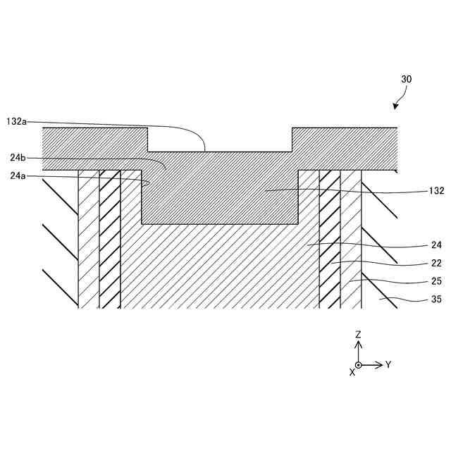
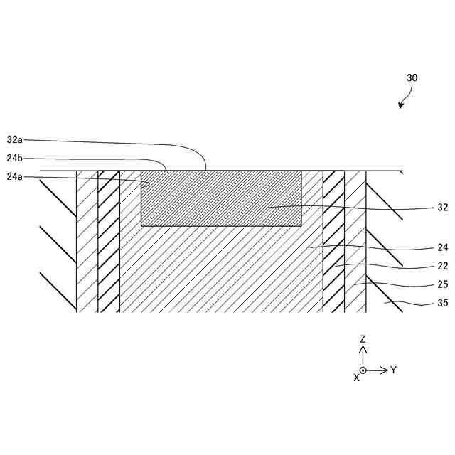
本実施形態の半導体装置の製造プロセスを示すYZ面に平行な断面図である。
本実施形態の半導体装置の製造プロセスを示すYZ面に平行な断面図である。
本実施形態の半導体装置の製造プロセスを示すYZ面に平行な断面図である。
本実施形態の半導体装置の製造プロセスを示すYZ面に平行な断面図である。
本実施形態の半導体装置の製造プロセスを示すYZ面に平行な断面図である。
本実施形態の半導体装置の製造プロセスを示すYZ面に平行な断面図である。
本実施形態の半導体装置の製造プロセスを示すYZ面に平行な断面図である。
本実施形態の半導体装置の製造プロセスを示すYZ面に平行な断面図である。
本実施形態の半導体装置の製造プロセスを示すYZ面に平行な断面図である。
本実施形態の半導体装置の製造プロセスを示すYZ面に平行な断面図である。
本実施形態の半導体装置の製造プロセスを示すYZ面に平行な断面図である。
本実施形態の半導体装置の製造プロセスを示すYZ面に平行な断面図である。
本実施形態に係る半導体装置の構造例を説明するための断面模式図であり、半導体装置のYZ面に平行な断面図を示す。
IGZOとITOとが接しないときのIGZOにおける各イオンの分布の一例を示す図である。
IGZOとITOとが接したときのIGZOにおける分極を説明するための図である。
ITOにおけるインジウム及び酸素の分布の一例を示す図である。
本実施形態の下部電極における窒素、インジウム及び酸素の分布の一例を示す図である。
本実施形態の下部電極における窒素の濃度分布の一例を示す図である。
本実施形態の下部電極における窒素の濃度分布の一例を示す図である。
本実施形態の変形例1の半導体装置の製造プロセスを示すYZ面に平行な断面図である。
本実施形態の変形例1の半導体装置の製造プロセスを示すYZ面に平行な断面図である。
本実施形態の変形例1の半導体装置の製造プロセスを示すYZ面に平行な断面図である。
図26に示す切断線XXVII―XXVIIにおける断面図である。
本実施形態の変形例1の半導体装置の製造プロセスを示すYZ面に平行な断面図である。
本実施形態の変形例1の半導体装置の製造プロセスを示すYZ面に平行な断面図である。
本実施形態の変形例1の半導体装置の製造プロセスを示すYZ面に平行な断面図である。
本実施形態の変形例2の半導体装置の製造プロセスを示すYZ面に平行な断面図である。
本実施形態の変形例2の半導体装置の製造プロセスを示すYZ面に平行な断面図である。
本実施形態の変形例2の半導体装置の製造プロセスを示すYZ面に平行な断面図である。
本実施形態の変形例2の半導体装置の製造プロセスを示すYZ面に平行な断面図である。
【発明を実施するための形態】
【0010】
以下、添付図面を参照しながら本実施形態について説明する。説明の理解を容易にするため、各図面において同一の構成要素に対しては可能な限り同一の符号を付して、重複する説明は省略する。
(【0011】以降は省略されています)
この特許をJ-PlatPat(特許庁公式サイト)で参照する
関連特許
キオクシア株式会社
メモリシステム
24日前
個人
半導体装置
19日前
エイブリック株式会社
半導体装置
25日前
東レ株式会社
太陽電池モジュール
19日前
富士電機株式会社
半導体装置
28日前
エイブリック株式会社
縦型ホール素子
13日前
エイブリック株式会社
縦型ホール素子
13日前
ローム株式会社
抵抗チップ
4日前
富士通株式会社
半導体装置
18日前
ローム株式会社
半導体装置
20日前
三菱電機株式会社
半導体装置
18日前
株式会社半導体エネルギー研究所
表示装置
13日前
AGC株式会社
太陽電池モジュール
1か月前
富士電機株式会社
半導体装置
10日前
日亜化学工業株式会社
発光素子
26日前
TDK株式会社
圧電素子
18日前
日亜化学工業株式会社
発光素子
18日前
ミツミ電機株式会社
半導体装置
25日前
日亜化学工業株式会社
発光装置
17日前
ローム株式会社
TVSダイオード
26日前
ローム株式会社
TVSダイオード
26日前
ローム株式会社
窒化物半導体装置
4日前
ローム株式会社
半導体装置
26日前
株式会社東芝
熱電変換装置
26日前
富士電機株式会社
半導体装置の製造方法
12日前
ローム株式会社
半導体装置
3日前
デクセリアルズ株式会社
受光装置
24日前
サンケン電気株式会社
半導体装置
24日前
ローム株式会社
半導体装置
5日前
ローム株式会社
窒化物半導体装置
13日前
TDK株式会社
光検知装置
25日前
内山工業株式会社
太陽電池
24日前
沖電気工業株式会社
発光装置及び表示装置
19日前
株式会社カネカ
太陽電池モジュール
26日前
株式会社カネカ
太陽電池モジュール
17日前
キオクシア株式会社
記憶装置
24日前
続きを見る
他の特許を見る