TOP
|
特許
|
意匠
|
商標
特許ウォッチ
Twitter
他の特許を見る
公開番号
2025145077
公報種別
公開特許公報(A)
公開日
2025-10-03
出願番号
2024045069
出願日
2024-03-21
発明の名称
ワイヤボンディング装置及び制御方法
出願人
株式会社東芝
,
キオクシア株式会社
代理人
弁理士法人iX
主分類
H01L
21/607 20060101AFI20250926BHJP(基本的電気素子)
要約
【課題】ワイヤの接合不良の発生を抑制する。
【解決手段】一実施形態によると、ワイヤボンディング装置の制御部は、径検出部により検出されるボール形状部分の径と、第1ボンディング点において荷重センサが荷重を検出したときに位置検出部により検出されるボンディングツールの第1位置と、第1ボンディング点においてボンディングツールが下降したときのボンディングツールの第2位置と、に基づいて、バンプの高さを算出し、この算出したバンプの高さに基づいて、ワイヤを接合させる。
【選択図】図6
特許請求の範囲
【請求項1】
第1ボンディング点、及び第2ボンディング点にそれぞれワイヤを押し当てた状態で超音波振動を発生させることで、前記ワイヤを前記第1ボンディング点、及び前記第2ボンディング点に接合させるワイヤボンディング装置であって、
ボンディングツールと、
超音波振動を発生させる超音波ホーンと、
前記ボンディングツールから前記第1ボンディング点又は前記第2ボンディング点にかかる荷重を検出する荷重センサと、
前記ボンディングツールの鉛直方向の位置を検出する位置検出部と、
前記第1ボンディング点において、前記ボンディングツールの先端に形成されるボール形状部分の径を検出する径検出部と、
前記径検出部により検出される前記ボール形状部分の径と、前記第1ボンディング点において前記荷重センサが荷重を検出したときに前記位置検出部により検出される前記ボンディングツールの第1位置と、前記第1ボンディング点において前記ボンディングツールが最も下降したときの前記ボンディングツールの第2位置と、に基づいて、バンプの高さを算出し、この算出した前記バンプの高さに基づいて、前記ワイヤを接合させる制御部と、
を備えるワイヤボンディング装置。
続きを表示(約 620 文字)
【請求項2】
前記制御部は、前記算出された前記バンプの高さに応じて、前記ワイヤの接合を停止する、
請求項1に記載のワイヤボンディング装置。
【請求項3】
前記制御部は、前記算出された前記バンプの高さに応じて、前記ワイヤの接合時に前記ボンディングツールに付加する荷重及び超音波出力の少なくともいずれかを変更する、
請求項1に記載のワイヤボンディング装置。
【請求項4】
第1ボンディング点、及び第2ボンディング点にそれぞれワイヤを押し当てた状態で超音波振動を発生させることで、前記ワイヤを前記第1ボンディング点、及び前記第2ボンディング点に接合させるワイヤボンディング装置の制御方法であって、
前記第1ボンディング点において、ボンディングツールの先端に形成されるボール形状部分の径を検出し、
前記第1ボンディング点において、前記ボンディングツールから前記第1ボンディング点にかかる荷重を検出したときに、前記ボンディングツールの鉛直方向における第1位置を取得し、
前記第1ボンディング点において、前記ボンディングツールが最も下降したときの前記ボンディングツールの第2位置を取得し、
前記ボール形状部分の前記径と、前記第1位置と、前記第2位置と、に基づいて、バンプの高さを算出し、この算出した前記バンプの高さに基づいて、前記ワイヤを接合させる、制御方法。
発明の詳細な説明
【技術分野】
【0001】
本発明の実施形態は、ワイヤボンディング装置及び制御方法に関する。
続きを表示(約 1,800 文字)
【背景技術】
【0002】
平面度データに基づいて電子部品のボンディング座標ごとのバンプ高さを算出し、このバンプ高さにしたがって電子部品にワイヤボンディングによりバンプを形成し、バンプ形成後の電子部品の各バンプを基板の対応する電極にボンディングする技術が知られている。
【先行技術文献】
【特許文献】
【0003】
特許第3775924号公報
【発明の概要】
【発明が解決しようとする課題】
【0004】
ワイヤボンディング装置においては、ワイヤの接合不良の発生を抑制することが望まれている。
【0005】
本発明の実施形態は、ワイヤの接合不良の発生を抑制することができるワイヤボンディング装置及び制御方法を提供する。
【課題を解決するための手段】
【0006】
実施形態によれば、ワイヤボンディング装置は、第1ボンディング点、及び第2ボンディング点にそれぞれワイヤを押し当てた状態で超音波振動を発生させることで、前記ワイヤを前記第1ボンディング点、及び前記第2ボンディング点に接合させる。前記ワイヤボンディング装置は、ボンディングツールと、超音波ホーンと、荷重センサと、位置検出部と、径検出部と、制御部と、を備える。前記超音波ホーンは、超音波振動を発生させる。前記荷重センサは、前記ボンディングツールから前記第1ボンディング点又は前記第2ボンディング点にかかる荷重を検出する。前記位置検出部は、前記ボンディングツールの鉛直方向の位置を検出する。前記径検出部は、前記第1ボンディング点において、前記ボンディングツールの先端に形成されるボール形状部分の径を検出する。前記制御部は、バンプの高さを算出し、この算出した前記バンプの高さに基づいて前記ワイヤを接合させる。前記バンプの高さは、前記径検出部により検出される前記ボール形状部分の径と、前記第1ボンディング点において前記荷重センサが荷重を検出したときに前記位置検出部により検出される前記ボンディングツールの第1位置と、前記第1ボンディング点において前記ボンディングツールが最も下降したときの前記ボンディングツールの第2位置と、に基づいて算出される。
【図面の簡単な説明】
【0007】
第1実施形態に係るワイヤボンディング装置の一例を模式的に示す概略図。
第1実施形態に係るワイヤボンディング装置の一部を模式的に示す概略図。
ワイヤが接合されていく流れを説明するための図。
ワイヤ接合工程の一例を示す図。
先頭のバンプを形成する工程の一例を説明するための図。
バンプの高さを算出する処理の一例を示すフローチャート。
2番目のバンプのバンプ高さの算出方法の一例を説明するための図。
第2実施形態に係るワイヤボンディング装置のバンプ高さに基づいて、第2接合工程の条件を変更する処理の一例を示すフローチャート及びワイヤボンディング装置のバンプ形成プロセスとの対応関係の一例を示す図。
【発明を実施するための形態】
【0008】
以下に、本発明の実施形態について図面を参照しつつ説明する。
図面は模式的または概念的なものであり、各部分の厚さと幅との関係、部分間の大きさの比率などは、必ずしも現実のものと同一とは限らない。同じ部分を表す場合であっても、図面により互いの寸法や比率が異なって表される場合もある。
本願明細書と各図において、既出の図に関して前述したものと同様の要素には同一の符号を付して詳細な説明は適宜省略する。
【0009】
(第1実施形態)
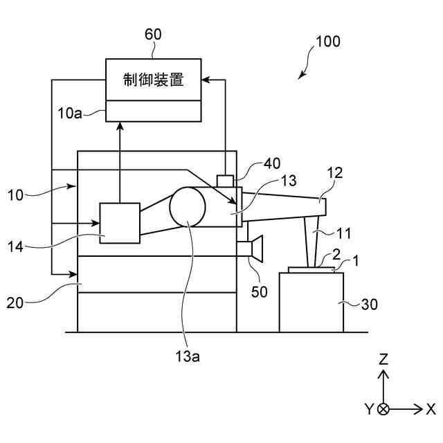
図1は、実施形態に係るワイヤボンディング装置を模式的に示す概略図である。
図2は、実施形態に係るワイヤボンディング装置の一部を模式的に示す概略図である。
図1及び図2に示すように、実施形態に係るワイヤボンディング装置100は、ボンディングヘッド10と、位置検出部10aと、XYステージ20と、ボンディングステージ30と、荷重センサ40と、カメラ装置50と、制御部60と、を備えている。
【0010】
ボンディングヘッド10は、ボンディングツール11と、超音波ホーン12と、ボンディングアーム13と、駆動部14と、を有している。
(【0011】以降は省略されています)
この特許をJ-PlatPat(特許庁公式サイト)で参照する
関連特許
株式会社東芝
モータ
2日前
株式会社東芝
センサ
1か月前
株式会社東芝
センサ
7日前
株式会社東芝
センサ
7日前
株式会社東芝
センサ
1か月前
株式会社東芝
固定子
1か月前
株式会社東芝
回路素子
1か月前
株式会社東芝
電子装置
1日前
株式会社東芝
遮断装置
3か月前
株式会社東芝
ドア構造
1か月前
株式会社東芝
金型構造
7日前
株式会社東芝
配線治具
2か月前
株式会社東芝
吸音装置
2日前
株式会社東芝
燃料電池
2か月前
株式会社東芝
X線厚み計
2か月前
株式会社東芝
粒子加速器
1日前
株式会社東芝
半導体装置
4日前
株式会社東芝
電磁流量計
2か月前
株式会社東芝
半導体装置
4日前
株式会社東芝
半導体装置
4日前
株式会社東芝
半導体装置
4日前
株式会社東芝
電動送風機
1か月前
株式会社東芝
半導体装置
4日前
株式会社東芝
半導体装置
4日前
株式会社東芝
半導体装置
14日前
株式会社東芝
半導体装置
16日前
株式会社東芝
半導体装置
4日前
株式会社東芝
半導体装置
2か月前
株式会社東芝
主幹制御器
2か月前
株式会社東芝
ラック装置
1か月前
株式会社東芝
差動伝送回路
1か月前
株式会社東芝
電子デバイス
2日前
株式会社東芝
電力変換装置
1か月前
株式会社東芝
アンテナ装置
3か月前
株式会社東芝
アイソレータ
1か月前
株式会社東芝
海水用構造体
14日前
続きを見る
他の特許を見る