TOP
|
特許
|
意匠
|
商標
特許ウォッチ
Twitter
他の特許を見る
10個以上の画像は省略されています。
公開番号
2025146539
公報種別
公開特許公報(A)
公開日
2025-10-03
出願番号
2024047373
出願日
2024-03-22
発明の名称
半導体記憶装置の製造方法及び半導体記憶装置
出願人
キオクシア株式会社
代理人
個人
,
個人
,
個人
主分類
H10B
12/00 20230101AFI20250926BHJP()
要約
【課題】高い集積度を実現する半導体記憶装置及びその製造方法を提供する。
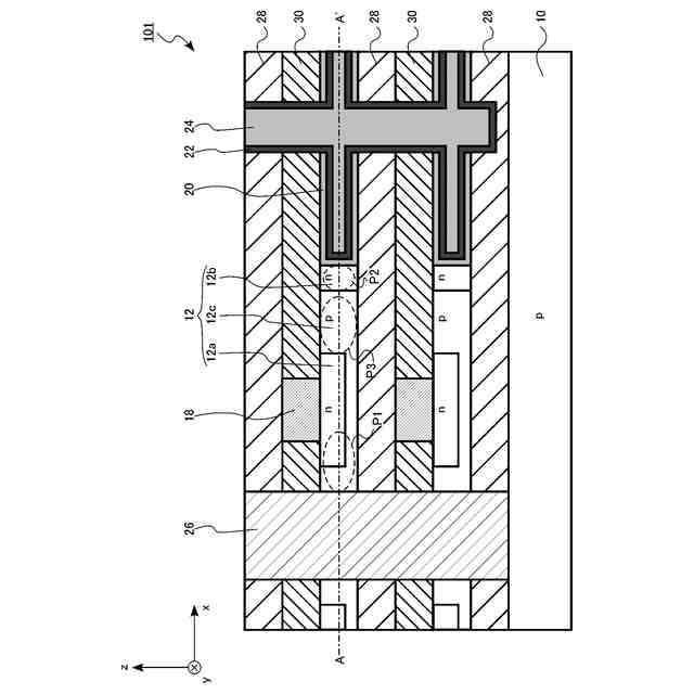
【解決手段】半導体記憶装置であるDRAMメモリセルアレイ101は、単結晶シリコン基板10、第1のn型不純物領域12a、第2のn型不純物領域12b及びp型不純物領域12cを含む単結晶シリコン層12、単結晶シリコン層の第1の部分P1と第2の部分P2との間の第3の部分P3に対向するゲート電極層14、ゲート絶縁膜16、結晶シリコン層の第1の部分に接する配線層18、ストレージノード電極20、キャパシタ絶縁膜22、プレート電極24、コンタクト電極26、第1の層間絶縁層28及び第2の層間絶縁層30を含む。単結晶シリコン層、ゲート電極層及びゲート絶縁膜がトランジスタを構成する。また、単結晶シリコン層の第2の部分P2に接するストレージノード電極、キャパシタ絶縁膜及びプレート電極がキャパシタを構成する。
【選択図】図2
特許請求の範囲
【請求項1】
単結晶シリコン基板の第1の方向に、第1の材料の第1の膜を形成し、
前記第1の膜の前記第1の方向に、前記第1の材料と異なる第2の材料の第2の膜を形成し、
前記第2の膜の前記第1の方向に、前記第2の材料と異なる第3の材料の第3の膜を形成し、
前記第3の膜、前記第2の膜、及び前記第1の膜を貫通し、前記単結晶シリコン基板に達する第1の開口部を形成し、
前記第1の開口部の中に前記単結晶シリコン基板と接する第1の単結晶シリコン層を形成し、
前記第3の膜及び前記第2の膜を貫通する第2の開口部を形成し、
前記第2の開口部の側面から前記第2の膜をエッチングし、前記第1の単結晶シリコン層に達する第1のリセス部を形成し、
前記第1のリセス部に前記第1の単結晶シリコン層と接する第2の単結晶シリコン層を形成し、
前記第2の単結晶シリコン層の第1の部分に接する配線層を形成し、
前記第2の単結晶シリコン層の第2の部分に接するキャパシタを形成し、
前記第1の部分と前記第2の部分との間の前記第2の単結晶シリコン層の第3の部分に対向するゲート電極層を形成する、半導体記憶装置の製造方法。
続きを表示(約 1,000 文字)
【請求項2】
前記第1の単結晶シリコン層は、固相エピタキシャル成長法を用いて形成する、請求項1記載の半導体記憶装置の製造方法。
【請求項3】
前記第1の単結晶シリコン層は、気相エピタキシャル成長法を用いて形成する、請求項1記載の半導体記憶装置の製造方法。
【請求項4】
前記第1の単結晶シリコン層は、Vapor-Liquid-Solid法(VLS法)を用いて形成する、請求項1記載の半導体記憶装置の製造方法。
【請求項5】
前記第2の単結晶シリコン層は、気相エピタキシャル成長法を用いて形成する、請求項1記載の半導体記憶装置の製造方法。
【請求項6】
前記第2の単結晶シリコン層は、Vapor-Liquid-Solid法(VLS法)を用いて形成する、請求項1記載の半導体記憶装置の製造方法。
【請求項7】
前記第2の単結晶シリコン層を形成する際に、前記第2の単結晶シリコン層の形成中に前記第2の単結晶シリコン層の中の不純物濃度又は不純物導電型を変化させる、請求項1記載の半導体記憶装置の製造方法。
【請求項8】
前記第2の単結晶シリコン層を形成する際に、前記第1の単結晶シリコン層に近い側から順に第1のn型不純物領域、p型不純物領域、及び第2のn型不純物領域を形成し、
前記ゲート電極層は前記p型不純物領域と対向する、請求項1記載の半導体記憶装置の製造方法。
【請求項9】
前記第2の材料は、非晶質シリコン又は多結晶質シリコンであり、
前記第1の開口部を形成した後、前記第1の単結晶シリコン層を形成する前に、前記第1の開口部の側面に露出した前記第2の膜の表面に酸化膜を形成し、
前記第1のリセス部を形成する際に、前記第2の膜をエッチングした後、前記酸化膜を除去する、請求項1記載の半導体記憶装置の製造方法。
【請求項10】
前記第2の膜と前記第3の膜との間に、前記第2の材料及び前記第3の材料と異なる第4の材料の第4の膜を形成し、
前記第2の単結晶シリコン層を形成した後に、前記第1の開口部の中の前記第1の単結晶シリコン層を除去し、
前記第1の単結晶シリコン層を除去した後に、前記第1の開口部の側面から前記第4の膜をエッチングして第2のリセス部を形成し、
前記配線層は、前記第2のリセス部に形成される、請求項1記載の半導体記憶装置の製造方法。
(【請求項11】以降は省略されています)
発明の詳細な説明
【技術分野】
【0001】
本発明の実施形態は、半導体記憶装置の製造方法及び半導体記憶装置に関する。
続きを表示(約 3,800 文字)
【背景技術】
【0002】
Dynamic Random Access Memory(DRAM)の高い集積度を実現するために、メモリセルを3次元的に配置することが考えられる。
【先行技術文献】
【特許文献】
【0003】
米国特許出願公開第2022/0102394号明細書
米国特許出願公開第2022/0005810号明細書
【発明の概要】
【発明が解決しようとする課題】
【0004】
本発明の一実施形態では、半導体記憶装置の高い集積度を実現することを課題とする。
【課題を解決するための手段】
【0005】
実施形態の半導体記憶装置の製造方法は、単結晶シリコン基板の第1の方向に、第1の材料の第1の膜を形成し、前記第1の膜の前記第1の方向に、前記第1の材料と異なる第2の材料の第2の膜を形成し、前記第2の膜の前記第1の方向に、前記第2の材料と異なる第3の材料の第3の膜を形成し、前記第3の膜、前記第2の膜、及び前記第1の膜を貫通し、前記単結晶シリコン基板に達する第1の開口部を形成し、前記第1の開口部の中に前記単結晶シリコン基板と接する第1の単結晶シリコン層を形成し、前記第3の膜及び前記第2の膜を貫通する第2の開口部を形成し、前記第2の開口部の側面から前記第2の膜をエッチングし、前記第1の単結晶シリコン層に達する第1のリセス部を形成し、前記第1のリセス部に前記第1の単結晶シリコン層と接する第2の単結晶シリコン層を形成し、前記第2の単結晶シリコン層の第1の部分に接する配線層を形成し、前記第2の単結晶シリコン層の第2の部分に接するキャパシタを形成し、前記第1の部分と前記第2の部分との間の前記第2の単結晶シリコン層の第3の部分に対向するゲート電極層を形成する。
【図面の簡単な説明】
【0006】
第1の実施形態の半導体記憶装置のメモリセルアレイの等価回路図。
第1の実施形態の半導体記憶装置の模式断面図。
第1の実施形態の半導体記憶装置の模式断面図。
第1の実施形態の半導体記憶装置の製造方法を示す模式断面図。
第1の実施形態の半導体記憶装置の製造方法を示す模式断面図。
第1の実施形態の半導体記憶装置の製造方法を示す模式断面図。
第1の実施形態の半導体記憶装置の製造方法を示す模式断面図。
第1の実施形態の半導体記憶装置の製造方法を示す模式断面図。
第1の実施形態の半導体記憶装置の製造方法を示す模式断面図。
第1の実施形態の半導体記憶装置の製造方法を示す模式断面図。
第1の実施形態の半導体記憶装置の製造方法を示す模式断面図。
第1の実施形態の半導体記憶装置の製造方法を示す模式断面図。
第1の実施形態の半導体記憶装置の製造方法を示す模式断面図。
第1の実施形態の半導体記憶装置の製造方法を示す模式断面図。
第1の実施形態の半導体記憶装置の製造方法を示す模式断面図。
第1の実施形態の半導体記憶装置の製造方法を示す模式断面図。
第1の実施形態の半導体記憶装置の製造方法を示す模式断面図。
第1の実施形態の半導体記憶装置の製造方法を示す模式断面図。
第1の実施形態の半導体記憶装置の製造方法を示す模式断面図。
第1の実施形態の半導体記憶装置の製造方法を示す模式断面図。
第1の実施形態の半導体記憶装置の製造方法を示す模式断面図。
第1の実施形態の半導体記憶装置の製造方法を示す模式断面図。
第1の実施形態の半導体記憶装置の製造方法を示す模式断面図。
第1の実施形態の変形例の半導体記憶装置の製造方法を示す模式断面図。
第1の実施形態の変形例の半導体記憶装置の製造方法を示す模式断面図。
第1の実施形態の変形例の半導体記憶装置の製造方法を示す模式断面図。
第1の実施形態の変形例の半導体記憶装置の製造方法を示す模式断面図。
第1の実施形態の変形例の半導体記憶装置の製造方法を示す模式断面図。
第1の実施形態の変形例の半導体記憶装置の製造方法を示す模式断面図。
第2の実施形態の半導体記憶装置のメモリセルアレイの等価回路図。
第2の実施形態の半導体記憶装置の模式断面図。
第2の実施形態の半導体記憶装置の模式断面図。
第2の実施形態の半導体記憶装置の製造方法を示す模式断面図。
第2の実施形態の半導体記憶装置の製造方法を示す模式断面図。
第2の実施形態の半導体記憶装置の製造方法を示す模式断面図。
第2の実施形態の半導体記憶装置の製造方法を示す模式断面図。
第2の実施形態の半導体記憶装置の製造方法を示す模式断面図。
第2の実施形態の半導体記憶装置の製造方法を示す模式断面図。
第2の実施形態の半導体記憶装置の製造方法を示す模式断面図。
第2の実施形態の半導体記憶装置の製造方法を示す模式断面図。
第2の実施形態の半導体記憶装置の製造方法を示す模式断面図。
第2の実施形態の半導体記憶装置の製造方法を示す模式断面図。
第2の実施形態の半導体記憶装置の製造方法を示す模式断面図。
第2の実施形態の半導体記憶装置の製造方法を示す模式断面図。
第2の実施形態の半導体記憶装置の製造方法を示す模式断面図。
第2の実施形態の半導体記憶装置の製造方法を示す模式断面図。
第2の実施形態の半導体記憶装置の製造方法を示す模式断面図。
第2の実施形態の半導体記憶装置の製造方法を示す模式断面図。
第2の実施形態の半導体記憶装置の製造方法を示す模式断面図。
第2の実施形態の半導体記憶装置の製造方法を示す模式断面図。
第3の実施形態の半導体記憶装置の製造方法を示す模式断面図。
第3の実施形態の半導体記憶装置の製造方法を示す模式断面図。
第3の実施形態の半導体記憶装置の製造方法を示す模式断面図。
第3の実施形態の半導体記憶装置の製造方法を示す模式断面図。
第3の実施形態の半導体記憶装置の製造方法を示す模式断面図。
第3の実施形態の半導体記憶装置の製造方法を示す模式断面図。
【発明を実施するための形態】
【0007】
以下、図面を参照しつつ実施形態を説明する。なお、以下の説明では、同一又は類似の部材などには同一の符号を付し、一度説明した部材などについては適宜その説明を省略する。
【0008】
また、本明細書中、便宜上「上」、又は、「下」という用語を用いる場合がある。「上」、又は、「下」とはあくまで図面内での相対的位置関係を示す用語であり、重力に対する位置関係を規定する用語ではない。
【0009】
本明細書中の半導体記憶装置を構成する部材の化学組成の定性分析及び定量分析は、例えば、二次イオン質量分析法(Secondary Ion Mass Spectroscopy:SIMS)、エネルギー分散型X線分光法(Energy Dispersive X-ray Spectroscopy:EDX)や電子エネルギー損失分光法(Electron Energy Loss Spectroscopy:EELS)などにより行うことが可能である。また、半導体記憶装置を構成する部材の厚さ、部材間の距離等の測定には、例えば、透過型電子顕微鏡(Transmission Electron Microscope:TEM)を用いることが可能である。また、半導体記憶装置を構成する部材の結晶性の評価、結晶欠陥密度の評価には、TEMを用いることが可能である。
【0010】
(第1の実施形態)
第1の実施形態の半導体記憶装置の製造方法は、単結晶シリコン基板の第1の方向に、第1の材料の第1の膜を形成し、第1の膜の第1の方向に、第1の材料と異なる第2の材料の第2の膜を形成し、第2の膜の第1の方向に、第2の材料と異なる第3の材料の第3の膜を形成し、第3の膜、第2の膜、及び第1の膜を貫通し、単結晶シリコン基板に達する第1の開口部を形成し、第1の開口部の中に単結晶シリコン基板と接する第1の単結晶シリコン層を形成し、第3の膜及び第2の膜を貫通する第2の開口部を形成し、第2の開口部の側面から第2の膜をエッチングし、第1の単結晶シリコン層に達する第1のリセス部を形成し、第1のリセス部に第1の単結晶シリコン層と接する第2の単結晶シリコン層を形成し、第2の単結晶シリコン層の第1の部分に接する配線層を形成し、第2の単結晶シリコン層の第2の部分に接するキャパシタを形成し、第1の部分と第2の部分との間の第2の単結晶シリコン層の第3の部分に対向するゲート電極層を形成する。
(【0011】以降は省略されています)
この特許をJ-PlatPat(特許庁公式サイト)で参照する
関連特許
キオクシア株式会社
記憶装置
8日前
キオクシア株式会社
記憶装置
4日前
キオクシア株式会社
記憶装置
2日前
キオクシア株式会社
記憶装置
今日
キオクシア株式会社
記憶装置
2日前
キオクシア株式会社
半導体装置
1日前
キオクシア株式会社
半導体装置
今日
キオクシア株式会社
半導体装置
1日前
キオクシア株式会社
半導体装置
2日前
キオクシア株式会社
半導体装置
8日前
キオクシア株式会社
基板ユニット
4日前
キオクシア株式会社
磁気記憶装置
2日前
キオクシア株式会社
通信システム
2日前
キオクシア株式会社
磁気記憶装置
4日前
キオクシア株式会社
磁気記憶装置
2日前
キオクシア株式会社
磁気記憶装置
4日前
キオクシア株式会社
情報処理装置
16日前
キオクシア株式会社
磁気記憶装置
1日前
キオクシア株式会社
半導体記憶装置
2日前
キオクシア株式会社
半導体記憶装置
2日前
キオクシア株式会社
半導体記憶装置
1日前
キオクシア株式会社
半導体記憶装置
2日前
キオクシア株式会社
メモリシステム
24日前
キオクシア株式会社
半導体記憶装置
4日前
キオクシア株式会社
半導体記憶装置
4日前
キオクシア株式会社
半導体記憶装置
4日前
キオクシア株式会社
半導体記憶装置
1日前
キオクシア株式会社
半導体記憶装置
4日前
キオクシア株式会社
メモリデバイス
7日前
キオクシア株式会社
半導体記憶装置
14日前
キオクシア株式会社
半導体記憶装置
14日前
キオクシア株式会社
メモリシステム
14日前
キオクシア株式会社
半導体記憶装置
15日前
キオクシア株式会社
メモリデバイス
16日前
キオクシア株式会社
半導体記憶装置
16日前
キオクシア株式会社
半導体記憶装置
24日前
続きを見る
他の特許を見る