TOP
|
特許
|
意匠
|
商標
特許ウォッチ
Twitter
他の特許を見る
10個以上の画像は省略されています。
公開番号
2025145270
公報種別
公開特許公報(A)
公開日
2025-10-03
出願番号
2024045360
出願日
2024-03-21
発明の名称
犠牲層付きテンプレート、犠牲層付きテンプレートの製造方法、犠牲層付きテンプレートの再製造方法および半導体装置の製造方法
出願人
キオクシア株式会社
代理人
個人
,
個人
,
個人
主分類
H01L
21/027 20060101AFI20250926BHJP(基本的電気素子)
要約
【課題】テンプレートのパターンの欠陥を抑制することが可能な犠牲層付きテンプレート、犠牲層付きテンプレートの製造方法、犠牲層付きテンプレートの再製造方法および半導体装置の製造方法を提供する。
【解決手段】実施形態の犠牲層付きテンプレートの製造方法は、基板上に犠牲層を形成し、犠牲層における基板と接する面とは反対側の面上に第1パターンを形成することを含む。そして、犠牲層における第1パターン面上に複製材料層を形成して、複製材料層における犠牲層と接する面とは反対側の面と、テンプレート基板とを密着膜を介して接することを含む。複製材料層を硬化して、第1パターンに対応する第2パターンを有する複製部を形成した後に、基板と犠牲層とを剥離することを含む。
【選択図】図4
特許請求の範囲
【請求項1】
基板上に犠牲層を形成し、
前記犠牲層の、前記基板と接する面とは反対側の面上に第1パターンを形成し、
前記犠牲層の前記第1パターン面上に複製材料層を形成し、
前記複製材料層の前記犠牲層と接する面とは反対側の面と、テンプレート基板とを密着膜を介して接着し、
前記複製材料層を硬化して、前記第1パターンに対応する第2パターンを有する複製部を形成し、
前記基板と前記犠牲層とを剥離する、
犠牲層付きテンプレートの製造方法。
続きを表示(約 1,100 文字)
【請求項2】
前記犠牲層を前記犠牲層付きテンプレートから除去してテンプレートを形成し、
前記テンプレートはインプリント処理に用いられる、
請求項1に記載の犠牲層付きテンプレートの製造方法。
【請求項3】
前記犠牲層を除去する方法は、ウェットエッチング又はドライエッチングを用いる、
請求項1に記載の犠牲層付きテンプレートの製造方法。
【請求項4】
前記犠牲層の材料は、紫外光又は熱に反応して硬化する樹脂である、
請求項3に記載の犠牲層付きテンプレートの製造方法。
【請求項5】
テンプレート基板と、
前記テンプレート基板上に設けられた密着膜と、
前記密着膜上に設けられ、第1パターンを有する複製部と、
前記複製部上に設けられ、前記複製部の前記第1パターンに対応する第2パターンを有する犠牲層と、
を備える、犠牲層付きテンプレート。
【請求項6】
前記犠牲層を前記犠牲層付きテンプレートから除去することで、インプリント処理に利用するテンプレートを形成可能な、
請求項5に記載の犠牲層付きテンプレート。
【請求項7】
前記犠牲層が除去される方法は、ウェットエッチング又はドライエッチングを用いる、
請求項5に記載の犠牲層付きテンプレート。
【請求項8】
前記犠牲層の材料は、紫外光又は熱に反応して硬化する樹脂である、
請求項7に記載の犠牲層付きテンプレート。
【請求項9】
前記犠牲層上に設けられた基板と、をさらに備え、
インプリント処理で用いられる前に、前記基板を前記犠牲層から剥離する、
請求項5に記載の犠牲層付きテンプレート。
【請求項10】
テンプレート基板と、前記テンプレート基板上に設けられた密着膜と、前記密着膜上に設けられ、破損が生じた第1パターンを有する複製部とを有するテンプレートを用意し、
前記テンプレート基板を残して、前記破損が生じた第1パターンを有する複製部を除去し、
基板上に犠牲層を形成し、
前記犠牲層の、前記基板と接する面と反対側の面上に第2パターンを形成し、
前記犠牲層の前記第2パターン上に複製材料層を形成し、
前記複製材料層の前記犠牲層と接する面と反対側の面と前記テンプレート基板とを接着し、
前記複製材料層を硬化して、前記第2パターンに対応する第3パターンを有する複製部を形成し、
前記基板と前記犠牲層とを剥離する、
犠牲層付きテンプレートの再製造方法。
(【請求項11】以降は省略されています)
発明の詳細な説明
【技術分野】
【0001】
本実施形態は、犠牲層付きテンプレート、犠牲層付きテンプレートの製造方法、犠牲層付きテンプレートの再製造方法および半導体装置の製造方法に関する。
続きを表示(約 1,800 文字)
【背景技術】
【0002】
インプリント処理で用いられるテンプレートは、凹凸を含むパターンを有する。テンプレートをインプリント処理で用いる前に、所望のパターンを有する面は、その下地であるテンプレート基板から剥離されるが、その際パターンの欠陥が生じることがある。
【先行技術文献】
【特許文献】
【0003】
特開2019-149488号公報
特開2021-150461号公報
特開2014-120584号公報
【発明の概要】
【発明が解決しようとする課題】
【0004】
実施形態の発明が解決しようとする課題は、テンプレートのパターンの欠陥を抑制することが可能な犠牲層付きテンプレート、犠牲層付きテンプレートの製造方法、犠牲層付きテンプレートの再製造方法および半導体装置の製造方法を提供することである。
【課題を解決するための手段】
【0005】
実施形態の犠牲層付きテンプレートの製造方法は、基板上に犠牲層を形成し、犠牲層における基板と接する面とは反対側の面上に第1パターンを形成することを含む。そして、犠牲層における第1パターン面上に複製材料層を形成して、複製材料層における犠牲層と接する面とは反対側の面と、テンプレート基板とを密着膜を介して接することを含む。複製材料層を硬化して、第1パターンに対応する第2パターンを有する複製部を形成した後に、基板と犠牲層とを剥離することを含む。
【図面の簡単な説明】
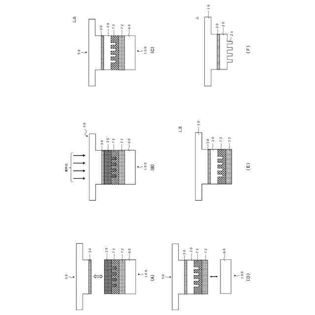
【0006】
第1実施形態におけるテンプレートの構成の一例を模式的に示す上面図および断面図。
第1実施形態におけるテンプレートの第1テンプレート部の製造方法の手順の一例を模式的に示す断面図。
第1実施形態におけるテンプレートの第2テンプレート部の製造方法の手順の一例を模式的に示す断面図。
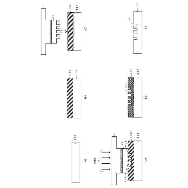
第1実施形態におけるテンプレートの製造方法の手順の一例を模式的に示す断面図。
第2実施形態におけるテンプレートの第3テンプレート部の製造方法の手順の一例を模式的に示す断面図。
第2実施形態におけるテンプレートの製造方法の手順の一例を模式的に示す断面図。
第3実施形態におけるテンプレートの構成の一例を模式的に示す上面図および断面図。
第4実施形態におけるテンプレートの移動の一例を示した図。
第5実施形態における半導体装置の製造方法の手順の一例を模式的に示す断面図。
第5実施形態におけるテンプレートの再製造方法の手順の一例を模式的に示す断面図。
第5実施形態におけるテンプレートの再製造方法の手順の一例を示したフロー図。
【発明を実施するための形態】
【0007】
以下、図面を参照して本発明に係る実施形態を説明する。本実施形態は、本発明を限定するものではない。図面は模式的または概念的なものであり、各部分の比率などは、必ずしも現実のものと同一とは限らない。明細書と図面において、既出の図面に関して前述したものと同様の要素には同一の符号を付して、詳細な説明は適宜省略する。
【0008】
(第1実施形態)
図1は、第1実施形態におけるテンプレート1の構成の一例を模式的に示す図である。図1(A)はテンプレート1の上面図であり、図1(B)は図1(A)におけるA-A断面図である。また、図1(C)はテンプレート1上に後述する犠牲層70が形成されている一例を模式的に示すA-A断面図であり、図1(D)はテンプレート1上に後述する犠牲層70と第2基板60とが形成されている一例を模式的に示すA-A断面図である。
【0009】
テンプレート1は、テンプレート基板10と、複製部20と、密着膜30と、を備える。
【0010】
テンプレート基板10は、矩形状の基部11と、基部11における基部第1面12の中央付近に設けられるメサ部13と、を有する。メサ部13は複数個設けられていてもよいし、メサ部13は設けられていなくてもよい。メサ部13が設けられない場合には、基部第1面12に接するように後述する密着膜30が設けられる。テンプレート基板10は、紫外光を透過可能な材料が用いられてもよく、例えば石英ガラスを含んでいてもよい。
(【0011】以降は省略されています)
この特許をJ-PlatPat(特許庁公式サイト)で参照する
関連特許
キオクシア株式会社
記憶装置
3日前
キオクシア株式会社
記憶装置
9日前
キオクシア株式会社
記憶装置
5日前
キオクシア株式会社
記憶装置
1日前
キオクシア株式会社
記憶装置
3日前
キオクシア株式会社
半導体装置
3日前
キオクシア株式会社
半導体装置
9日前
キオクシア株式会社
半導体装置
2日前
キオクシア株式会社
半導体装置
1日前
キオクシア株式会社
半導体装置
2日前
キオクシア株式会社
基板ユニット
5日前
キオクシア株式会社
通信システム
3日前
キオクシア株式会社
磁気記憶装置
3日前
キオクシア株式会社
磁気記憶装置
5日前
キオクシア株式会社
磁気記憶装置
5日前
キオクシア株式会社
磁気記憶装置
2日前
キオクシア株式会社
磁気記憶装置
3日前
キオクシア株式会社
メモリデバイス
3日前
キオクシア株式会社
半導体記憶装置
3日前
キオクシア株式会社
半導体記憶装置
2日前
キオクシア株式会社
メモリシステム
2日前
キオクシア株式会社
半導体記憶装置
16日前
キオクシア株式会社
半導体記憶装置
3日前
キオクシア株式会社
半導体記憶装置
5日前
キオクシア株式会社
半導体記憶装置
5日前
キオクシア株式会社
半導体記憶装置
5日前
キオクシア株式会社
半導体記憶装置
5日前
キオクシア株式会社
メモリデバイス
8日前
キオクシア株式会社
半導体記憶装置
15日前
キオクシア株式会社
半導体記憶装置
15日前
キオクシア株式会社
メモリシステム
15日前
キオクシア株式会社
半導体記憶装置
2日前
キオクシア株式会社
半導体記憶装置
3日前
キオクシア株式会社
メモリシステム
1日前
キオクシア株式会社
半導体記憶装置
1日前
キオクシア株式会社
メモリデバイス
1日前
続きを見る
他の特許を見る