TOP
|
特許
|
意匠
|
商標
特許ウォッチ
Twitter
他の特許を見る
10個以上の画像は省略されています。
公開番号
2025141693
公報種別
公開特許公報(A)
公開日
2025-09-29
出願番号
2024041746
出願日
2024-03-15
発明の名称
半導体装置および半導体記憶装置
出願人
キオクシア株式会社
代理人
弁理士法人高橋・林アンドパートナーズ
主分類
H10B
43/40 20230101AFI20250919BHJP()
要約
【課題】隣接するトランジスタ間のリーク電流を抑制しつつ良好なジャンクション耐圧を有する半導体装置を提供すること。
【解決手段】半導体装置は、第1領域、第2領域、および前記第1領域と前記第2領域との間で前記第1領域と前記第2領域とに隣接する第3領域とを有する第1基板と、前記第1領域に設けられた第1トランジスタと、前記第2領域に設けられた第2トランジスタと、前記第3領域において、前記第1基板に設けられた第1トレンチと、前記第1トランジスタの上方、前記第2トランジスタの上方、及び前記第1トレンチの上方に設けられ、前記第1領域から前記第2領域まで連続している第1導電層と、前記第1トレンチと隣接する前記第1基板に設けられ、炭素が含まれる第1不純物領域と、を備える。
【選択図】図8
特許請求の範囲
【請求項1】
第1領域、第2領域、および前記第1領域と前記第2領域との間で前記第1領域と前記第2領域とに隣接する第3領域とを有する第1基板と、
前記第1領域に設けられた第1トランジスタと、
前記第2領域に設けられた第2トランジスタと、
前記第3領域において、前記第1基板に設けられた第1トレンチと、
前記第1トランジスタの上方、前記第2トランジスタの上方、及び前記第1トレンチの上方に設けられ、前記第1領域から前記第2領域まで連続している第1導電層と、
前記第1トレンチと隣接する前記第1基板に設けられ、炭素が含まれる第1不純物領域と、を備える半導体装置。
続きを表示(約 1,700 文字)
【請求項2】
前記第1不純物領域にはボロンが含まれる、請求項1に記載の半導体装置。
【請求項3】
前記第1基板は、前記第1トランジスタ及び前記第2トランジスタが設けられた第1面と、前記第1面の反対側の第2面とを備え、
前記第1トレンチから前記第2面に向かう方向における炭素及びボロンの濃度プロファイルにおいて、炭素及びボロンの濃度が徐々に減少する部分が存在する、請求項2に記載の半導体装置。
【請求項4】
前記第1トレンチは、側壁部及び底部を含み、
炭素は前記側壁部に沿って存在し、
前記底部においてボロンが存在する領域の厚さは、前記側壁部においてボロンが存在する領域の厚さより大きい、請求項2に記載の半導体装置。
【請求項5】
前記第1トレンチは、側壁部及び底部を含み、
炭素は前記底部に沿って存在し、
前記側壁部においてボロンが存在する領域の厚さは、前記底部においてボロンが存在する領域の厚さより大きい、請求項2に記載の半導体装置。
【請求項6】
第4領域に設けられた第3トランジスタと、
第5領域に設けられた第4トランジスタと、
第6領域において、前記第1基板に設けられた第2トレンチと、
前記第3トランジスタの上方、前記第4トランジスタの上方、及び前記第2トレンチの上方に設けられ、前記第4領域から前記第5領域まで連続している第2導電層と、
前記第2トレンチと隣接する前記第1基板に設けられた第2不純物領域と、をさらに備え、
前記第1基板は、前記第4領域、前記第5領域、および前記第4領域と前記第5領域との間で前記第4領域と前記第5領域とに隣接する前記第6領域とを有し、
前記第2不純物領域に含まれる炭素の濃度は1E13/cm
3
以下である、請求項1に記載の半導体装置。
【請求項7】
第1領域、第2領域、および前記第1領域と前記第2領域との間で前記第1領域と前記第2領域とに隣接する第3領域とを有する第1基板と、
前記第1領域に設けられた第1トランジスタと、
前記第2領域に設けられた第2トランジスタと、
前記第3領域において、前記第1基板に設けられた第1トレンチと、
前記第1トランジスタの上方、前記第2トランジスタの上方、及び前記第1トレンチの上方に設けられ、前記第1領域から前記第2領域まで連続している第1導電層と、
前記第1トレンチと隣接する前記第1基板に設けられ、炭素が含まれる第1不純物領域と、
メモリセルアレイと、
前記第1基板に設けられ、前記メモリセルアレイを駆動する第1周辺回路と、を備え、
前記第1トランジスタ及び前記第2トランジスタは、前記第1周辺回路に含まれ、
前記第1トランジスタは、前記メモリセルアレイに設けられた第1ワード線に接続され、
前記第2トランジスタは、前記メモリセルアレイに設けられ、前記第1ワード線に隣接する第2ワード線に接続された、半導体記憶装置。
【請求項8】
前記メモリセルアレイに接続された第2周辺回路が設けられた第2基板をさらに備え、
前記第2基板は、第4領域、第5領域、および前記第4領域と前記第5領域との間で前記第4領域と前記第5領域とに隣接する第6領域とを有し、
前記第2周辺回路は、
前記第4領域に設けられた第3トランジスタと、
前記第5領域に設けられた第4トランジスタと、
前記第6領域において、前記第2基板に設けられた第2トレンチと、
前記第3トランジスタの上方、前記第4トランジスタの上方、及び前記第2トレンチの上方に設けられ、前記第4領域から前記第5領域まで連続している第2導電層と、
前記第2トレンチと隣接する前記第2基板に設けられた第2不純物領域と、を備える、請求項7に記載の半導体記憶装置。
発明の詳細な説明
【技術分野】
【0001】
本開示の実施形態は半導体装置および半導体記憶装置に関する。
続きを表示(約 2,200 文字)
【背景技術】
【0002】
半導体基板上に複数のトランジスタが設けられた半導体装置が知られている。例えば、メモリシステム等では、デバイスの小型化に伴い、メモリシステムに用いられる半導体装置の配置面積の縮小化及び高密度化が求められている。しかし、半導体装置の製造プロセスにおける制限により、当該縮小化及び高密度化には限界がある。特に隣接するトランジスタの間隔が短くなると、トランジスタ間のリーク電流が大きくなる場合がある。そのリーク電流の対策として、トランジスタ間の半導体基板にトランジスタの閾値をシフトさせる不純物を導入する技術が用いられている(特許文献1)。
【先行技術文献】
【特許文献】
【0003】
米国特許出願公開第2003/0129802号明細書
【発明の概要】
【発明が解決しようとする課題】
【0004】
一実施形態は、隣接するトランジスタ間のリーク電流を抑制しつつ良好なジャンクション耐圧を有する半導体装置を提供することを目的とする。
【課題を解決するための手段】
【0005】
一実施形態に係る半導体装置は、第1領域、第2領域、および前記第1領域と前記第2領域との間で前記第1領域と前記第2領域とに隣接する第3領域とを有する第1基板と、前記第1領域に設けられた第1トランジスタと、前記第2領域に設けられた第2トランジスタと、前記第3領域において、前記第1基板に設けられた第1トレンチと、前記第1トランジスタの上方、前記第2トランジスタの上方、及び前記第1トレンチの上方に設けられ、前記第1領域から前記第2領域まで連続している第1導電層と、前記第1トレンチと隣接する前記第1基板に設けられ、炭素が含まれる第1不純物領域と、を備える。
【図面の簡単な説明】
【0006】
一実施形態に係る半導体装置の構成を説明するためのブロック図である。
一実施形態に係る半導体装置のメモリセルアレイの構成を示す等価回路を説明するための図である。
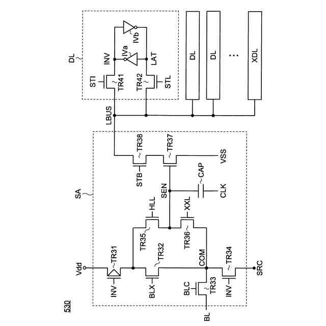
一実施形態に係る半導体装置のセンスアンプモジュールの回路構成を説明するための図である。
一実施形態に係る半導体装置のロウデコーダの回路構成を説明するための図である。
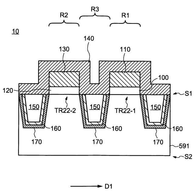
一実施形態に係る半導体装置の概要を示す断面図である。
一実施形態に係る半導体装置の平面図及び断面図である。
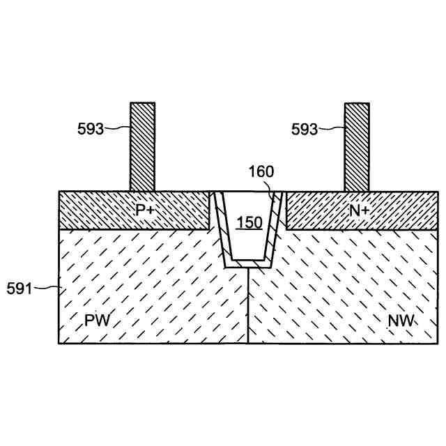
一実施形態に係る半導体装置のPN接合領域を示す断面図である。
一実施形態に係る半導体装置の断面図である。
一実施形態に係る半導体装置の不純物領域に注入された不純物の濃度プロファイルである。
一実施形態に係る半導体装置の不純物領域に注入された不純物の濃度プロファイルである。
一実施形態の変形例に係る半導体装置の断面図である。
一実施形態の変形例に係る半導体装置の断面図である。
一実施形態及びその変形例に係る半導体装置の製造方法を説明する断面図である。
一実施形態及びその変形例に係る半導体装置の製造方法を説明する断面図である。
一実施形態及びその変形例に係る半導体装置の製造方法を説明する断面図である。
一実施形態及びその変形例に係る半導体装置の製造方法を説明する断面図である。
一実施形態及びその変形例に係る半導体装置の製造方法を説明する断面図である。
一実施形態及びその変形例に係る半導体装置の製造方法を説明する断面図である。
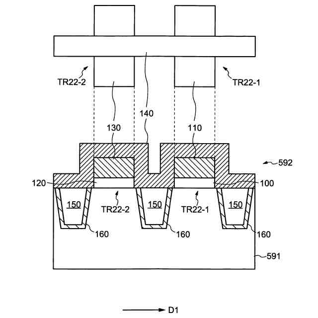
一実施形態に係る半導体装置の断面図である。
一実施形態に係る半導体装置の断面図である。
【発明を実施するための形態】
【0007】
以下、本実施形態にかかる半導体装置を図面を参照して具体的に説明する。以下の説明において、略同一の機能及び構成を有する要素について、同一符号が付されており、必要な場合にのみ重複して説明する。以下に示す各実施形態は、この実施形態の技術的思想を具体化するための装置や方法を例示する。実施形態の技術的思想は、構成部品の材質、形状、構造、配置等を下記のものに限定しない。実施形態の技術的思想は、特許請求の範囲に対して、種々の変更を加えたものであってもよい。
【0008】
[1.第1実施形態]
図1~図10を用いて、第1実施形態に係る半導体装置について説明する。
【0009】
[1-1.半導体装置の全体構成]
図1は、実施形態にかかる半導体装置10のブロック図である。図1に示すように、半導体装置10は、入出力回路310、ロジック制御回路320、ステータスレジスタ330、アドレスレジスタ340、コマンドレジスタ350、シーケンサ360、レディ/ビジー回路370、電圧発生回路380、メモリセルアレイ510、ロウデコーダ520、センスアンプモジュール530、データレジスタ540、及びカラムデコーダ550を備える。
【0010】
入出力回路310は、半導体装置10を制御するメモリコントローラ等の外部装置(図示せず)に対する信号DQの入出力を制御する。信号DQは、例えばDQ0~DQ7の8ビットの信号である。入出力回路310は、入力回路及び出力回路(図示せず)を備える。
(【0011】以降は省略されています)
この特許をJ-PlatPat(特許庁公式サイト)で参照する
関連特許
キオクシア株式会社
記憶装置
8日前
キオクシア株式会社
半導体記憶装置
8日前
キオクシア株式会社
半導体記憶装置
8日前
キオクシア株式会社
半導体記憶装置
8日前
キオクシア株式会社
メモリデバイス
8日前
キオクシア株式会社
有機分子メモリ
8日前
キオクシア株式会社
半導体記憶装置
8日前
キオクシア株式会社
磁気メモリデバイス
8日前
キオクシア株式会社
送信装置及び半導体装置
8日前
キオクシア株式会社
半導体記憶装置の製造方法及び半導体記憶装置
8日前
キオクシア株式会社
半導体装置、半導体記憶装置及び半導体装置の製造方法
8日前
キオクシア株式会社
メモリシステム
8日前
キオクシア株式会社
半導体集積回路、メモリコントローラ及び半導体集積回路の制御方法
8日前
株式会社東芝
ワイヤボンディング装置、及び動作方法、及び制御方法
8日前
個人
半導体装置
3日前
エイブリック株式会社
半導体装置
9日前
東レ株式会社
太陽電池モジュール
3日前
富士電機株式会社
半導体装置
12日前
富士電機株式会社
半導体装置
1か月前
ローム株式会社
半導体装置
4日前
富士通株式会社
半導体装置
2日前
三菱電機株式会社
半導体装置
2日前
AGC株式会社
太陽電池モジュール
15日前
TDK株式会社
圧電素子
2日前
日亜化学工業株式会社
発光装置
1か月前
日亜化学工業株式会社
発光素子
2日前
キヤノン株式会社
有機発光素子
22日前
日亜化学工業株式会社
発光素子
10日前
株式会社半導体エネルギー研究所
半導体装置
1か月前
ミツミ電機株式会社
半導体装置
9日前
日亜化学工業株式会社
発光装置
1日前
TDK株式会社
光検知装置
9日前
住友電気工業株式会社
半導体装置
22日前
株式会社東芝
熱電変換装置
10日前
サンケン電気株式会社
半導体装置
8日前
住友電気工業株式会社
半導体装置
22日前
続きを見る
他の特許を見る