TOP
|
特許
|
意匠
|
商標
特許ウォッチ
Twitter
他の特許を見る
10個以上の画像は省略されています。
公開番号
2025140831
公報種別
公開特許公報(A)
公開日
2025-09-29
出願番号
2024040431
出願日
2024-03-14
発明の名称
インプリント方法および半導体装置の製造方法
出願人
キオクシア株式会社
代理人
弁理士法人酒井国際特許事務所
主分類
H01L
21/027 20060101AFI20250919BHJP(基本的電気素子)
要約
【課題】欠けショットにおける不良の発生を抑制すること。
【解決手段】実施形態のインプリント方法は、基板に設けられた複数のショット領域のうち、段差を含む第1のショット領域において、補正レシピを用いて第1のショット領域に複数のドロップレットを滴下することを含み、補正レシピは、第1のショット領域における段差の位置と基板の外縁部の位置とを特定し、位置を特定した段差と基板の外縁部との間を第1の領域として設定し、段差から第1の距離で基板の内側に入った第1の位置と段差との間を第2の領域として設定し、複数のドロップレットを所定の周期で滴下するように滴下位置が規定されたドロップレシピに対して、第1及び第2の領域に位置するドロップレットの滴下位置を、第1の位置より内側にシフトさせる補正を施すことにより生成される。
【選択図】図7
特許請求の範囲
【請求項1】
段差を外周部に有する基板に対するインプリント方法であって、
前記基板に設けられた複数のショット領域のうち、前記段差を含む第1のショット領域において、補正レシピを用いて前記第1のショット領域に複数のドロップレットを滴下することを含み、
前記補正レシピは、
前記第1のショット領域における前記段差の位置と前記基板の外縁部の位置とを特定し、
位置を特定した前記段差と前記基板の外縁部との間を第1の領域として設定し、
前記段差から第1の距離で前記基板の内側に入った第1の位置と前記段差との間を第2の領域として設定し、
前記複数のドロップレットを所定の周期で滴下するように滴下位置が規定されたドロップレシピに対して、前記第1及び第2の領域に位置するドロップレットの滴下位置を、前記第1の位置より内側にシフトさせる補正を施すことにより生成される、
インプリント方法。
続きを表示(約 1,700 文字)
【請求項2】
前記補正レシピは、
前記第1の位置から更に第2の距離で前記基板の内側に入った第2の位置と前記第1の位置との間を第3の領域として設定し、
前記第1及び第2の領域に位置する前記ドロップレットの前記滴下位置を、前記第3の領域内にシフトさせる補正を施すことにより生成される、
請求項1に記載のインプリント方法。
【請求項3】
前記第2の領域は、
前記第1の距離が、前記複数のドロップレットにテンプレートを押し当てた後の前記複数のドロップレットのそれぞれの半径超となるよう設定されるとともに、
前記第1及び第2の領域は、
前記第1及び第2の距離の合計が、前記段差と前記基板の外縁部との間の第3の距離以上となるよう設定される、
請求項2に記載のインプリント方法。
【請求項4】
前記ドロップレシピには、
前記複数のドロップレットを実質的に均一な密度で滴下するように滴下位置が規定されている、
請求項1に記載のインプリント方法。
【請求項5】
前記段差は、前記基板の外周部を周回しており、
前記第3の距離は、前記基板の外周位置に応じて変動している、
請求項3に記載のインプリント方法。
【請求項6】
前記基板は、前記段差を境に中央部分が突出した凸領域を有しており、
前記基板の上面から見て、前記凸領域は前記基板に対して偏心している、
請求項5に記載のインプリント方法。
【請求項7】
前記段差は、
前記基板の全面を覆うフォトレジスト層を形成し、
前記基板を回転させながら前記フォトレジスト層を所定幅で除去し、
前記フォトレジスト層が除去されて前記所定幅で露出した前記基板の外周部において、前記基板の表層をエッチング除去することにより形成される、
請求項1に記載のインプリント方法。
【請求項8】
前記フォトレジスト層は、
前記基板を回転させながら前記基板の外周部に露光光を照射して、前記基板の外周部の前記フォトレジスト層を所定幅で露光し現像することにより除去される、
請求項7に記載のインプリント方法。
【請求項9】
前記フォトレジスト層は、
前記フォトレジスト層を露光現像した後に、前記基板を回転させながら前記基板の外周部に前記フォトレジスト層の除去液を吐出して、前記基板の外周部の前記フォトレジスト層を所定幅で溶解させることにより除去される、
請求項7に記載のインプリント方法。
【請求項10】
段差を外周部に有する基板に対するインプリント処理を含む半導体装置の製造方法であって、
前記基板に被加工層を形成し、
前記基板に設けられた複数のショット領域ごとにインプリント処理を行って、前記被加工層の上方にマスクパターンを形成し、
前記マスクパターンを用いて前記被加工層を加工する、ことを含み、
前記インプリント処理は、
前記複数のショット領域のうち、前記段差を含む第1のショット領域において、補正レシピを用いて前記第1のショット領域に複数のドロップレットを滴下することを含み、
前記補正レシピは、
前記第1のショット領域における前記段差の位置と前記基板の外縁部の位置とを特定し、
位置を特定した前記段差と前記基板の外縁部との間を第1の領域として設定し、
前記段差から第1の距離で前記基板の内側に入った第1の位置と前記段差との間を第2の領域として設定し、
前記複数のドロップレットを所定の周期で滴下するように滴下位置が規定されたドロップレシピに対して、前記第1及び第2の領域に位置するドロップレットの滴下位置を、前記第1の位置より内側にシフトさせる補正を施すことにより生成される、
半導体装置の製造方法。
発明の詳細な説明
【技術分野】
【0001】
本発明の実施形態は、インプリント方法および半導体装置の製造方法に関する。
続きを表示(約 1,800 文字)
【背景技術】
【0002】
半導体装置の製造工程に、インプリント処理が含まれる場合がある。インプリント処理では、テンプレートのパターンを基板のショット領域に滴下したレジスト材等に転写する。基板の外周部では、ショット領域の一部が欠けた欠けショットとなっていることがある。欠けが生じた部位および面積等は欠けショットごとに種々に異なる場合があり、欠けショットに対して、通常のショット領域と同様のレジスト材の分量および滴下位置を適用するとインプリント処理に不良が生じてしまう場合がある。
【先行技術文献】
【特許文献】
【0003】
特開2018-073989号公報
特開2018-195811号公報
特開2021-150457号公報
【発明の概要】
【発明が解決しようとする課題】
【0004】
1つの実施形態は、欠けショットにおける不良の発生を抑制することができるインプリント方法および半導体装置の製造方法を提供することを目的とする。
【課題を解決するための手段】
【0005】
実施形態のインプリント方法は、段差を外周部に有する基板に対するインプリント方法であって、前記基板に設けられた複数のショット領域のうち、前記段差を含む第1のショット領域において、補正レシピを用いて前記第1のショット領域に複数のドロップレットを滴下することを含み、前記補正レシピは、前記第1のショット領域における前記段差の位置と前記基板の外縁部の位置とを特定し、位置を特定した前記段差と前記基板の外縁部との間を第1の領域として設定し、前記段差から第1の距離で前記基板の内側に入った第1の位置と前記段差との間を第2の領域として設定し、前記複数のドロップレットを所定の周期で滴下するように滴下位置が規定されたドロップレシピに対して、前記第1及び第2の領域に位置するドロップレットの滴下位置を、前記第1の位置より内側にシフトさせる補正を施すことにより生成される。
【図面の簡単な説明】
【0006】
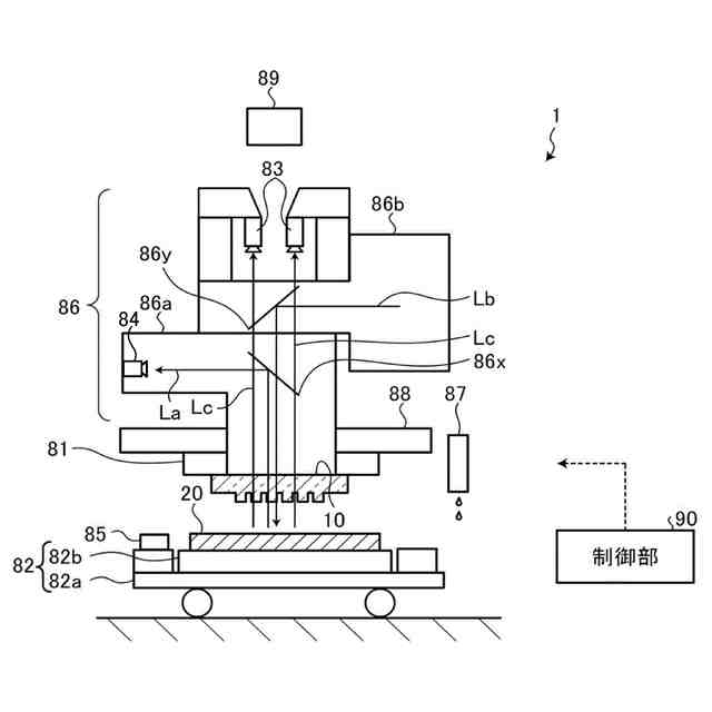
実施形態にかかるインプリント装置の構成の一例を示す模式図。
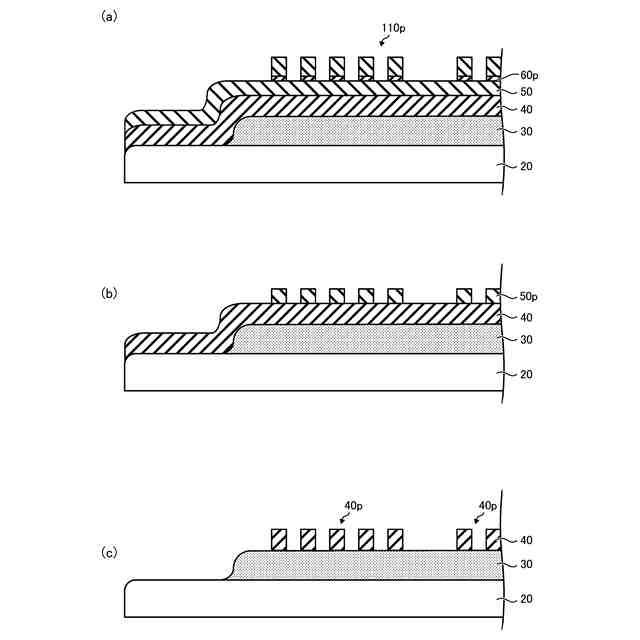
実施形態にかかるインプリント装置で処理されるウェハの構成の一例を示す模式図。
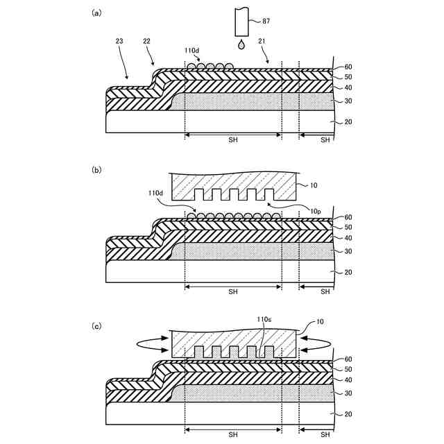
実施形態にかかるウェハのエッジビード除去処理の手順の一部を順に例示する断面図。
実施形態にかかるインプリント装置によるインプリント処理の手順の一部を順に例示する断面図。
実施形態にかかるインプリント装置によるインプリント処理の手順の一部を順に例示する断面図。
実施形態にかかる被加工層のエッチング処理の手順の一部を順に例示する断面図。
実施形態にかかるインプリント装置によるドロップレシピの補正手法を説明する模式図。
実施形態にかかるインプリント装置によるインプリント処理の手順の一例を示すフロー図。
比較例にかかるインプリント装置によるインプリント処理の手順を例示する断面図。
【発明を実施するための形態】
【0007】
以下に、本発明の実施形態につき図面を参照しつつ詳細に説明する。なお、下記の実施形態により、本発明が限定されるものではない。また、下記実施形態における構成要素には、当業者が容易に想定できるものあるいは実質的に同一のものが含まれる。
【0008】
(インプリント装置の構成例)
図1は、実施形態にかかるインプリント装置1の構成の一例を示す模式図である。
【0009】
図1に示すように、インプリント装置1は、テンプレートステージ81、ウェハステージ82、撮像素子83,84、基準マーク85、アライメント部86、液滴下装置87、ステージベース88、光源89、及び制御部90を備えている。
【0010】
インプリント装置1には、ウェハ20上のレジストにパターンを転写するテンプレート10が装着可能である。ウェハ20には、インプリント装置1での処理を含め、各種の処理が施され、半導体装置が製造されることとなる。このようなウェハ20は、半導体基板、絶縁性基板、または導電性基板等であり得る。
(【0011】以降は省略されています)
この特許をJ-PlatPat(特許庁公式サイト)で参照する
関連特許
キオクシア株式会社
記憶装置
7日前
キオクシア株式会社
記憶装置
1日前
キオクシア株式会社
記憶装置
3日前
キオクシア株式会社
記憶装置
1日前
キオクシア株式会社
半導体装置
今日
キオクシア株式会社
半導体装置
1日前
キオクシア株式会社
半導体装置
7日前
キオクシア株式会社
半導体装置
今日
キオクシア株式会社
通信システム
1日前
キオクシア株式会社
磁気記憶装置
3日前
キオクシア株式会社
磁気記憶装置
3日前
キオクシア株式会社
磁気記憶装置
今日
キオクシア株式会社
磁気記憶装置
1日前
キオクシア株式会社
磁気記憶装置
1日前
キオクシア株式会社
基板ユニット
3日前
キオクシア株式会社
半導体記憶装置
13日前
キオクシア株式会社
メモリデバイス
1日前
キオクシア株式会社
半導体記憶装置
1日前
キオクシア株式会社
メモリデバイス
6日前
キオクシア株式会社
半導体記憶装置
13日前
キオクシア株式会社
半導体記憶装置
1日前
キオクシア株式会社
メモリシステム
今日
キオクシア株式会社
半導体記憶装置
3日前
キオクシア株式会社
半導体記憶装置
3日前
キオクシア株式会社
メモリシステム
13日前
キオクシア株式会社
半導体記憶装置
今日
キオクシア株式会社
半導体記憶装置
今日
キオクシア株式会社
半導体記憶装置
3日前
キオクシア株式会社
半導体記憶装置
3日前
キオクシア株式会社
半導体記憶装置
1日前
キオクシア株式会社
ストレージドライブ
3日前
キオクシア株式会社
半導体基板試験装置
今日
キオクシア株式会社
半導体装置の製造方法
1日前
キオクシア株式会社
情報処理装置及びコネクタ
1日前
キオクシア株式会社
半導体記憶装置の製造方法
3日前
キオクシア株式会社
半導体装置及びメモリシステム
3日前
続きを見る
他の特許を見る